Скачать Р 50-54-59-88 Расчеты и испытания на прочность. Метод и программа расчета на ЭВМ устойчивости оболочек сложной формыДата актуализации: 01.01.2021
|
| Обозначение: | Р 50-54-59-88 |
| Обозначение англ: | R 50-54-59-88 |
| Статус: | действует |
| Название рус.: | Расчеты и испытания на прочность. Метод и программа расчета на ЭВМ устойчивости оболочек сложной формы |
| Дата добавления в базу: | 01.09.2013 |
| Дата актуализации: | 01.01.2021 |
| Дата введения: | 14.02.1988 |
| Область применения: | Рекомендации предназначены для численного исследования устойчивости и напряженно-деформированного состояния элементов оболочечных конструкций сложной формы, в том числе составных, с разрывными геометрическими параметрами, ребристых, с отверстиями и вырезами, ограниченными координатными линиями, взаимодействующих с упругой средой. Учитывается физическая и геометрическая нелинейности. |
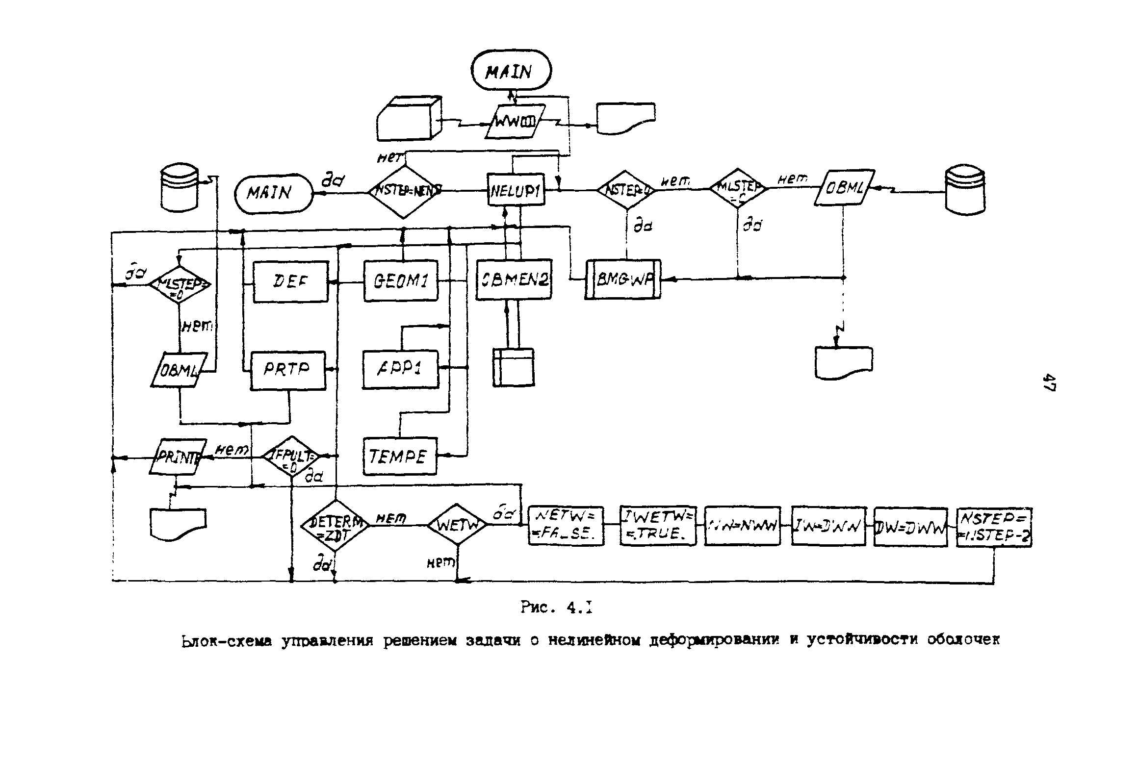
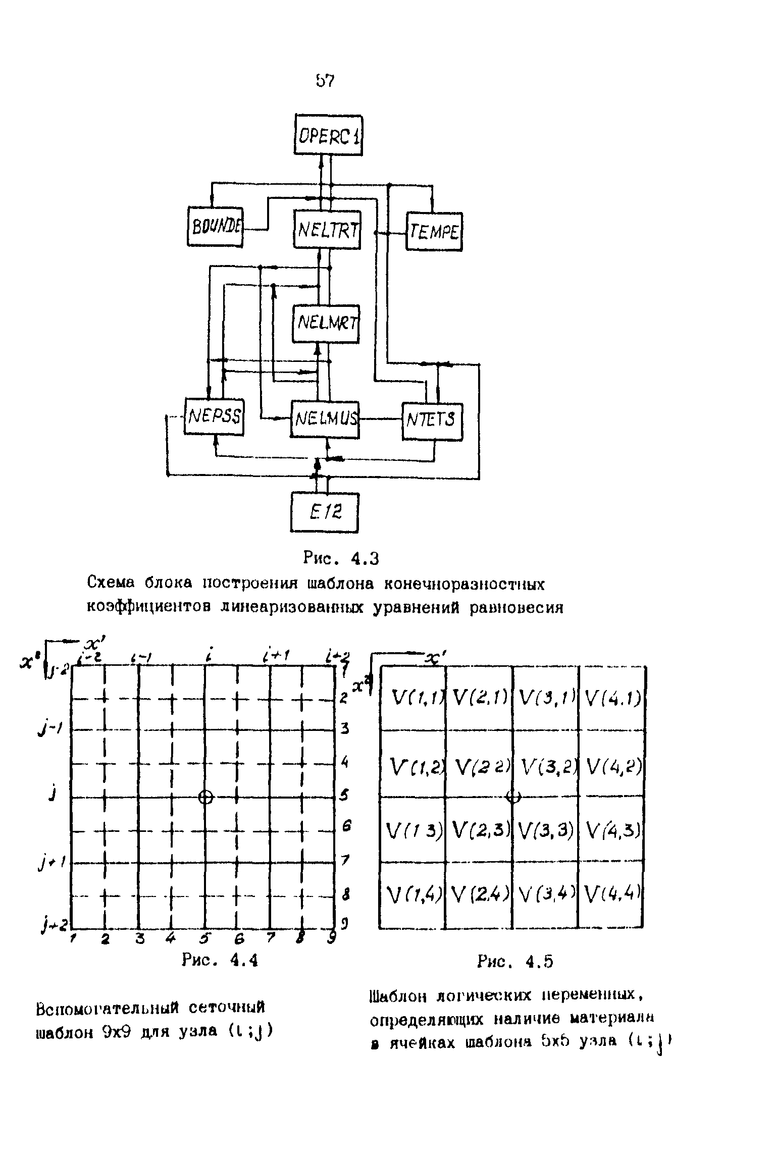
| Оглавление: | Введение 1. Принятые обозначения и сокращения 2. Постановка задачи 2.1. Геометрически нелинейные соотношения теории тонких оболочек 2.2. Учет дискретно расположенных ребер в соотношениях теории тонких оболочек 2.3. Учет влияния температуры 2.4. Учет влияния пластичности материала 3. Методы и алгоритмы решения 3.1. Метод криволинейных сеток 3.2. Дискретизация дифференциальных соотношений теории тонких оболочек 3.3. Граничные условия 3.4. Построение решения задач о нелинейном деформировании и устойчивости оболочек 4. Списание программы 4.1. Общие сведения, функциональное назначение и используемые технические средства 4.2. Основные характеристики 4.3. Списание логической структуры 4.3.1. Блок управления решением задачи 4.3.2. Блок решения системы линеаризованных уравнений равновесия 4.3.3. Блок построения разностного шаблона коэффициентов при неизвестных 4.3.4. Блок построения шаблонов геометрических параметров и жесткостных характеристик 4.3.5. Общие положения составления подпрограмм, определяющих внешние воздействия 4.3.6. Общие положения составления подпрограмм, заполняющих массивы температуры 4.4. Исходные данные 4.5. Получаемые результаты Приложение 1. Примеры решения тестовых задач Приложение 2. Примеры расчете составных оболочек Литература Информационные данные |
| Разработан: | ВНИИНМАШ |
| Утверждён: | 14.02.1988 ВНИИНМАШ (VNIINMASH 65) |













































































































































