Скачать Серия 2.130-1 Выпуск 29. Стены из крупных легкобетонных блоков. Рабочие чертежиДата актуализации: 01.01.2021
|
| Обозначение: | Серия 2.130-1 |
| Обозначение англ: | Series 2.130-1 |
| Статус: | справочные материалы, мп, тпр |
| Название рус.: | Выпуск 29. Стены из крупных легкобетонных блоков. Рабочие чертежи |
| Дата добавления в базу: | 01.09.2013 |
| Дата актуализации: | 01.01.2021 |
| Дата введения: | 01.02.1989 |
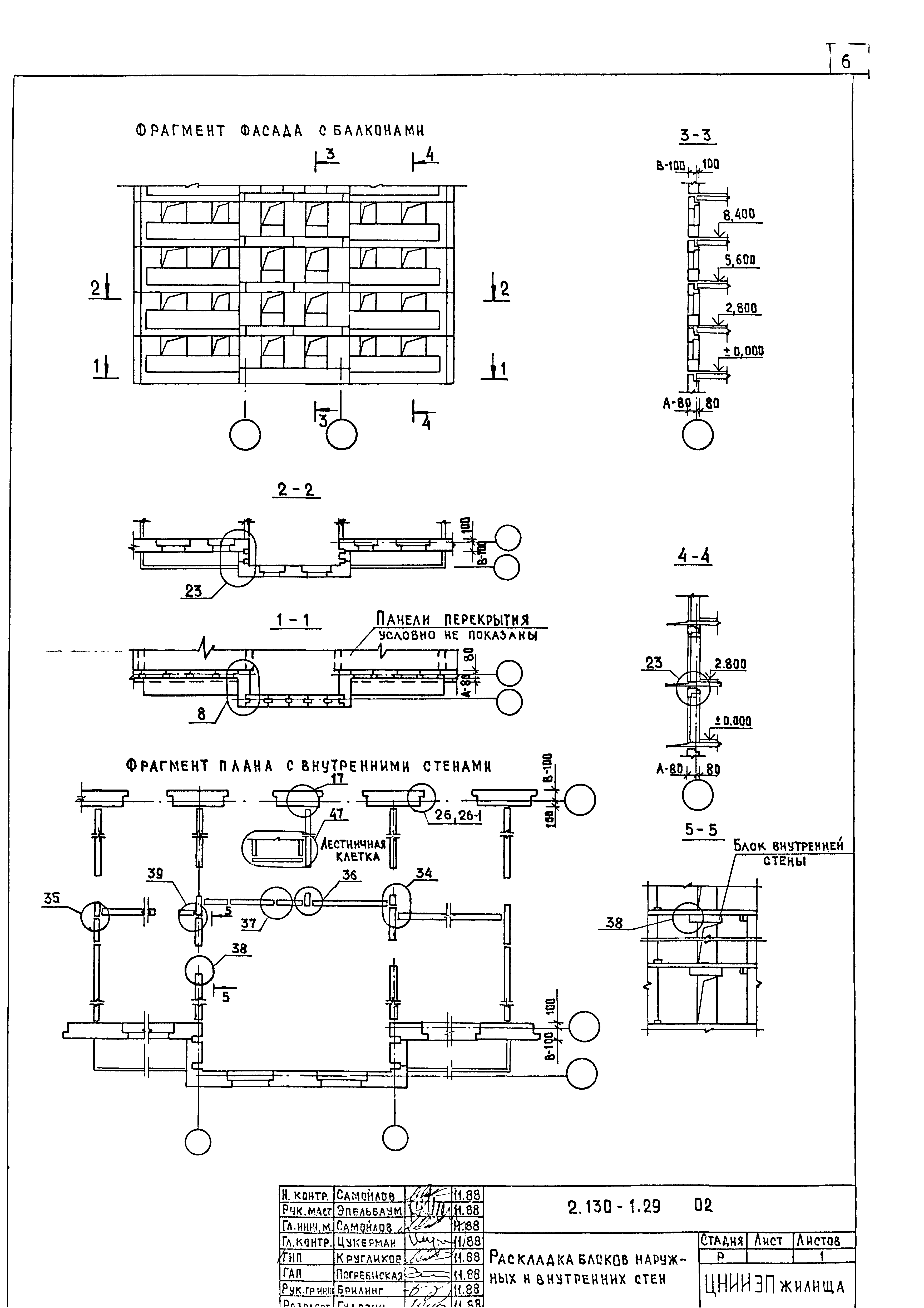
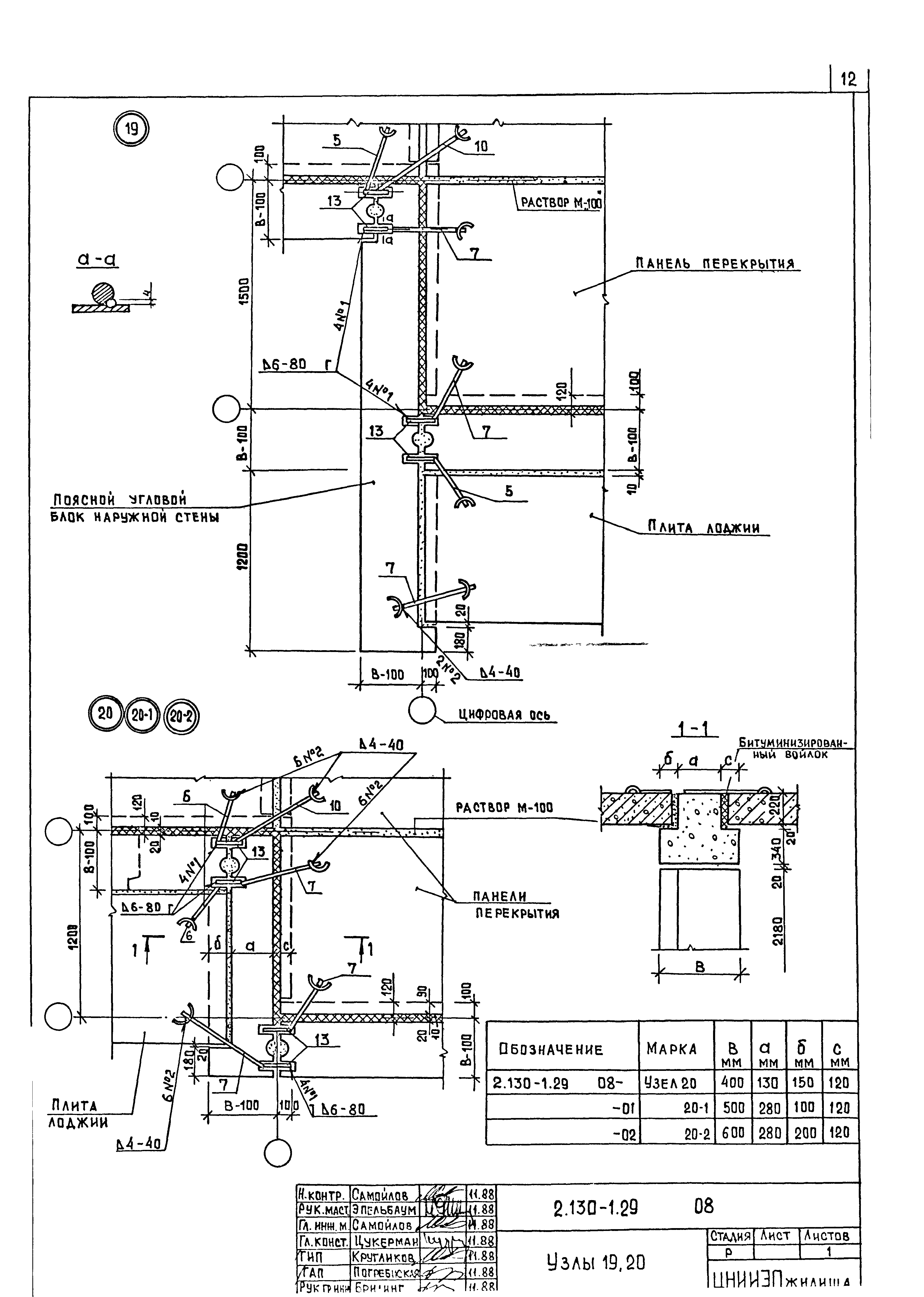
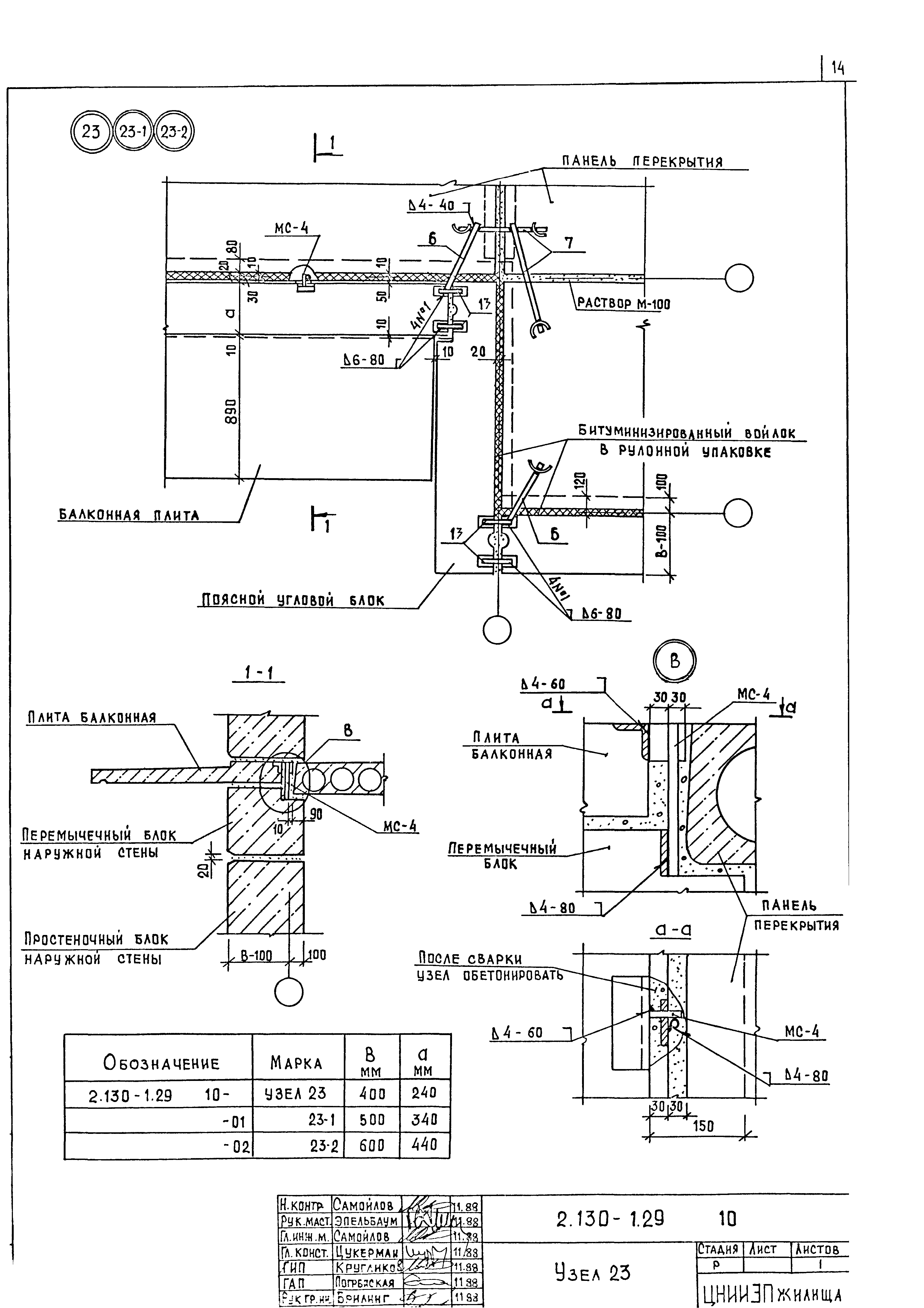
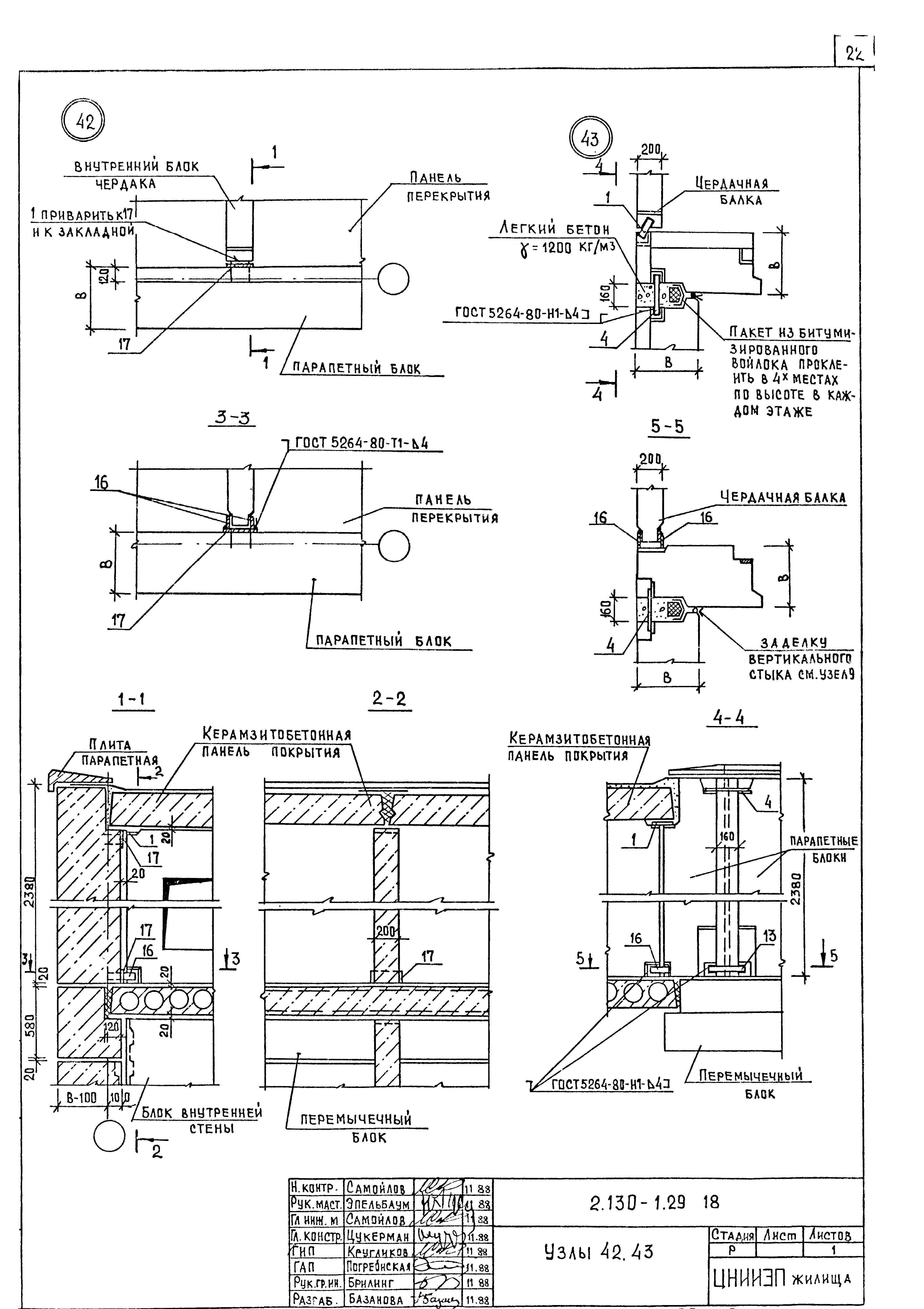
| Оглавление: | 2.130-1.29 00 ПЗ Пояснительная записка 2.130-1.29 01 Раскладка блоков наружных стен 2.130-1.29 02 Раскладка блоков наружных и внутренних стен 2.130-1.29 03 Узлы 1, 2, 3, 4 2.130-1.29 04 Узлы 5, 6, 7, 8 2.130-1.29 05 Узлы 9, 10, 11, 12 2.130-1.29 06 Узлы 13, 14, 15 2.130-1.29 07 Узлы 16, 17, 18 2.130-1.29 08 Узлы 19, 20 2.130-1.29 09 Узлы 21, 22 2.130-1.29 10 Узлы 23 2.130-1.29 11 Узлы 24, 25, 26, 24-1; 25-1 2.130-1.29 12 Узлы 27, 28, 29. Установка дверных блоков 2.130-1.29 13 Узлы 30, 31, 31-1, 32, 33. Установка дверных блоков 2.130-1.29 14 Узлы 34, 35 2.130-1.29 15 Узлы 36, 37, 47 2.130-1.29 16 Узлы 38, 39 2.130-1.29 17 Узлы 40, 41 2.130-1.29 18 Узлы 42, 43 2.130-1.29 19 Узлы 44, 45. Установка вентиляционных блоков /для теплых чердаков 2.130-1.29 20 Узел 46. Установка слива в горизонтальных швах торцевых стен 2.130-1.29 21 Металлические связи МС-1, МС-2 2.130-1.29 22 Металлические связи МС-3, МС-4 2.130-1.29 23 Спецификация |
| Разработан: | ЦНИИЭП жилища |
| Утверждён: | 09.01.1989 Госкомархитектура (4) |
| Издан: | ЦИТП Госстроя СССР (CITP, Gosstroy (USSR) 1989 г. ) |
| Заменяет собой: |
































