Скачать РД 45.022-98 Средства измерений специализированные. Методические указания по поверке измерителей потери достоверности ИПД-1Дата актуализации: 01.01.2021
|
| Обозначение: | РД 45.022-98 |
| Обозначение англ: | RD 45.022-98 |
| Статус: | введен впервые |
| Название рус.: | Средства измерений специализированные. Методические указания по поверке измерителей потери достоверности ИПД-1 |
| Дата добавления в базу: | 01.09.2013 |
| Дата актуализации: | 01.01.2021 |
| Дата введения: | 01.09.1999 |
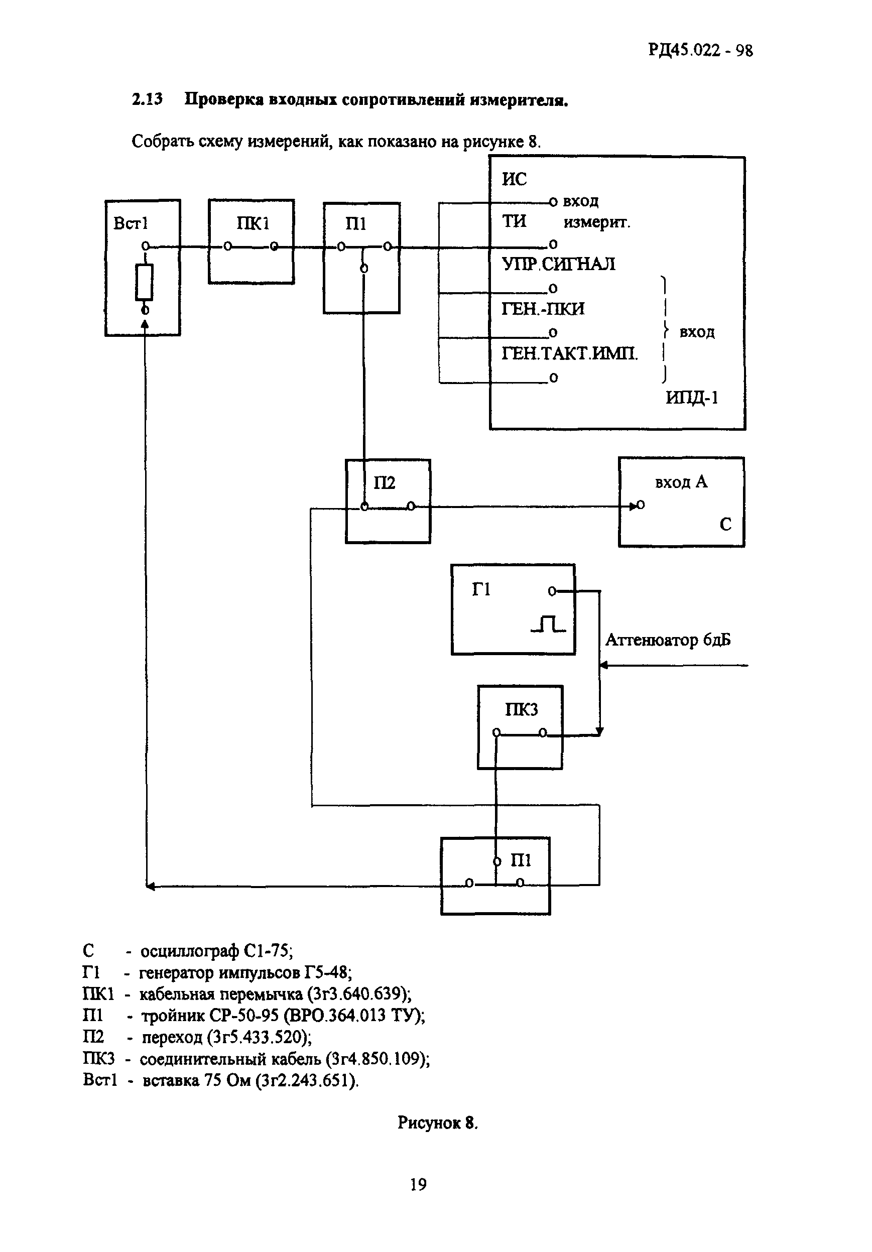
| Область применения: | Руководящий документ устанавливает порядок поверки измерителей потери достоверности ИПД-1. Требования РД обязательны для выполнения специалистами метрологической службы отрасли, занимающихся поверкой данного типа средств измерений. |
| Оглавление: | 1 Область применения 2 Методические указания по поверке измерителей потери достоверности ИПД-1 3 Оформление результатов поверки |
| Разработан: | МТУСиИ |
| Утверждён: | 11.08.1999 Госкомсвязи России (4827) |
| Издан: | ЦНТИ Информсвязь (1999 г. ) |
| Нормативные ссылки: |


























