ГОСУДАРСТВЕННЫЙ КОМИТЕТ РОССИЙСКОЙ
ФЕДЕРАЦИИ ПО СВЯЗИ И ИНФОРМАТИЗАЦИИ

 

РУКОВОДЯЩИЙ ДОКУМЕНТ ОТРАСЛИ

СРЕДСТВА ИЗМЕРЕНИЙ СПЕЦИАЛИЗИРОВАННЫЕ

МЕТОДИЧЕСКИЕ УКАЗАНИЯ ПО ПОВЕРКЕ ИЗМЕРИТЕЛЕЙ
ПОТЕРИ ДОСТОВЕРНОСТИ
ИПД-1

 

РД 45.022-98

 

 

ЦНТИ «ИНФОРМСВЯЗЬ»

Москва - 1999

 

Предисловие

1 РАЗРАБОТАН Московским техническим университетом связи и информатики (МТУСИ)

ВНЕСЕН Научно-техническим управлением и охраны труда Госкомсвязи России

2 УТВЕРЖДЕН Госкомсвязи России

3 ВВЕДЕН В ДЕЙСТВИЕ информационным письмом от 11.08.99 № 4827

4 ВВЕДЕН ВПЕРВЫЕ

 

СОДЕРЖАНИЕ

2 Методические указания по поверке измерителей потери достоверности ИПД-1. 2

2.1 Условия поверки. 2

2.2 Операции поверки. 2

2.3 Средства поверки. 3

2.4 Опробование. 3

2.5 Определение относительной погрешности частоты следования тактовых импульсов. 3

2.6 Определение относительной погрешности скорости передача испытательного сигнала. 4

2.7 Проверка диапазона скоростей передачи испытательного сигнала при использовании внешнего генератора. 4

2.8 Проверка структуры испытательного сигнала. 6

2.9 Проверка количества ошибок, вводимых в испытательный сигнал. 7

2.10 Проверка параметров испытательного сигнала и тактовых импульсов. 7

2.11 Проверка диапазона измерения коэффициента ошибок. 9

2.12 Определение погрешности измерения коэффициента ошибок. 10

2.13 Проверка входных сопротивлений измерителя. 12

2.14 Проверка зоны удержания фазы. 13

2.15 Проверка регистрации измерителем перерывов связи. 15

2.16 Проверка параметров сигнала на выходах измерителя для регистрации ошибок и перерывов связи. 16

3 Оформление результатов поверки. 18

 

РУКОВОДЯЩИЙ ДОКУМЕНТ ОТРАСЛИ

Средства измерений специализированные
«Методические указания по поверке измерителей
потери достоверности ИПД-1»

Дата введения 01.09.99 г.

1 Область применения.

Настоящий руководящий документ отрасли устанавливает порядок поверки измерителей потери достоверности ИПД-1.

Требования руководящего документа обязательны для выполнения специалистами метрологической службы отрасли, занимающихся поверкой данного типа средств измерений.

Руководящий документ отрасли разработан с учетом положений РД 50-660-88 «Документы на методики поверки средств измерений» и стандарта отрасли ОСТ 45.88-96 «Отраслевая система стандартизации. Порядок разработки руководящих документов отрасли».

2 Методические указания по поверке измерителей потери достоверности ИПД-1.

2.1 Условия поверки.

При поверке измерителей потери достоверности ИПД-1 должны соблюдаться следующие условия:

температура окружающей среды (20 ± 5) °С;

относительная влажность (65 ± 15) %;

атмосферное давление (750 ± 30) мм рт.ст.;

напряжение питания от сети переменного тока (220 ± 4,4) В частотой 50 Гц;

время самопрогрева поверяемого прибора не менее 15 минут.

2.2 Операции поверки.

Поверка измерителей потери достоверности ИПД-1 должна проводиться в объеме и последовательности операций, указанной в таблице 1.

ТАБЛИЦА 1.

Наименование операций поверки

Номера пунктов руководящего документа по поверке ИПД-1

1

2

Опробование

2.4

Определение относительной погрешности частоты следования тактовых импульсов

2.5

Определение относительной погрешности скорости передачи испытательного сигнала

2.6

Проверка диапазона скоростей передачи испытательного сигнала при использовании внешнего генератора

2.7

Проверка структуры испытательного сигнала

2.8

Проверка количества ошибок, вводимых в испытательный сигнал

2.9

Проверка параметров испытательного сигнала и тактовых импульсов

2.10

Проверка диапазона измерения коэффициента ошибок

2.11

Определение погрешности измерения коэффициента ошибок

2.12

Проверка входных сопротивлений измерителя

2.13

Проверка зоны удержания фазы

2.14

Проверка регистрации измерителем перерывов связи

2.15

Проверка параметров сигнала на выходах измерителя для регистрации ошибок и перерывов связи

2.16

2.3 Средства поверки.

При проведении поверки измерителей потери достоверности ИПД-1 должны применяться средства измерений, указанные в таблице 2.

ТАБЛИЦА 2.

Наименование средства измерения

Тип средства измерения

Норма основной погрешности, требуемый диапазон

1

2

3

Генератор импульсов

Г5-48

6 - 2,5 · 105 нс

10 %

Генератор импульсов

Г5-53

0,3 Гц - 1,0 МГц

10 %

Генератор сигналов

Г4-93

0,01 - 50 МГц

5 %

Осциллограф универсальный

С1-75

8 нс - 1,0 с

5 %

Частотомер электронно-счетный

Ч3-63

0,1 Гц - 200 МГц

0,1 - 10 В

Допускается применение других средств измерений, если они обеспечивают измерение метрологических характеристик поверяемых измерителей потери достоверности ИПД-1 с требуемой точностью.

2.4 Опробование.

При опробовании измерителей потери достоверности ИПД-1 проверить:

четкость фиксации переключателей и совпадение их указателей с отметками на соответствующих шкалах;

возможность управления прибором.

2.5 Определение относительной погрешности частоты следования тактовых импульсов.

Собрать схему измерений, как показано на рисунке 1.

Установить переключатель измерителя ГЕН.ТАКТ.ИМП. в положение ВНУТР. К выходу ТИ датчика (с помощью кабельной перемычки ПК1) подключить низкоомный вход (50 Ом) частотомера Ч3-63 в режиме измерения частоты.

Установить переключатель СКОРОСТЬ ПЕРЕДАЧИ кбит/с последовательно в положения 32, 64, 512, 1024, 2048, 8448 и 10240. Зафиксировать показания частотомера Ч3-63 на каждой из вышеуказанных скоростей передачи.

ПК1 - кабельная перемычка (3г0.364.026 ТУ) из комплекта ЗИП ИПД-1

Рисунок 1.

Определить относительную погрешность частоты следования тактовых импульсов по формуле:

                                                                    (1)

где: fизм - значение частоты следования тактовых импульсов, измеренное частотомером Ч3-63;

fном - номинальное значение частоты следования тактовых импульсов.

Относительная погрешность частоты следования тактовых импульсов не должна быть более ±3,0 · 10-5.

2.6 Определение относительной погрешности скорости передача испытательного сигнала.

Проверка относительной погрешности скорости передачи испытательного сигнала проводится по схеме, приведенной на рисунке 1.

Установить переключатели измерителя в положения:

ИСПЫТАТ.СИГНАЛ - в положение «КОМБ»;

ГЕН.ТАКТ.ИМП. - в положение «ВНУТР»;

РЕЖИМ РАБОТЫ - в положение «НЕПР».

Набрать переключателем КОМБИНАЦИЯ чередующиеся символы 1,0...1,0, нажав кнопки 1,3...13,15.

Подключить к выходу измерителя ИС1 или ИС2 (с помощью кабельной перемычки ПК1) низкоомный вход (50 Ом) частотомера Ч3-63 в режиме измерителя частоты.

Установить переключатель СКОРОСТЬ ПЕРЕДАЧИ кбит/с последовательно в положения 32, 64, 512, 1024, 2048, 8448 и 10240. Зафиксировать показания частотомера Ч3-63 на каждой из вышеуказанных скоростей передачи. При этом измеренная скорость передачи испытательного сигнала будет числено равна удвоенному значению показания частотомера.

Определить относительную погрешность скорости передачи испытательного сигнала по формуле:

                                     (2)

где: Впизм - значение измеренной скорости передачи;

Впном - номинальное значение установленной скорости передачи;

fизм - показание частотомера Ч3-63.

Относительная погрешность скорости передачи испытательного сигнала не должна быть более ±3,0 · 10-5.

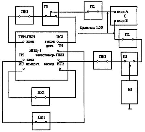
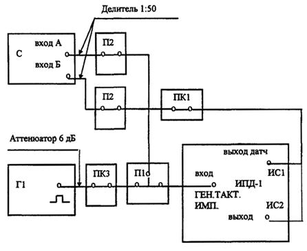
2.7 Проверка диапазона скоростей передачи испытательного сигнала при использовании внешнего генератора.

Собрать схему измерений, как показано на рисунке 2.

Г1 - генератор импульсов Г5-48; С - осциллограф универсальный С1-75; П1 - тройник СР-50-95 (вро.364.013 ту); П2 - переход (3г5.433.520); ПК1 - кабельная перемычка (3г3.640.639); ПК3 - соединительный кабель (3г4.850.109)

Рисунок 2.

Установить переключатели измерителя в положения:

СКОРОСТЬ ПЕРЕДАЧИ кбит/с      - в положение «32»;

ИСПЫТАТ.СИГНАЛ                        - в положение «КОМБ»;

ГЕН.ТАКТ.ИМП.                               - в положение «ВНЕШ.I»;

РЕЖИМ РАБОТЫ                              - в положение «НЕПР».

Набрать переключателем КОМБИНАЦИЯ чередующиеся символы 1,0...1,0, нажав кнопки 1,3...13,15.

Подключить к выходу измерителя ГЕН.ТАКТ.ИМП. (с помощью кабельных перемычек ПК1, ПК3, тройника П1 и перехода П2) выход генератора импульсов Г5-48 (через аттенюатор 6 дБ) и высокоомный вход А осциллографа С1-75 (через высокоомный вход А осциллографа C1-75 (через выносной делитель 1:50).

Установить на выходе генератора Г5-48 сигнал частотой 320 кГц и длительностью импульсов 1,6 мкс. По осциллографу С1-75 установить другие требуемые параметры тактовых импульсов, подаваемые от генератора Г5-48 на вход поверяемого измерителя.

Подключить к выходу датчика ИС1 или выход ИС2 измерителя ИПД-1 (с помощью перехода П2 и кабельной перемычки ПК1) высокоомный вход Б осциллограф С1-75 (через выносной делитель 1:50), работающего в режиме синхронизации по входу А.

Проверить по осциллографу С1-75 отношение периодов следования двух сигналов.

Установить на поверяемом измерителе переключатель СКОРОСТЬ ПЕРЕДАЧИ кбит/с в положение 10240, а на выходе генератора Г5-48 сигнал частотой 10000 кГц и длительностью импульсов 50 нс. С помощью осциллографа С1-75 установить другие требуемые параметры тактовых импульсов.

Проверить по осциллографу С1-75 отношение периодов следования двух сигналов.

Отношение периодов следования сигналов на экране осциллографа должно быть соответственно 20 и 2.

Диапазон скоростей передачи испытательного сигнала, получаемых от внешнего генератора тактовых импульсов должен быть в пределах от 32 кбит/с до 10000 кбит/с. Параметры тактовых импульсов, подаваемых при этом на вход датчика от внешнего генератора, должны быть:

амплитуда - (3,0 ± 0,6) В;

время нарастания и спада фронта - не более 20 нс;

скважность - 2.

2.8 Проверка структуры испытательного сигнала.

Собрать схему измерений, как показано на рисунке 3.

Установить переключатели измерителя в положения:

СКОРОСТЬ ПЕРЕДАЧИ кбит/с      - в положение «2048»;

ИСПЫТАТ.СИГНАЛ                        - в положение «215 - 1»;

ИЗМЕРЕНИЯ                                     - в положение «НЕПР»;

ГЕН.ТАКТ.ИМП.                               - в положение «ВНУТР»;

ПРОВЕРКА-ИЗМЕР                          - в положение «РЕК»;

РЕЖИМ РАБОТЫ                              - в положение «НЕПР».

ПК1 - кабельная перемычка (3г3.640.639); С - осциллограф С1-75; Ч - частотомер Ч3-63.

Рисунок 3.

Подключить к выходу датчика ИС1 и выходу ИС2 измерителя (с помощью кабельных перемычек ПК1) вход ИС измерителя и низкоомный вход (50 Ом) осциллографа С1-75, а к выходу ЧАСТОТОМЕРА-ПКИ (с помощью кабельной перемычки ПК1) - низкоомный вход (50 Ом) Частотомера Ч3-63, работающего в режиме суммирования.

Нажать на поверяемом измерителе кнопку ПУСК и зафиксировать показания частотомера Ч3-63. Показания частотомера должны соответствовать значению 32767 с погрешностью ±1 ед. счета младшего разряда частотомера.

Установить переключатель ИСПЫТАТ.СИГНАЛ в положение «220 - 1». Нажать на поверяемом измерителе кнопку ПУСК и зафиксировать показания частотомера. Показания частотомера должны соответствовать значению 1048575 с погрешностью ±1 ед. счета младшего разряда частотомера.

Установить переключатель ИСПЫТАТ.СИГНАЛ в положение «КОМБ». Набрать переключателем КОМБИНАЦИЯ набор символов 1, 0, 0, ... 0, нажатием кнопки I. Установить на экране осциллографа С1-75 не менее одного периода следования комбинаций. Нажимая последовательно кнопки 2, 3, .. 16, проверить соответствие осциллограммы набранной комбинации. Период следования комбинаций должен составлять 16 символов.

2.9 Проверка количества ошибок, вводимых в испытательный сигнал.

Собрать схему измерений, как показано на рисунке 4.

ПК1 - кабельная перемычка (3г3.640.639); Ч - частотомер Ч3-63.

Рисунок 4.

Установить переключатели измерителя в положения:

СКОРОСТЬ ПЕРЕДАЧИ кбит/с        - в положение «2048»;

ИСПЫТАТ.СИГНАЛ                         - в положение «220 - 1»;

ИЗМЕРЕНИЯ                                      - в положение «НЕПР»;

ОШИБКИ                                             - в положение «БИТ;

ДЛИТЕЛЬНОСТЬ СЕАНСА бит      - в положение «107»;

ГЕН.ТАКТ.ИМП.                                - в положение «ВНУТР»;

ПРОВЕРКА-ИЗМЕР                           - в положение «СЕАНС»;

РЕЖИМ РАБОТЫ                               - в положение «НЕПР».

Подключить к выходу измерителя ЧАСТОТОМЕР-ПКИ (с помощью кабельной перемычки ПК1) низкоомный вход (50 Ом) частотомера Ч3-63, работающего в режиме суммирования импульсов. Подключить между выходом датчика ИС1 или выходом ИС2 и входом ИС поверяемого измерителя кабельную перемычку ПК1.

Нажать на измерителе кнопку ПУСК. Устанавливая переключатель ВВОД ОШИБОК последовательно в положения 102, 103, 104 и 105, фиксировать показания частотомера Ч3-63.

Аналогичным способом провести измерения для сеанса измерения длительностью 16 ·106 бит. В этом случае переключатель ДЛИТЕЛЬНОСТЬ СЕАНСА бит следует установить в положение «106», а переключатель ОШИБКИ - в положение «КОМБ».

Показания частотомера Ч3-63 должны быть соответственно 102, 103, 104 и 105 с погрешностью ±1 ед. счета младшего разряда частотомера.

2.10 Проверка параметров испытательного сигнала и тактовых импульсов.

Собрать схему измерений, как показано на рисунке 5.

ПК1 - кабельная перемычка (3г3.640.639); С - осциллограф С1-75; П1 - тройник СР-50-95 (ВРО.364.013 ТУ); Н1 - нагрузка 75 Ом (3г2.243.652); П2 - переход (3г5.433.520).

Рисунок 5.

Установить переключатели измерителя в положения:

ИСПЫТАТ.СИГНАЛ          - в положение «КОМБ»;

ГЕН.ТАКТ.ИМП.                 - в положение «ВНУТР»;

РЕЖИМ РАБОТЫ               - в положение «НЕПР»;

ПРОВЕРКА-ИЗМЕР           - в положение «ТИ».

Установить переключателем КОМБИНАЦИЯ набор чередующихся символов 1,0 ... 1,0, нажатием кнопок 1,3 ... 13,15. С помощью тройника П1, перехода П2 и кабельной перемычки ПК1 подсоединить к выходу датчика ИС1 нагрузку H1 и высокоомный вход осциллографа С1-75.

Установить переключателем СКОРОСТЬ ПЕРЕДАЧИ кбит/с последовательно скорости передачи 32 и 10240 кбит/с. С помощью осциллографа С1-75 измерить амплитуду, длительность, время нарастания и спада импульса единичного символа испытательного сигнала, а также уровень нулевого символа на выходе датчика ИС1.

Аналогичным способом измерить вышеуказанные параметры импульсов испытательного сигнала на дополнительном выходе измерителя ИС2. В этом случае следует кабельную перемычку ПК1 отсоединить от выхода датчика ИС1 и подсоединить к выходу ИС2.

Для измерения параметров тактовых импульсов датчика необходимо кабельную перемычку ПК1 отсоединить от выхода ИС2 и подсоединить к выходу ТИ датчика, а в случае измерения тактовых импульсов измерителя - к выходу ЧАСТОТОМЕР-ПКИ.

Установить переключателем СКОРОСТЬ ПЕРЕДАЧИ кбит/с последовательно скорости передачи 32 и 10240 кбит/с. Измерить с помощью осциллографа С1-75 амплитуду, длительность, время нарастания и спада тактовых импульсов.

Параметры импульса единичного символа бинарного испытательного сигнала на основном и дополнительном выходах датчика измерителя должны быть:

амплитуда (3,0 ± 0,6) В;

длительность, отсчитанная по уровню 0,5 значения амплитуды Вn-1 (1 ± 0,15) с, где Вn - скорость передачи в битах за 1 с;

время нарастания и спада, отсчитанные по уровням 10 % и 90 % значений амплитуды, не более 20 нс;

уровень нулевого символа не более 0,4 В.

Параметры тактовых импульсов на выходе датчика и измерителя должны быть:

амплитуда (3,0 ± 0,6) В;

длительность, отсчитанная по уровню 0,5 значения амплитуды для тактовых импульсов на выходе датчика Вn-1 (1 ± 0,075) с и для тактовых импульсов на выходе измерителя Вn-1 (0,5 ± 0,3) с, где Вn - скорость передачи в битах за 1 с;

время нарастания и спада, отсчитанные по уровням 10 % и 90 % значений амплитуды, не более 20 нс;

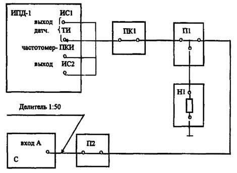
2.11 Проверка диапазона измерения коэффициента ошибок.

Собрать схему измерений, как показано на рисунке 6.

ПК1 - кабельная перемычка (3г3.640.639).

Рисунок 6.

Установить переключатели измерителя в положения:

СКОРОСТЬ ПЕРЕДАЧИ кбит/с     - в положение «10240»;

ИСПЫТAT.СИГНАЛ                       - в положение «215 - 1»;

ИЗМЕРЕНИЯ                                    - в положение «РАЗ»;

ОШИБКИ                                          - в положение «БИТ»;

СИНХРОНИЗАЦИЯ                        - в положение «ВНУТР.I»;

ДЛИТЕЛЬНОСТЬ СЕАНСА бит    - в положение «1010»;

ГЕН.ТАКТ.ИМП.                              - в положение «ВНУТР»;

ПРОВЕРКА-ИЗМЕР                        - в положение «ТИ»;

РЕЖИМ РАБОТЫ                            - в положение «НЕПР».

Соединить с помощью кабельной перемычки ПК1 выход датчика ИС1 или выход ИС2 с входом ИС измерителя.

Нажать на поверяемом измерителе кнопку ПУСК. Через 3,5 минуты, после окончания сеанса измерения (загорание светового сигнала ОТСЧЕТ), нажать кнопку ЗУ.

Показания цифрового индикатора измерителя должны соответствовать значению 1,0 · 10-8, а на световом табло должна светиться надпись НЕТ ОШИБОК.

Перевести переключатель ВВОД ОШИБОК в положение 102. Нажать на измерителе кнопку ПУСК. Через 3,5 минуты, после окончания сеанса измерения, нажать кнопку ЗУ.

Показания цифрового индикатора измерителя должны соответствовать значению 1,0 · 10-8 с погрешностью не более ±10 %.

Аналогичным способом проверить значения коэффициента ошибок 1,0 · 10-7, 1,0 · 10-6, 1,0 · 10-5, 1,0 · 10-4, 1,0 · 10-3 и 1,0 · 10-2 по битам и комбинациям. Положения переключателей ДЛИТЕЛЬНОСТЬ СЕАНСА бит и ВВОД ОШИБОК, а также показания цифрового индикатора измерителя с допустимой погрешностью не более ±10 % приведены в таблице 3.

ТАБЛИЦА 3.

Положение переключателей

Показания цифрового индикатора измерителя

Длительность сеанса по времени в положении переключателя ОШИБКИ

ДЛИТЕЛЬНОСТЬ СЕАНСА бит

ВВОД ОШИБОК

 

БИТ

КОМБ.

1010

102

1,0 · 10-8

16 мин

4,3 ч

109

102

1,0 · 10-78

1,6 мин

26,0 мин

108

102

1,0 · 10-6

10,0 с

2,6 мин

107

102

1,0 · 10-5

1,0 с

16,0 с

106

102

1,0 · 10-4

0,1 с

1,6 с

106

103

1,0 · 10-3

0,1 с

1,6 с

106

104

1,0 · 10-2

0,1 с

1,6 с

При проведении проверки диапазона измеряемого коэффициента ошибок по комбинациям переключатель ОШИБКИ установить в положение КОМБ. Повторить измерения в соответствии с таблицей 3.

Примечание - В целях сокращения времени испытаний допускается измерения при положениях переключателя ДЛИТЕЛЬНОСТЬ СЕАНСА бит «109» и «1010» не проводить.

2.12 Определение погрешности измерения коэффициента ошибок.

Установить переключатели измерителя в положения:

СКОРОСТЬ ПЕРЕДАЧИ кбит/с      - в положение «32»;

ИСПЫТАТ.СИГНАЛ                        - в положение «220 - 1»;

ИЗМЕРЕНИЯ                                     - в положение «РАЗ»;

ОШИБКИ                                            - в положение «БИТ»;

СИНХРОНИЗАЦИЯ                         - в положение «ВНУТР.I»;

ДЛИТЕЛЬНОСТЬ СЕАНСА бит     - в положение «106»;

ВВОД ОШИБОК                               - в положение «102»;

ГЕН.ТАКТ.ИМП.                               - в положение «ВНУТР»;

ПРОВЕРКА-ИЗМЕР                          - в положение «ТИ»;

РЕЖИМ РАБОТЫ                              - в положение «НЕПР».

Собрать схему измерений, как показано на рисунке 7а.

ПК1 - кабельная перемычка (3г3.640.639)

Рисунок 7а.

Нажать на поверяемом измерителе кнопку ПУСК. Через 10 секунд после окончания сеанса измерений (загорания светового сигнала ОТСЧЕТ), нажать кнопку ЗУ. Зафиксировать показания цифрового индикатора измерителя.

Показания цифрового индикатора измерителя должны соответствовать значению 1,0 · 10-4 с погрешностью не более ±10 %.

Аналогичным способом провести проверку погрешности измерения на других скоростях передачи. При этом переключатель СКОРОСТЬ ПЕРЕДАЧИ кбит/с следует устанавливать соответственно в положения 64, 512, 1024, 2048, 8448 и 10240.

Собрать схему измерений, как показано на рисунке .

С - осциллограф С1-75; ПК1 - кабельная перемычка (3г3.640.639); П1 - тройник СР-50-95 (ВРО.364.013 ТУ); П1 - нагрузка 75 Ом (3г2.243.652); П2 - переход (3г5.433.520).

Рисунок 7б.

Установить переключатель СИНХРОНИЗАЦИЯ в положение «ВНУТР.2». Проверить погрешность измерения коэффициента ошибок на всех скоростях передачи. При этом на осциллографе С1-75 (с синхронизацией по входу А) тактовые импульсы на выходе ЧАСТОТОМЕР-ПКИ измерителя не должны смещаться относительно сигнала на входе измерителя ГЕН-ПКИ.

Установить переключатель СИНХРОНИЗАЦИЯ в положение «ВНЕШ». Провести аналогичные измерения на скоростях передачи 32 и 10240 кбит/с. Для чего переключатель СКОРОСТЬ ПЕРЕДАЧИ кбит/с установить соответственно в положения 32 и 10240, а необходимые соединения выполнить по схеме изображенной на рисунке .

Погрешность измерения коэффициента ошибок в режиме внутренней синхронизации не должна быть более ±10 % от измеренной величины при количестве зарегистрированных в сеансе измерений ошибок не менее 100. При этом параметры импульсов единичного символа испытательного сигнала, подаваемого на вход измерителя должны быть:

амплитуда (3,0 ± 0,6) В;

длительность, отсчитанная по уровню 0,5 значения амплитуды Вn-1 (1 ± 0,15) с, где Вn - скорость передачи в битах за 1 с;

время нарастания и спада, отсчитанные по уровням 10 % и 90 % значений амплитуды, не более 20 нс;

уровень нулевого символа не более 0,4 В.

Погрешность измерения коэффициента ошибок в режиме внутренней синхронизации не должна быть более ±10 % от измеренной величины при количестве зарегистрированных в сеансе измерений ошибок не менее 100. При этом тактовые импульсы на входе измерителя, синфазные с испытательным сигналом по заднему фронту, должны иметь параметры:

амплитуда (3,0 ± 0,6) В;

длительность, отсчитанная по уровню 0,5 значения амплитуды Вn-1 (0,5 ± 0,075) с, где Вn - скорость передачи в битах за 1 с;

время нарастания и спада, отсчитанное по уровням 10 % и 90 % значений амплитуды, не более 20 нс;

2.13 Проверка входных сопротивлений измерителя.

Собрать схему измерений, как показано на рисунке 8.

С - осциллограф С1-75; П - генератор импульсов Г5-48; ПК1 - кабельная перемычка (3г3.640.639); П1 - тройник СР-50-95 (ВРО.364.013 ТУ); П2 - переход (3г5.433.520); ПК3 - соединительный кабель (3г4.850.109); Вст1 - вставка 75 Ом (3г2.243.651).

Рисунок 8.

Подсоединить к входу измерителя ИС выход генератора Г5-48 (через аттенюатор 6 дБ) и вход осциллографа C1-75 через тройник П1, переход П2, кабельные перемычки ПК1, ПК3 и вставку Вст1. Установить на входе измерителя ИС сигнал с выхода генератора Г5-48 частотой следования импульсов 5000 кГц, длительностью импульсов 100 нс и амплитудой U1 равной (3,0 ± 0,6) В. Значение амплитуды U1 контролировать с помощью осциллографа С1-75. Соединить вход осциллографа С1-75 (через коаксиальные переходы) с выходом генератора Г5-48. Измерить амплитуду импульсов U2.

Примечание - При всех указанных измерениях в осциллографе С1-75 должен использоваться высокоомный вход (выносной делитель 1:50).

Вычислить входное сопротивление измерителя по входу ИС по формуле:

                                                        (3)

Аналогичным способом измерить входное сопротивление по входам измерителя, предназначенным для подачи тактовых импульсов и управляющего сигнала. При этом выход генератора Г5-48 и вход осциллографа С1-75 соединить (указанным выше способом) соответственно с входами измерителя ТИ, ГЕН.ТАКТ.ИМП., ГЕН.-ПКИ и УПР.СИГНАЛ.

Входные сопротивления измерителя по входам, предназначенным для подачи испытательного сигнала, тактовых импульсов и управляющего сигнала, должны быть (75 ± 7,5) Ом.

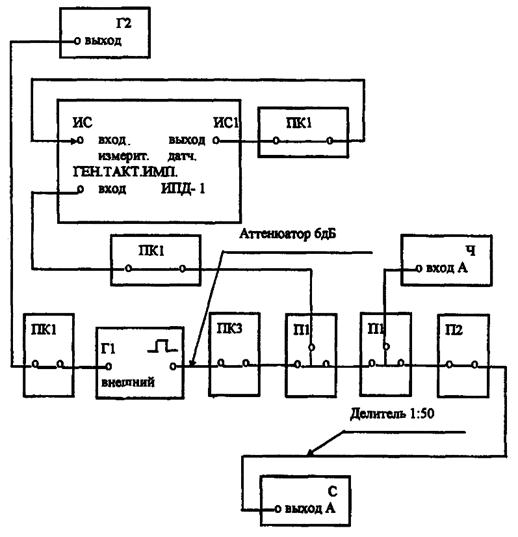
2.14 Проверка зоны удержания фазы.

Собрать схему измерений, как показано на рисунке 9.

Г1 - генератор импульсов Г5-48; Г2 - генератор сигналов Г4-93; Ч - частотомер Ч3-63; С - осциллограф С1-75; П1 - тройник СР-50-95 (ВРО.364.013 ТУ); П2 - переход (3г5.433.520); ПК1 - кабельная перемычка (3г0.364.026 ТУ); ПК3 - соединительный кабель (3г4.850.109).

Рисунок 9.

Установить переключатели измерителя в положения:

СКОРОСТЬ ПЕРЕДАЧИ кбит/с      - в положение «32»;

ИСПЫТАТ.СИГНАЛ                        - в положение «220 - 1»;

ИЗМЕРЕНИЯ                                     - в положение «НЕПР»;

ОШИБКИ                                            - в положение «БИТ»;

СИНХРОНИЗАЦИЯ                         - в положение «ВНУТР.I»;

ДЛИТЕЛЬНОСТЬ СЕАНСА бит     - в положение «106»;

ГЕН.ТАКТ.ИМП.                               - в положение «ВНЕШ.2»;

ПРОВЕРКА-ИЗМЕР                          - в положение «ТИ»;

РЕЖИМ РАБОТЫ                              - в положение «НЕПР».

Подсоединить кабельную перемычку ПК1 между выходом ИС1 датчика и входом ИС измерителя.

С помощью кабельных перемычек ПК1, ПК3, тройников П1 и перехода П2 подключить вход измерителя ГЕН.ТАКТ.ИМП. к выходу генератора Г5-48 (через аттенюатор 6 дБ), работающего в режиме внешнего запуска от генератора Г4-93, высокоомному входу осциллографа С1-75 и высокоомному входу частотомера Ч3-63.

Установить на выходе генератора Г5-48 сигнал с длительностью импульсов 16 мкс, а на выходе генератора Г4-93 - сигнал частотой 32 кГц с относительной погрешностью не более 5 · 10-5. Частоту сигнала контролировать частотомером Ч3-63. С помощью осциллографа С1-75 установить другие требуемые параметры, которым должен отвечать сигнал, подаваемый на вход измерителя ГЕН.ТАКТ.ИМП. Уменьшить частоту сигнала на выходе генератора Г4-93 до появления сигнала РАСФАЗИРОВАНИЕ на световом табло измерителя.

Измерить частотомером Ч3-63 частоту следования импульсов fизм на выходе генератора Г5-48. Вычислить зону удержания фазы δφ1, обеспечиваемую системой синхронизации в сторону уменьшения тактовой частоты относительно номинального значения fном равного 32 кГц, по формуле (1).

Увеличить частоту сигнала на выходе генератора Г4-93 до появления сигнала РАСФАЗИРОВАНИЕ на световом табло измерителя. Измерить частотомером Ч3-63 частоту следования импульсов fизм на выходе генератора Г5-48. Вычислить зону удержания фазы δφ2, обеспечиваемую системой синхронизации в сторону увеличения тактовой частоты относительно номинального значения fном равного 32 кГц, по формуле (1).

Аналогичным способом провести измерения зоны удержания фазы для скоростей передачи 2048, 8448 и 10240 кбит/с. Для чего переключатель СКОРОСТЬ ПЕРЕДАЧИ кбит/с следует устанавливать последовательно в положения «2048», «8448» и «10240». При этом на выходе генератора Г4-93 установить сигнал частотой 2048 кГц, 8448 кГц и 10240 кГц соответственно, а на выходе генератора Г5-48 - соответственно длительность импульсов 0,24 мкс, 60 нс, 48 нс и другие требуемые параметры сигнала, подаваемого на вход ГЕН.ТАКТ.ИМП. Длительность импульсов контролировать с помощью осциллографа С1-75.

Зона удержания фазы должна быть не менее ±1,5 · 10-4 от номинала соответствующих тактовой частоты. Измеритель должен обеспечивать регистрацию нарушений синхронизации с выдачей светового сигнала о расфазировании.

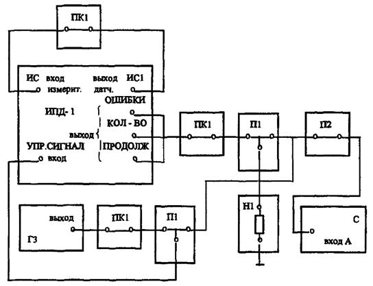
2.15 Проверка регистрации измерителем перерывов связи.

Собрать схему измерений, как показано на рисунке 10.

С - осциллограф С1-75; Г3 - генератор импульсов Г5-53; П1 - тройник СР-50-95 (ВРО.364.013 ТУ); П2 - переход (3г5.433.520); ПК1 - кабельная перемычка (3г3.640.639).

Рисунок 10.

Установить переключатели измерителя в положения:

СКОРОСТЬ ПЕРЕДАЧИ кбит/с      - в положение «2048»;

ИЗМЕРЕНИЯ                                     - в положение «НЕПР»;

ОШИБКИ                                            - в положение «БИТ;

СИНХРОНИЗАЦИЯ                         - в положение «ВНУТР.I»;

ДЛИТЕЛЬНОСТЬ СЕАНСА бит     - в положение «10 «;

ПЕРЕРЫВЫ                                       - в положение «300 mS»;

ГЕН.ТАКТ.ИМП.                               - в положение «ВНУТР»;

ПРОВЕРКА-ИЗМЕР                          - в положение «ТИ»;

РЕЖИМ РАБОТЫ                              - в положение «ПЕРИОД 2».

Соединить вход ИС измерителя с выходом ИС1 датчика кабельной перемычкой ПК1. Подключить к входу УПР.СИГНАЛ с помощью кабельной перемычки ПК1, тройника П1 и перехода П2 выход генератора Г5-53 и высокоомный вход осциллографа С1-75.

Установить на выходе генератора Г5-53 импульсный сигнал с периодом следования импульсов 350 мс, длительностью импульсов (175 ± 17,0) мс и амплитудой импульсов (3,0 ± 0,6) В.

На световом табло измерителя должны высвечиваться сигналы ПЕРЕРЫВ и НЕТ ОШИБОК. Показания цифрового индикатора измерителя должны соответствовать ±0,0 · 10-4, что характеризует исключение результатов измерений по критерию отказа из-за наличия перерывов связи длительностью больше 300 мс. При уменьшении периода следования импульсов с выхода генератора Г5-53 до величины меньшей 300 мс должен погаснуть сигнал ПЕРЕРЫВ.

2.16 Проверка параметров сигнала на выходах измерителя для регистрации ошибок и перерывов связи.

Собрать схему измерений, как показано на рисунке 11.

С - осциллограф С1-75; Г3 - генератор импульсов Г5-53; Ш - тройник СР-50-95 (ВРО.364.013 ТУ); П2 - переход (3г5.433.520); ПК1 - кабельная перемычка (3г3.640.639); H1 - нагрузка 75 Ом (3г2.243.652).

Рисунок 11.

Установить переключатели измерителя в положения:

СКОРОСТЬ ПЕРЕДАЧИ кбит/с      - в положение « 10240»;

ИЗМЕРЕНИЯ                                     - в положение «НЕПР»;

ОШИБКИ                                            - в положение «БИТ»;

СИНХРОНИЗАЦИЯ                         - в положение «ВНУТР.I»;

ДЛИТЕЛЬНОСТЬ СЕАНСА бит     - в положение «106»;

ВВОД ОШИБОК                               - в положение «104»;

ПЕРЕРЫВЫ                                       - в положение «300 mS»;

ГЕН.ТАКТ.ИМП.                               - в положение «ВНУТР»;

ПРОВЕРКА-ИЗМЕР                          - в положение «ТИ»;

РЕЖИМ РАБОТЫ                              - в положение «НЕПР».

Подключить с помощью кабельной перемычки ПК1 выход ИС1 датчика к входу ИС измерителя. Подсоединить к выходу измерителя ОШИБКИ (с помощью тройника П1, перехода П2 и кабельной перемычки ПК1) нагрузку H1 и высокоомный вход осциллографа С1-75.

Измерить с помощью осциллографа С1-75 амплитуду и длительность импульсов на выходе измерителя ОШИБКИ. Установить переключатель ВВОД ОШИБОК в положение СБРОС, а переключатель ДЛИТЕЛЬНОСТЬ СЕАНСА бит - в положение «107». Подсоединить к входу УПР.СИГНАЛ (с помощью кабельной перемычки ПК1, тройника П1 и перехода П2) выход генератора Г5-53 и высокоомный вход осциллографа С1-75. Установить на выходе генератора Г5-53 импульсный сигнал с периодом следования импульсов 350 мс, длительностью импульсов (175 ± 17,0) мс и амплитудой импульсов (3,0 ± 0,6) В.

Подсоединить (с помощью кабельной перемычки ПК1, тройника П1 и перехода П2) нагрузку H1 и высокоомный вход осциллографа С1-75 к выходу измерителя КОЛИЧЕСТВО. Установить переключатель РЕЖИМ РАБОТЫ в положение «ПЕРИОД 2». Измерить с помощью осциллографа С1-75 амплитуду и длительность импульсов на выходе измерителя КОЛИЧЕСТВО.

Подсоединить (с помощью кабельной перемычки ПК1, тройника П1 и перехода П2) нагрузку H1 и высокоомный вход осциллографа С1-75 к выходу измерителя ПРОДОЛЖИТ. Установить переключатель РЕЖИМ РАБОТЫ в положение «НЕПР». Отсоединить кабельную перемычку от входа ИС измерителя. Измерить с помощью осциллографа С1-75 амплитуду, длительность и период следования импульсов на выходе измерителя ПРОДОЛЖИТ.

Установить переключатель ПЕРЕРЫВЫ в положение «1 mS». Измерить с помощью осциллографа С1-75 период следования импульсов на выходе измерителя ПРОДОЛЖИТ.

Параметры сигнала на выходе измерителя, предназначенных для регистрации количества ошибок и перерывов связи, должны быть:

амплитуда (3,0 ± 0,6) В;

длительность, импульса отсчитанная по уровню 0,5 значения амплитуды, не менее 25 нс;

период следования импульсов при измерении продолжительности перерывов связи должен составлять (1,0 ± 0,2) мс и (300 ± 600) мс.

3 Оформление результатов поверки.

Средства измерений, удовлетворяющие требованиям настоящего руководящего документа, признаются годными к применению. Результаты поверки средств измерений оформляются их клеймением и выдачей свидетельств о поверке или же записью результатов поверки в эксплуатационных паспортах (или их дубликатах).

Средства измерений не удовлетворяющие требованиям настоящего руководящего документа, к дальнейшему применению не допускаются. На такие средства измерений выдаются извещения с указанием причин их непригодности к дальнейшей эксплуатации, гасятся клейма предыдущих поверок, а в эксплуатационных паспортах (или их дубликатах) делаются соответствующие записи.