Скачать РД 03112194-1098-03 Руководство по организации и выполнению услуг и работ по переводу на газ сжиженный нефтяной автотранспортных средств, находящихся в эксплуатацииДата актуализации: 01.01.2021
|
| Обозначение: | РД 03112194-1098-03 |
| Обозначение англ: | RD 03112194-1098-03 |
| Статус: | действует |
| Название рус.: | Руководство по организации и выполнению услуг и работ по переводу на газ сжиженный нефтяной автотранспортных средств, находящихся в эксплуатации |
| Дата добавления в базу: | 01.09.2013 |
| Дата актуализации: | 01.01.2021 |
| Дата введения: | 01.07.2004 |
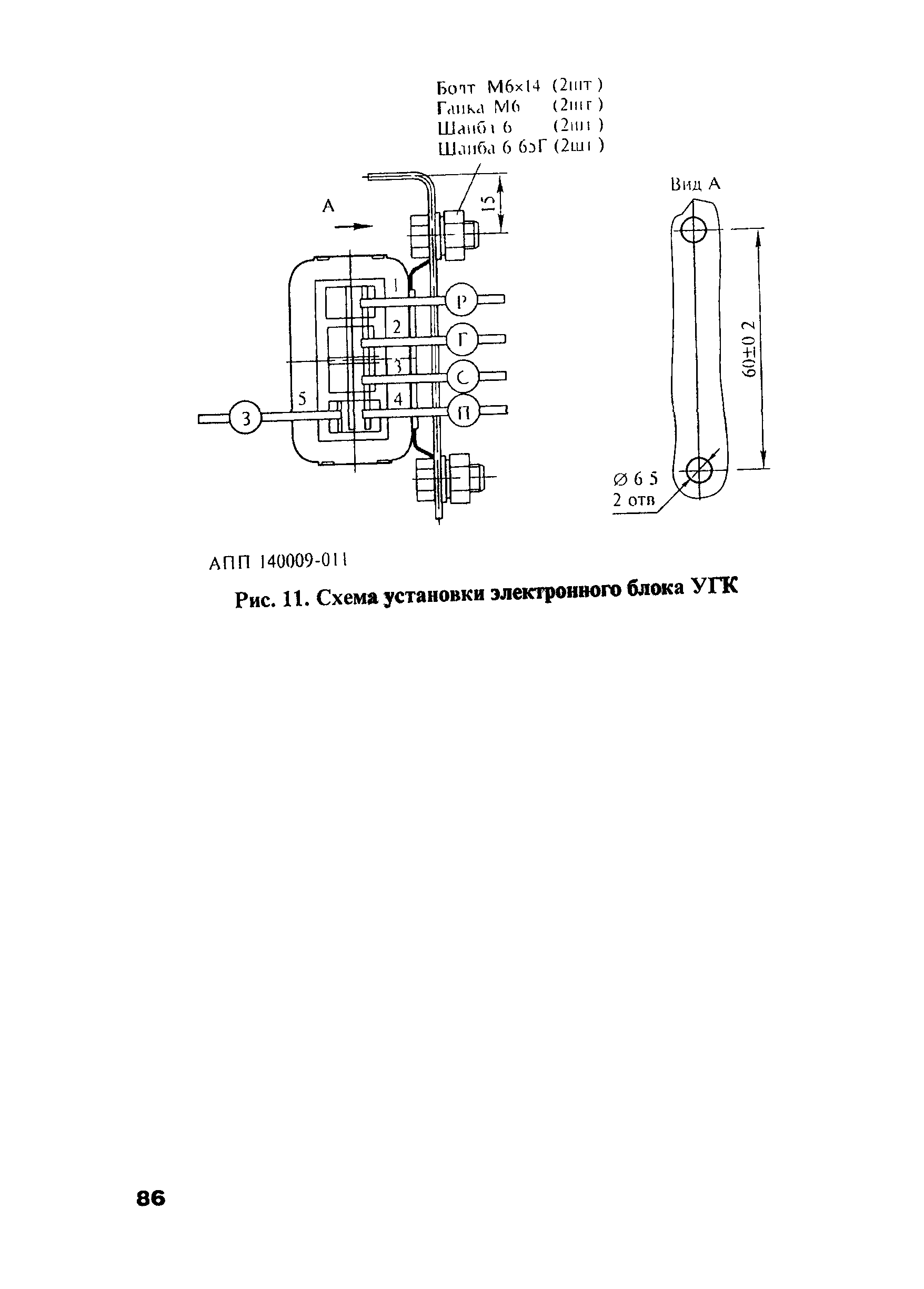
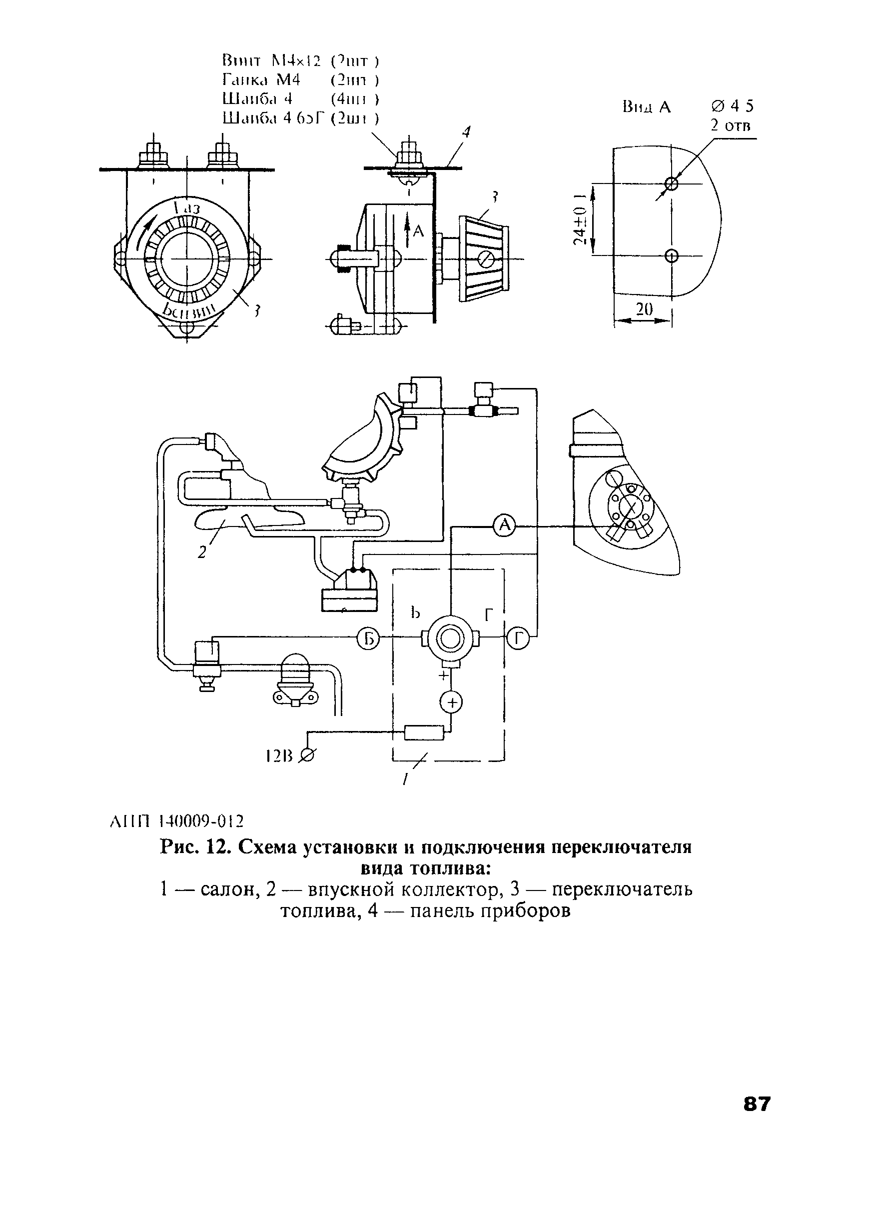
| Область применения: | В документе изложены: общие положения и требования к организации перевода базовых АТС для работы на ГСН и испытания их газотопливных систем; технические требования к АТС и газобалонному оборудованию, предъявляемые к ним при переводе на ГСН; правила приемки и выдачи АТС при установке газобалонного оборудования; типовая технология выполнения основных операций по установке ГБО на АТС и испытаний газотопливных систем; требования к квалификации персонала, выполняющего работы по установке ГБО и испытаниям газотопливных систем; вопросы безопасности при проведении работ по установке и испытаниям ГБО; требования к применяемому технологическому оборудованию, оснастке и инструменту. |
| Оглавление: | Список сокращений Введение 1 Общие положения 2 Организация перевода АТС в ГБТС, работающих на ГСН, и испытаний газотопливных систем 3 Организация предприятия (пункта) по переводу АТС для работы на ГСН и испытаний газотопливных систем 4 Технические требования к АТС при приемке на установку ГБО, выпуске после устновки и устанавливаемому газобалонному оборудованию 5 Правила приемки на установку ГБО и выдачи ГБТС после установки ГБО и испытаний газотопливных систем, приемо-сдаточная документация 6 Типовая технологическая последовательность и содержание операций по установке газобалонного оборудования для ГСН на АТС 7 Типовая методика испытаний газовой системы питания автотранспортных средств, работающих на ГСН 8 Правила техники безопасности при переводе автотранспортных средств для работы на ГСН 9 Оборудование, оснастка и инструмент, применяемые при переводе АТС для работы на КПГ и проведении испытаний газотопливных систем ГБТС 10 Требования к квалификации персонала, выполняющего работы по установке ГБО и испытаниям газотопливных систем ГБТС Приложения |
| Разработан: | НИИАТ |
| Утверждён: | 01.06.2003 Министерство транспорта РФ (Russian Federation Ministry of Transport ) |
| Принят: | 30.05.2003 Департамент автомобильного транспорта Минтранса России 25.05.2003 НИИАТ |
| Издан: | ФГУП НИИАТ (2005 г. ) |
| Заменяет собой: | |
| Нормативные ссылки: |
|





























































































