Скачать Серия 0.00-2.96с Выпуск 0-3. Мелкоблочные жилые здания. Материалы для проектированияДата актуализации: 01.01.2021
|
| Обозначение: | Серия 0.00-2.96с |
| Обозначение англ: | Series 0.00-2.96с |
| Статус: | не определен законодательством |
| Название рус.: | Выпуск 0-3. Мелкоблочные жилые здания. Материалы для проектирования |
| Дата добавления в базу: | 01.09.2013 |
| Дата актуализации: | 01.01.2021 |
| Дата введения: | 01.01.1997 |
| Дата окончания срока действия: | 30.06.2003 |
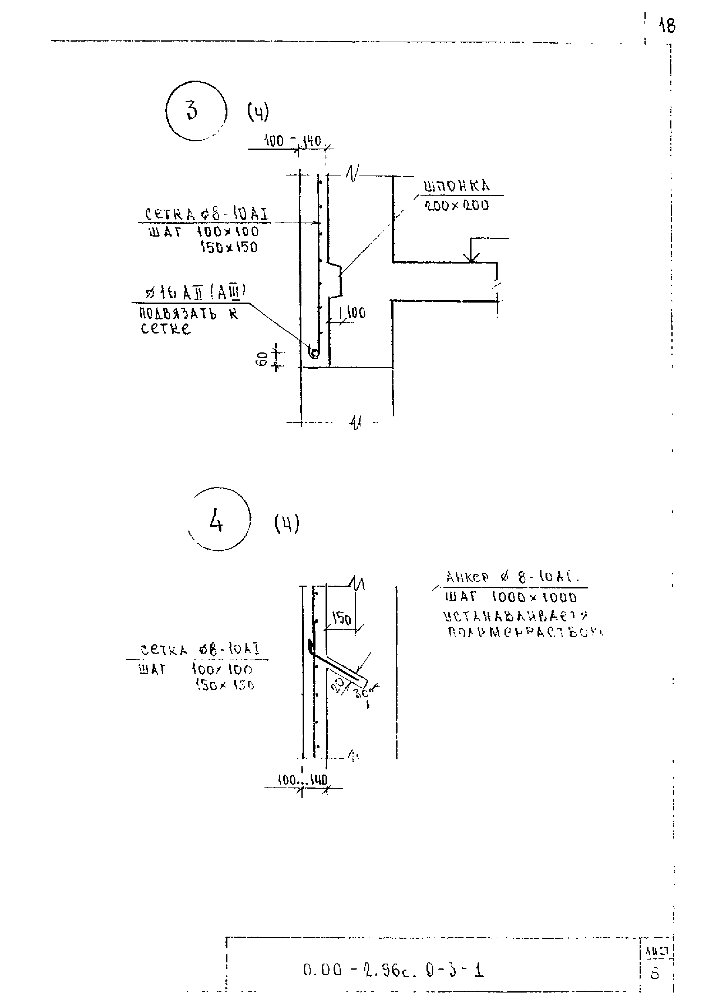
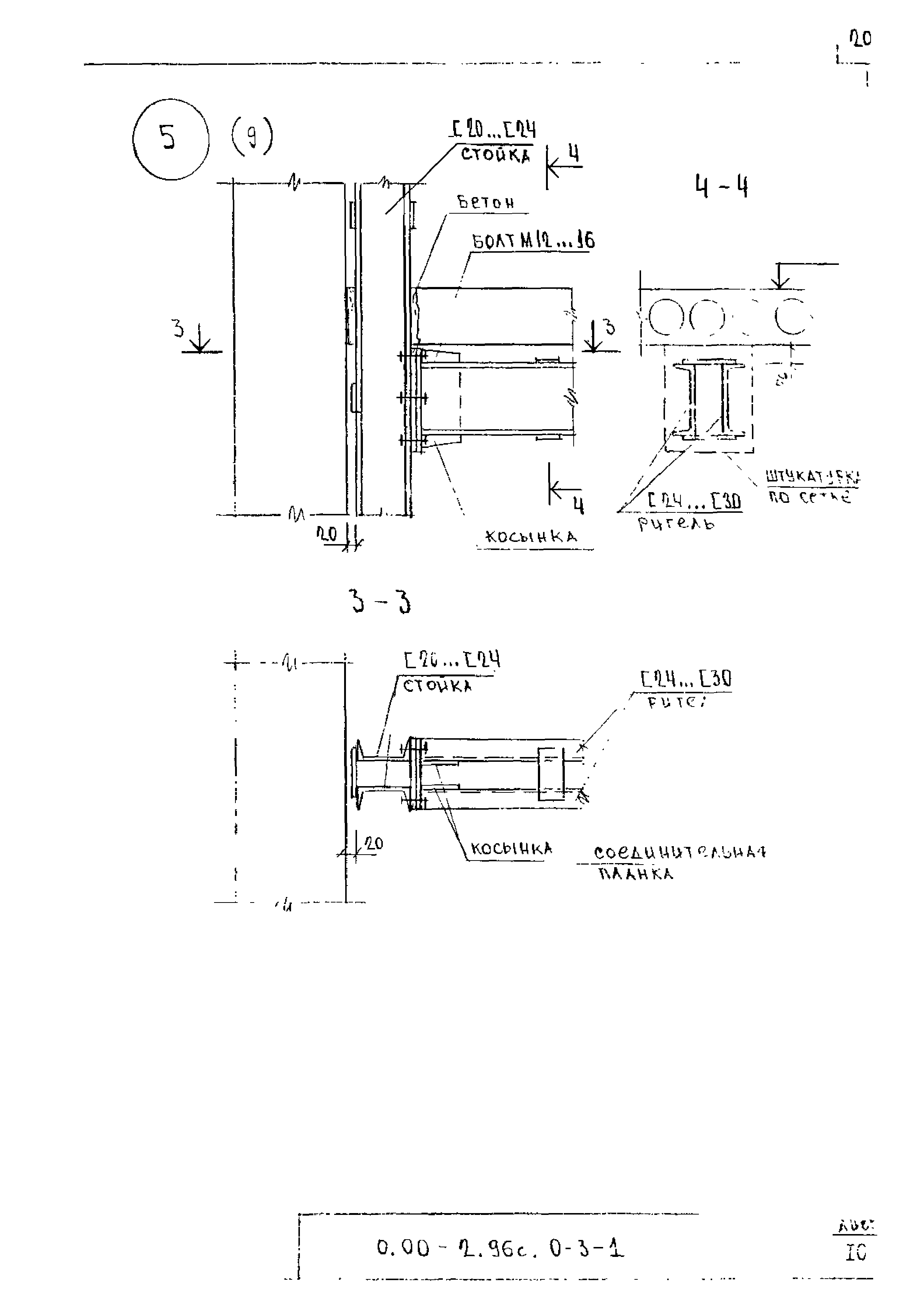
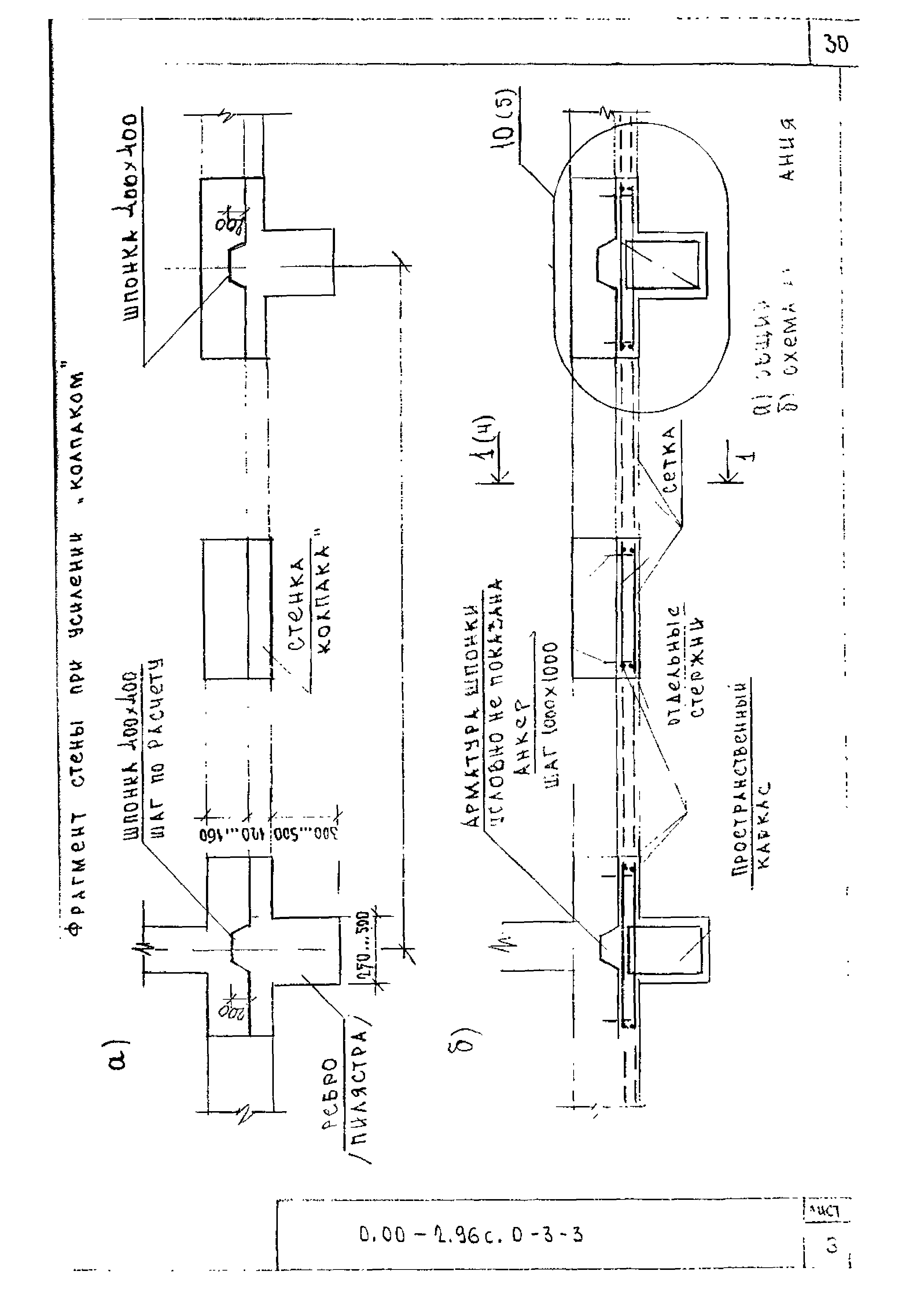
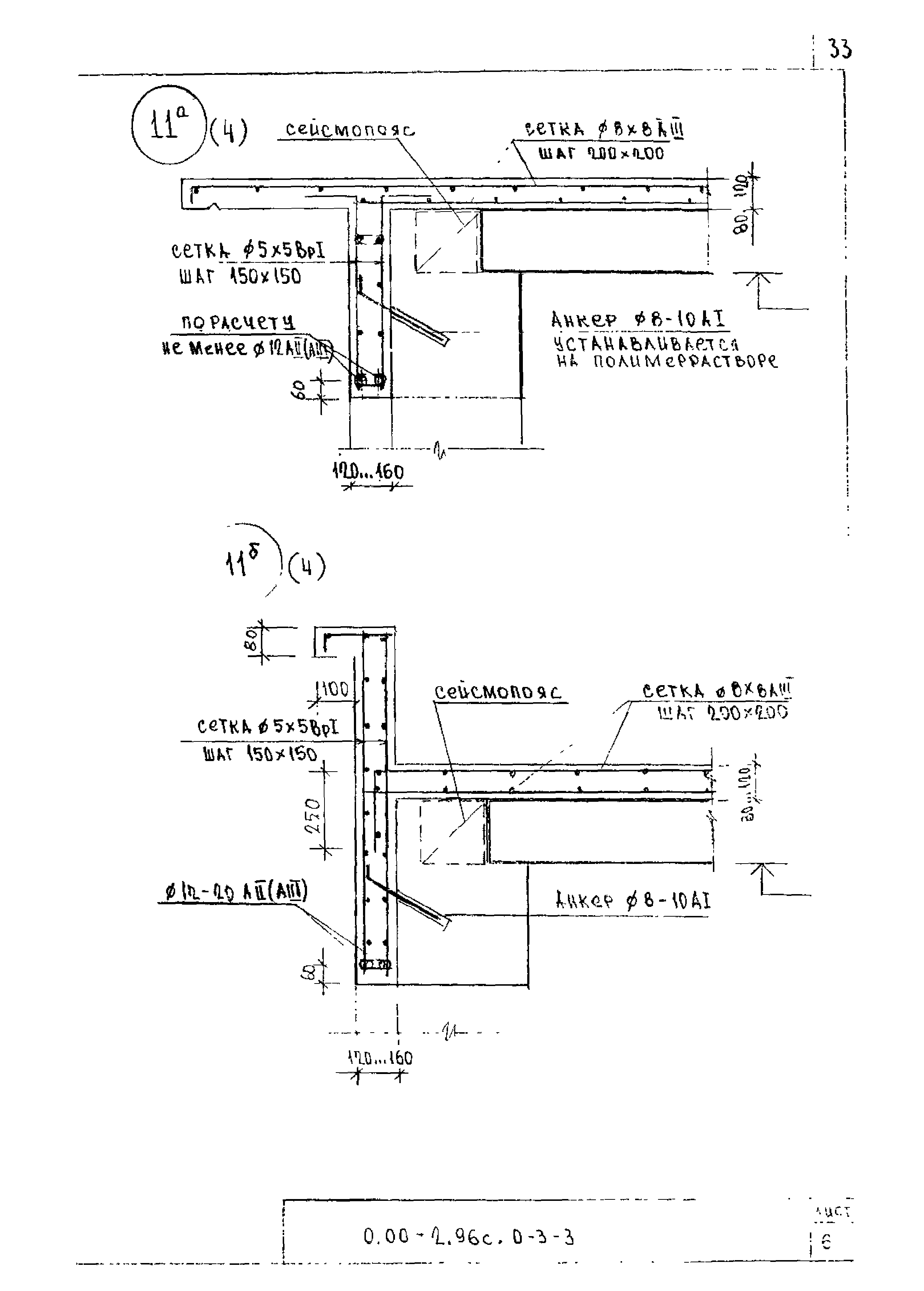
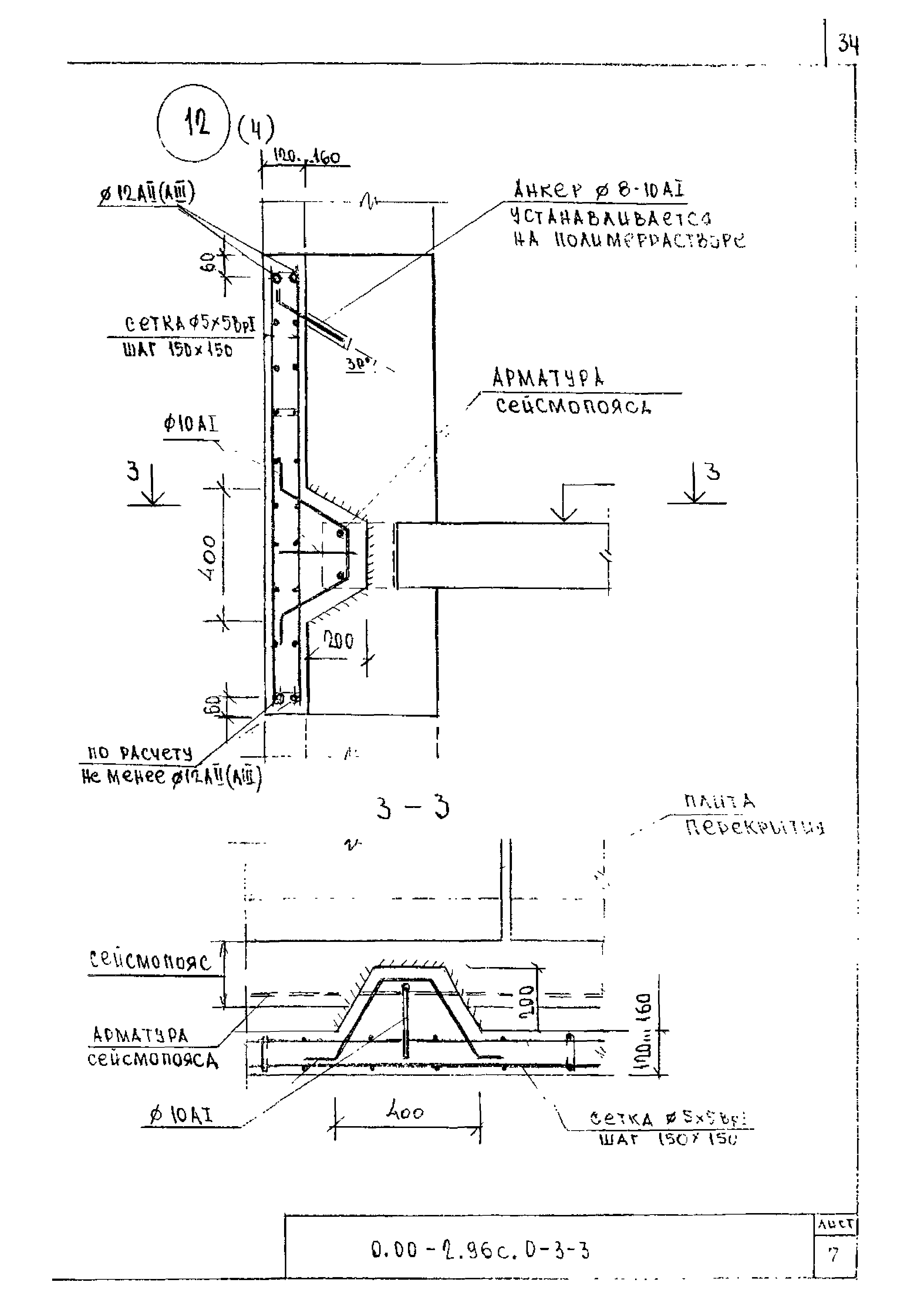
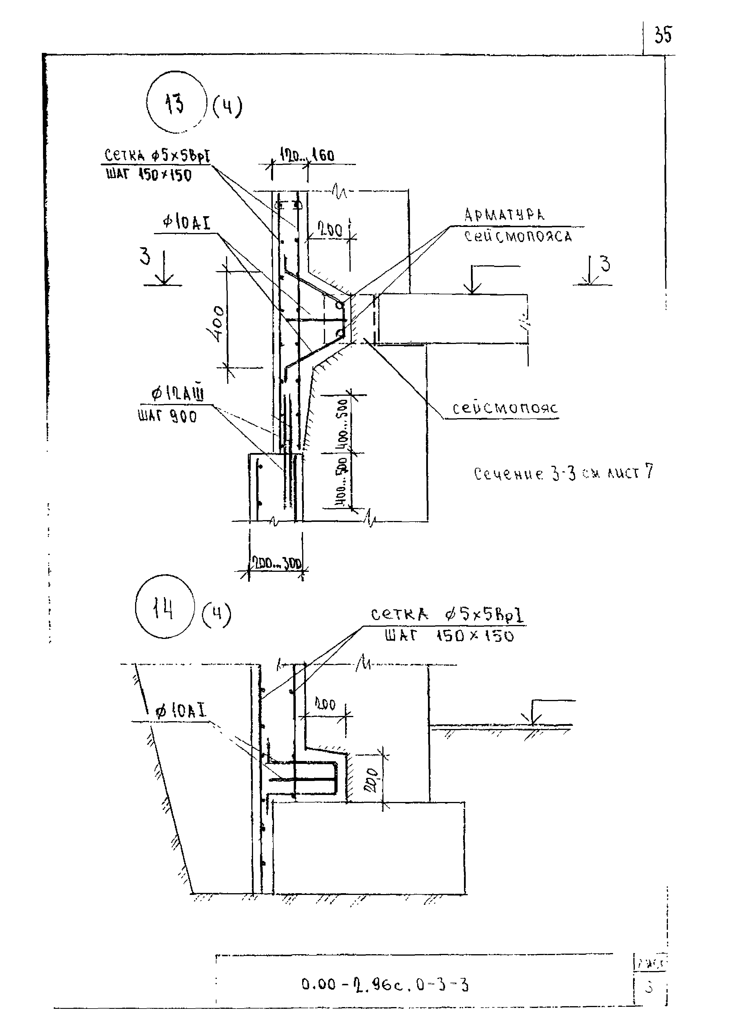
| Область применения: | Конструктивные решения по усилению мелкоблочных зданий приведенные в настоящем выпуске разработаны КБ по железобетону им Якушева и ГПИ "Камчатскгражданпроект" на примере застройки одного из дальневосточных регионов страны - Камчатки, наиболее остро нуждающегося в усилении зданий массовой застройки в связи с ожиданием сильных землетрясений. |
| Оглавление: | 0.00-2.96с.0-3-ПЗ Пояснительная записка 0.00-2.96с.0-3-1 Усиление аппликациями 0.00-2.96с.0-3-2 Усиление полной односторонней железобетонной рубашкой 0.00-2.96с.0-3-3 Усиление "колпаком" |
| Разработан: | КБ им. А.А. Якушева |
| Утверждён: | 02.12.1996 Департамент развития научно-технической политики и проектно-изыскательских работ Минстроя России (Department of Technical Research Policy and Design and Survey Operations, , Russian Federation Minstroy 9-1-1/123) |
| Нормативные ссылки: |


































