Скачать Серия 2.160-4 Выпуск 5. Сборные железобетонные чердачные крыши с теплым и холодным чердаками, с рулонной и безрулонной кровлями. Материалы для проектирования и рабочие чертежиДата актуализации: 01.01.2021
|
| Обозначение: | Серия 2.160-4 |
| Обозначение англ: | Series 2.160-4 |
| Статус: | действует |
| Название рус.: | Выпуск 5. Сборные железобетонные чердачные крыши с теплым и холодным чердаками, с рулонной и безрулонной кровлями. Материалы для проектирования и рабочие чертежи |
| Дата добавления в базу: | 01.09.2013 |
| Дата актуализации: | 01.01.2021 |
| Дата введения: | 01.09.1988 |
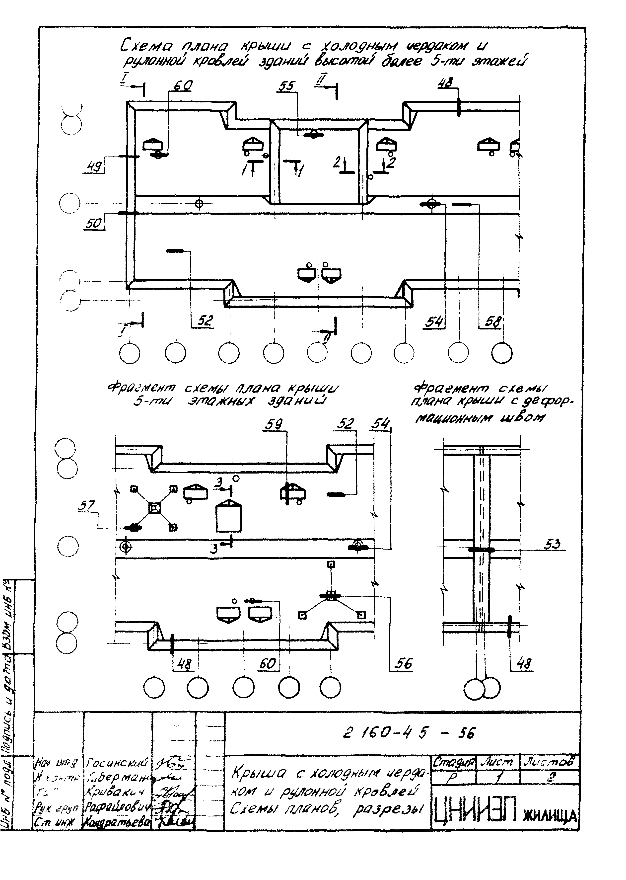
| Оглавление: | 2.160-4.5 Пояснительная записка 2.160-4.5-1 Узлы 1…12. Панельных, блочных и кирпичных зданий 2.160-4.5-2 Крыша с теплым чердаком и рулонной кровлей. Схемы планов, разрезы 2.160-4.5-3 Разрез 1-1. Панельных и блочных зданий 2.160-4.5-4 Разрез 1-1. Кирпичных зданий 2.160-4.5-5 Разрез 2-2. Панельных и блочных зданий 2.160-4.5-6 Разрез 2-2. Кирпичных зданий 2.160-4.5-7 Разрез 3-3. Панельных, блочных и кирпичных зданий 2.160-4.5-8 Узел 13 Блочных зданий 2.160-4.5-9 Узел 13 Кирпичных зданий 2.160-4.5-10 Узел 14 Блочных зданий 2.160-4.5-11 Узел 14 Кирпичных зданий 2.160-4.5-12 Узел 15, 15А Блочных зданий 2.160-4.5-13 Узел 15 Кирпичных зданий 2.160-4.5-14 Узел 16 Блочных и кирпичных зданий 2.160-4.5-15 Узел 17 Панельных, блочных и кирпичных зданий 2.160-4.5-16 Узел 18, 18А Панельных и блочных зданий 2.160-4.5-17 Узел 18 Кирпичных зданий 2.160-4.5-18 Узел 19 Панельных, блочных и кирпичных зданий 2.160-4.5-19 Узел 20 Панельных, блочных и кирпичных зданий 2.160-4.5-20 Узел 21 Панельных, блочных и кирпичных зданий 2.160-4.5-21 Узел 22 Панельных, блочных и кирпичных зданий 2.160-4.5-22 Узел 23 Панельных, блочных и кирпичных зданий 2.160-4.5-23 Узел 24 Панельных, блочных и кирпичных зданий 2.160-4.5-24 Узел 25 Кирпичных зданий 2.160-4.5-25 Узлы 26, 27 Панельных, блочных зданий 2.160-4.5-26 Узлы 28, 29 Кирпичных зданий 2.160-4.5-27 Узел 30 Панельных, блочных и кирпичных зданий 2.160-4.5-28 Узел 31 Блочных и кирпичных зданий 2.160-4.5-29 Крыши с теплым чердаком с безрулонной кровлей. Схемы планов, разрезы 2.160-4.5-30 Разрез 1-1. Панельных и блочных зданий 2.160-4.5-31 Разрез 1-1. Кирпичных зданий 2.160-4.5-32 Разрез 2-2. Панельных и блочных зданий 2.160-4.5-33 Разрез 2-2. Кирпичных зданий 2.160-4.5-34 Разрез 3-3. Панельных, блочных и кирпичных зданий 2.160-4.5-35 Разрез 4-4. Панельных, блочных и кирпичных зданий 2.160-4.5-36 Узел 32 Блочных зданий 2.160-4.5-37 Узел 32 Кирпичных зданий 2.160-4.5-38 Узел 33 Блочных зданий 2.160-4.5-39 Узел 33 Кирпичных зданий 2.160-4.5-40 Узел 34, 34А Блочных зданий 2.160-4.5-41 Узел 34 Кирпичных зданий 2.160-4.5-42 Узел 35 Панельных, блочных и кирпичных зданий 2.160-4.5-43 Узел 36 Панельных, блочных и кирпичных зданий 2.160-4.5-44 Узел 37 Панельных и блочных зданий 2.160-4.5-45 Узел 37 Кирпичных зданий 2.160-4.5-46 Узел 38 Панельных, блочных и кирпичных зданий 2.160-4.5-47 Узел 39 Панельных, блочных и кирпичных зданий 2.160-4.5-48 Узел 40 Панельных, блочных и кирпичных зданий 2.160-4.5-49 Узел 41 Панельных, блочных и кирпичных зданий 2.160-4.5-50 Узел 42 Панельных, блочных и кирпичных зданий 2.160-4.5-51 Узел 43 Панельных и блочных зданий 2.160-4.5-52 Узел 44 Кирпичных зданий 2.160-4.5-53 Узел 45 Панельных, блочных и кирпичных зданий 2.160-4.5-54 Узел 46 Панельных, блочных и кирпичных зданий 2.160-4.5-55 Узел 47 Панельных, блочных и кирпичных зданий с теплым чердаком 2.160-4.5-56 Крыша с холодным чердаком и рулонной кровлей. Схемы планов, разрезы 2.160-4.5-57 Разрез 1-1. Панельных и блочных зданий 2.160-4.5-58 Разрез 1-1. Кирпичных зданий 2.160-4.5-59 Разрез 2-2. Панельных и блочных зданий 2.160-4.5-60 Разрез 2-2. Кирпичных зданий 2.160-4.5-61 Разрез 3-3. Панельных, блочных и кирпичных зданий 2.160-4.5-62 Узел 48 Блочных зданий 2.160-4.5-63 Узел 48 Кирпичных зданий 2.160-4.5-64 Узел 49 Блочных зданий 2.160-4.5-65 Узел 49 Кирпичных зданий 2.160-4.5-66 Узел 50 Блочных зданий 2.160-4.5-67 Узел 50 Кирпичных зданий 2.160-4.5-68 Узел 51 Панельных, блочных и кирпичных зданий 2.160-4.5-69 Узел 52 Панельных, блочных и кирпичных зданий 2.160-4.5-70 Узел 53 Панельных и блочных зданий 2.160-4.5-71 Узел 53 Кирпичных зданий 2.160-4.5-72 Узел 54 Панельных, блочных и кирпичных зданий 2.160-4.5-73 Узел 55 Панельных, блочных и кирпичных зданий 2.160-4.5-74 Узел 56 Панельных, блочных и кирпичных зданий 2.160-4.5-75 Узел 57 Панельных, блочных и кирпичных зданий 2.160-4.5-76 Узел 58 Блочных и кирпичных зданий 2.160-4.5-77 Узел 59 Панельных, блочных и кирпичных зданий 2.160-4.5-78 Узел 60 Панельных, блочных и кирпичных зданий 2.160-4.5-79 Узел 61 Панельных и блочных зданий 2.160-4.5-80 Узел 62 Кирпичных зданий 2.160-4.5-81 Узел 63 Панельных, блочных и кирпичных зданий 2.160-4.5-82 Крыша с холодным чердаком и безрулонной кровлей. Схемы планов, разрезы 2.160-4.5-83 Разрез 1-1. Панельных и блочных зданий 2.160-4.5-84 Разрез 1-1. Кирпичных зданий 2.160-4.5-85 Разрез 2-2. Панельных и блочных зданий 2.160-4.5-86 Разрез 2-2. Кирпичных зданий 2.160-4.5-87 Разрез 3-3. Панельных, блочных и кирпичных зданий 2.160-4.5-88 Узел 64 Панельных и блочных зданий 2.160-4.5-89 Узел 64 Кирпичных зданий 2.160-4.5-90 Узел 65 Панельных и блочных зданий 2.160-4.5-91 Узел 65 Кирпичных зданий 2.160-4.5-92 Узел 66 Панельных и блочных зданий 2.160-4.5-93 Узел 66 Кирпичных зданий 2.160-4.5-94 Узел 67 Панельных, блочных и кирпичных зданий 2.160-4.5-95 Узел 68 Панельных, блочных и кирпичных зданий 2.160-4.5-96 Узел 69 Панельных и блочных зданий 2.160-4.5-97 Узел 69 Кирпичных зданий 2.160-4.5-98 Узел 70 Панельных, блочных и кирпичных зданий 2.160-4.5-99 Узел 71 Панельных, блочных и кирпичных зданий 2.160-4.5-100 Узел 72 Панельных, блочных и кирпичных зданий 2.160-4.5-101 Узел 73 Панельных, блочных и кирпичных зданий 2.160-4.5-102 Узел 74 Панельных, блочных и кирпичных зданий 2.160-4.5-103 Узел 75 Панельных, блочных и кирпичных зданий 2.160-4.5-104 Узел 76 Панельных, блочных и кирпичных зданий 2.160-4.5-105 Узел 77 Панельных и блочных зданий 2.160-4.5-106 Узел 78 Кирпичных зданий 2.160-4.5 Пояснительная записка 2.160-4.5-1 Узлы 1…12. Панельных, блочных и кирпичных зданий 2.160-4.5-2 Крыша с теплым чердаком и рулонной кровлей. Схемы планов, разрезы 2.160-4.5-3 Разрез 1-1. Панельных и блочных зданий 2.160-4.5-4 Разрез 1-1. Кирпичных зданий 2.160-4.5-5 Разрез 2-2. Панельных и блочных зданий 2.160-4.5-6 Разрез 2-2. Кирпичных зданий 2.160-4.5-7 Разрез 3-3. Панельных, блочных и кирпичных зданий 2.160-4.5-8 Узел 13 Блочных зданий 2.160-4.5-9 Узел 13 Кирпичных зданий 2.160-4.5-10 Узел 14 Блочных зданий 2.160-4.5-11 Узел 14 Кирпичных зданий 2.160-4.5-12 Узел 15, 15А Блочных зданий 2.160-4.5-13 Узел 15 Кирпичных зданий 2.160-4.5-14 Узел 16 Блочных и кирпичных зданий 2.160-4.5-15 Узел 17 Панельных, блочных и кирпичных зданий 2.160-4.5-16 Узел 18, 18А Панельных и блочных зданий 2.160-4.5-17 Узел 18 Кирпичных зданий 2.160-4.5-18 Узел 19 Панельных, блочных и кирпичных зданий 2.160-4.5-19 Узел 20 Панельных, блочных и кирпичных зданий 2.160-4.5-20 Узел 21 Панельных, блочных и кирпичных зданий 2.160-4.5-21 Узел 22 Панельных, блочных и кирпичных зданий 2.160-4.5-22 Узел 23 Панельных, блочных и кирпичных зданий 2.160-4.5-23 Узел 24 Панельных, блочных и кирпичных зданий 2.160-4.5-24 Узел 25 Кирпичных зданий 2.160-4.5-25 Узлы 26, 27 Панельных, блочных зданий 2.160-4.5-26 Узлы 28, 29 Кирпичных зданий 2.160-4.5-27 Узел 30 Панельных, блочных и кирпичных зданий 2.160-4.5-28 Узел 31 Блочных и кирпичных зданий 2.160-4.5-29 Крыши с теплым чердаком с безрулонной кровлей. Схемы планов, разрезы 2.160-4.5-30 Разрез 1-1. Панельных и блочных зданий 2.160-4.5-31 Разрез 1-1. Кирпичных зданий 2.160-4.5-32 Разрез 2-2. Панельных и блочных зданий 2.160-4.5-33 Разрез 2-2. Кирпичных зданий 2.160-4.5-34 Разрез 3-3. Панельных, блочных и кирпичных зданий 2.160-4.5-35 Разрез 4-4. Панельных, блочных и кирпичных зданий 2.160-4.5-36 Узел 32 Блочных зданий 2.160-4.5-37 Узел 32 Кирпичных зданий 2.160-4.5-38 Узел 33 Блочных зданий 2.160-4.5-39 Узел 33 Кирпичных зданий 2.160-4.5-40 Узел 34, 34А Блочных зданий 2.160-4.5-41 Узел 34 Кирпичных зданий 2.160-4.5-42 Узел 35 Панельных, блочных и кирпичных зданий 2.160-4.5-43 Узел 36 Панельных, блочных и кирпичных зданий 2.160-4.5-44 Узел 37 Панельных и блочных зданий 2.160-4.5-45 Узел 37 Кирпичных зданий 2.160-4.5-46 Узел 38 Панельных, блочных и кирпичных зданий 2.160-4.5-47 Узел 39 Панельных, блочных и кирпичных зданий 2.160-4.5-48 Узел 40 Панельных, блочных и кирпичных зданий 2.160-4.5-49 Узел 41 Панельных, блочных и кирпичных зданий 2.160-4.5-50 Узел 42 Панельных, блочных и кирпичных зданий 2.160-4.5-51 Узел 43 Панельных и блочных зданий 2.160-4.5-52 Узел 44 Кирпичных зданий 2.160-4.5-53 Узел 45 Панельных, блочных и кирпичных зданий 2.160-4.5-54 Узел 46 Панельных, блочных и кирпичных зданий 2.160-4.5-55 Узел 47 Панельных, блочных и кирпичных зданий с теплым чердаком 2.160-4.5-56 Крыша с холодным чердаком и рулонной кровлей. Схемы планов, разрезы 2.160-4.5-57 Разрез 1-1. Панельных и блочных зданий 2.160-4.5-58 Разрез 1-1. Кирпичных зданий 2.160-4.5-59 Разрез 2-2. Панельных и блочных зданий 2.160-4.5-60 Разрез 2-2. Кирпичных зданий 2.160-4.5-61 Разрез 3-3. Панельных, блочных и кирпичных зданий 2.160-4.5-62 Узел 48 Блочных зданий 2.160-4.5-63 Узел 48 Кирпичных зданий 2.160-4.5-64 Узел 49 Блочных зданий 2.160-4.5-65 Узел 49 Кирпичных зданий 2.160-4.5-66 Узел 50 Блочных зданий 2.160-4.5-67 Узел 50 Кирпичных зданий 2.160-4.5-68 Узел 51 Панельных, блочных и кирпичных зданий 2.160-4.5-69 Узел 52 Панельных, блочных и кирпичных зданий 2.160-4.5-70 Узел 53 Панельных и блочных зданий 2.160-4.5-71 Узел 53 Кирпичных зданий 2.160-4.5-72 Узел 54 Панельных, блочных и кирпичных зданий 2.160-4.5-73 Узел 55 Панельных, блочных и кирпичных зданий 2.160-4.5-74 Узел 56 Панельных, блочных и кирпичных зданий 2.160-4.5-75 Узел 57 Панельных, блочных и кирпичных зданий 2.160-4.5-76 Узел 58 Блочных и кирпичных зданий 2.160-4.5-77 Узел 59 Панельных, блочных и кирпичных зданий 2.160-4.5-78 Узел 60 Панельных, блочных и кирпичных зданий 2.160-4.5-79 Узел 61 Панельных и блочных зданий 2.160-4.5-80 Узел 62 Кирпичных зданий 2.160-4.5-81 Узел 63 Панельных, блочных и кирпичных зданий 2.160-4.5-82 Крыша с холодным чердаком и безрулонной кровлей. Схемы планов, разрезы 2.160-4.5-83 Разрез 1-1. Панельных и блочных зданий 2.160-4.5-84 Разрез 1-1. Кирпичных зданий 2.160-4.5-85 Разрез 2-2. Панельных и блочных зданий 2.160-4.5-86 Разрез 2-2. Кирпичных зданий 2.160-4.5-87 Разрез 3-3. Панельных, блочных и кирпичных зданий 2.160-4.5-88 Узел 64 Панельных и блочных зданий 2.160-4.5-89 Узел 64 Кирпичных зданий 2.160-4.5-90 Узел 65 Панельных и блочных зданий 2.160-4.5-91 Узел 65 Кирпичных зданий 2.160-4.5-92 Узел 66 Панельных и блочных зданий 2.160-4.5-93 Узел 66 Кирпичных зданий 2.160-4.5-94 Узел 67 Панельных, блочных и кирпичных зданий 2.160-4.5-95 Узел 68 Панельных, блочных и кирпичных зданий 2.160-4.5-96 Узел 69 Панельных и блочных зданий 2.160-4.5-97 Узел 69 Кирпичных зданий 2.160-4.5-98 Узел 70 Панельных, блочных и кирпичных зданий 2.160-4.5-99 Узел 71 Панельных, блочных и кирпичных зданий 2.160-4.5-100 Узел 72 Панельных, блочных и кирпичных зданий 2.160-4.5-101 Узел 73 Панельных, блочных и кирпичных зданий 2.160-4.5-102 Узел 74 Панельных, блочных и кирпичных зданий 2.160-4.5-103 Узел 75 Панельных, блочных и кирпичных зданий 2.160-4.5-104 Узел 76 Панельных, блочных и кирпичных зданий 2.160-4.5-105 Узел 77 Панельных и блочных зданий 2.160-4.5-106 Узел 78 Кирпичных зданий |
| Разработан: | ЦНИИЭП жилища |
| Утверждён: | 10.08.1988 Госкомархитектура (230) |
| Издан: | ЦИТП Госстроя СССР (CITP, Gosstroy (USSR) 1988 г. ) |












































































































































