Скачать Рекомендации по строительству механизированных хранилищ минеральных удобрений, затаренных в мягкие контейнерыДата актуализации: 01.01.2021 |
| Статус: | действует |
| Название рус.: | Рекомендации по строительству механизированных хранилищ минеральных удобрений, затаренных в мягкие контейнеры |
| Дата добавления в базу: | 01.09.2013 |
| Дата актуализации: | 01.01.2021 |
| Дата введения: | 04.12.1981 |
| Область применения: | Рекомендации содержат основные положения по строительству и эксплуатации хранилищ (открытых площадок) вместимостью 200; 400; 800; 1200; 1600; 2000; 2500 и 3200 т твердых минеральных удобрений в контейнерах. |
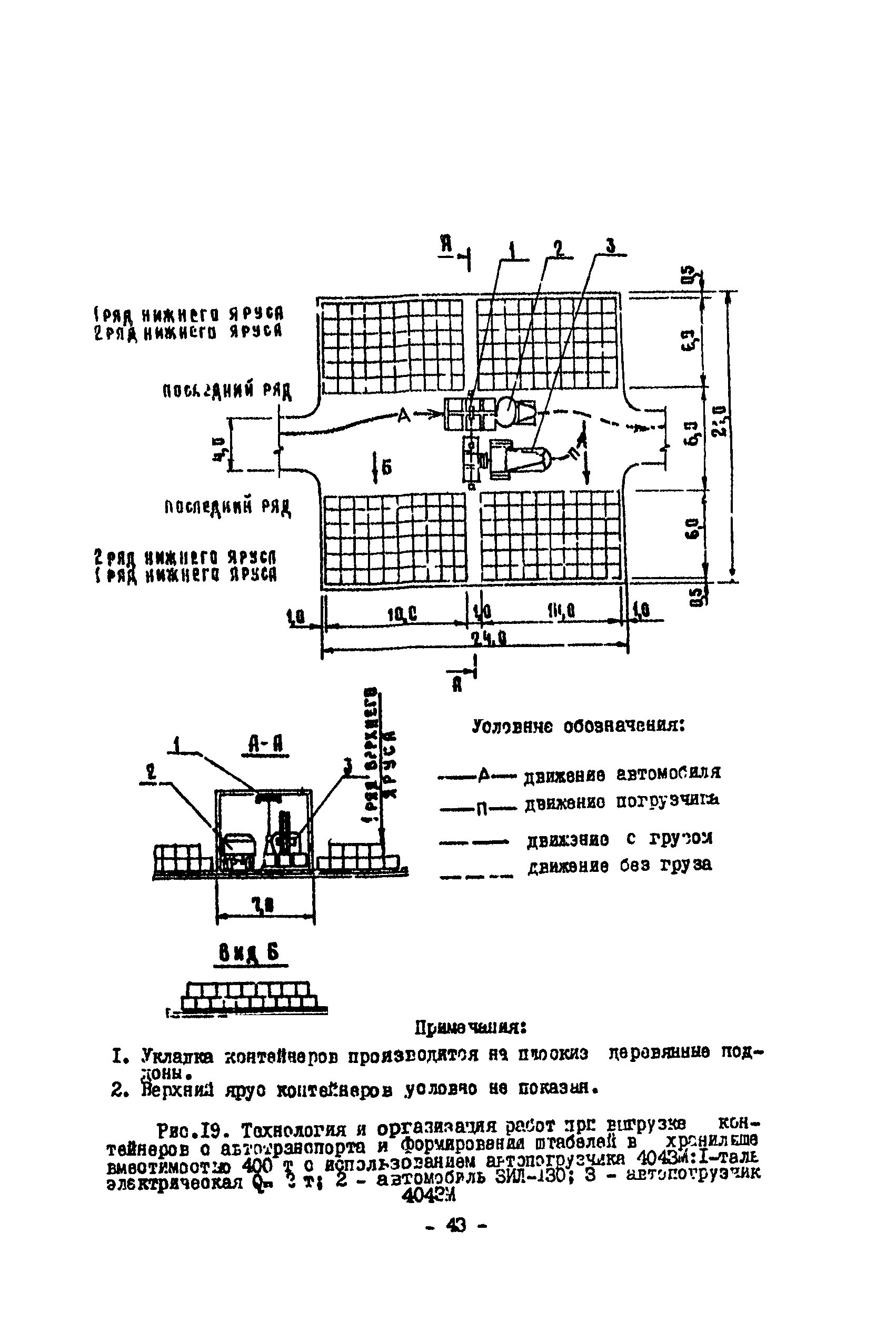
| Оглавление: | 1 Применение мягких контейнеров для транспортировки и хранения минеральных удобрений 2 Мягкий контейнер МКР-1,0М и условия его эксплуатации 3 Организация приема и хранения удобрений в контейнерах на прирельсовых базах 4 Типовые решения хранилищ удобрений в контейнерах 5 Назначение, номенклатура и общие требования к размещению и эксплуатации открытых площадок 6 Технология и организация работ с мягкими контейнерами на открытых площадках 7 Организация и технология строительства хранилищ 8 Мероприятия по охране труда и технике безопасности при строительстве и эксплуатации хранилищ |
| Разработан: | ГипроНИсельхоз (Институт Гипронисельхоз ) НИПТИМЭСХ НЗ РСФСР ЦЭЛХИМ |
| Утверждён: | 04.12.1981 Министерство сельского хозяйства СССР (USSR Ministry of Agriculture ) |
| Принят: | 13.11.1981 Минздрав СССР (USSR Minzdrav ) 07.09.1981 ГУПО МВД СССР (GUPO, USSR Ministry of Internal Affairs ) |
| Нормативные ссылки: |
|


























































