Скачать Рекомендации по использованию нетрадиционных источников энергии в животноводстве, кормопроизводстве, крестьянских хозяйствах и сельском жилом сектореДата актуализации: 01.01.2021 |
| Статус: | действует |
| Название рус.: | Рекомендации по использованию нетрадиционных источников энергии в животноводстве, кормопроизводстве, крестьянских хозяйствах и сельском жилом секторе |
| Дата добавления в базу: | 01.09.2013 |
| Дата актуализации: | 01.01.2021 |
| Дата введения: | 11.09.2003 |
| Область применения: | Рекомендации предназначены для создания эффективных технических решений по применению нетрадиционных источников энергии в сельскохозяйственном производстве и сельском жилом фонде. |
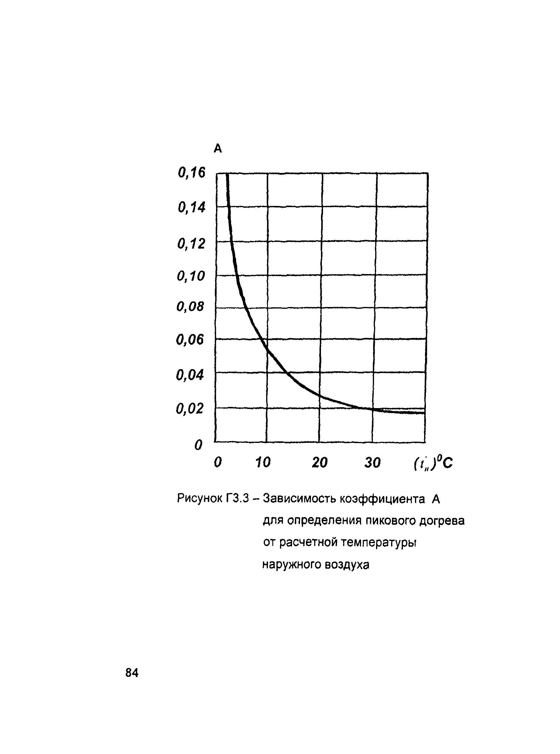
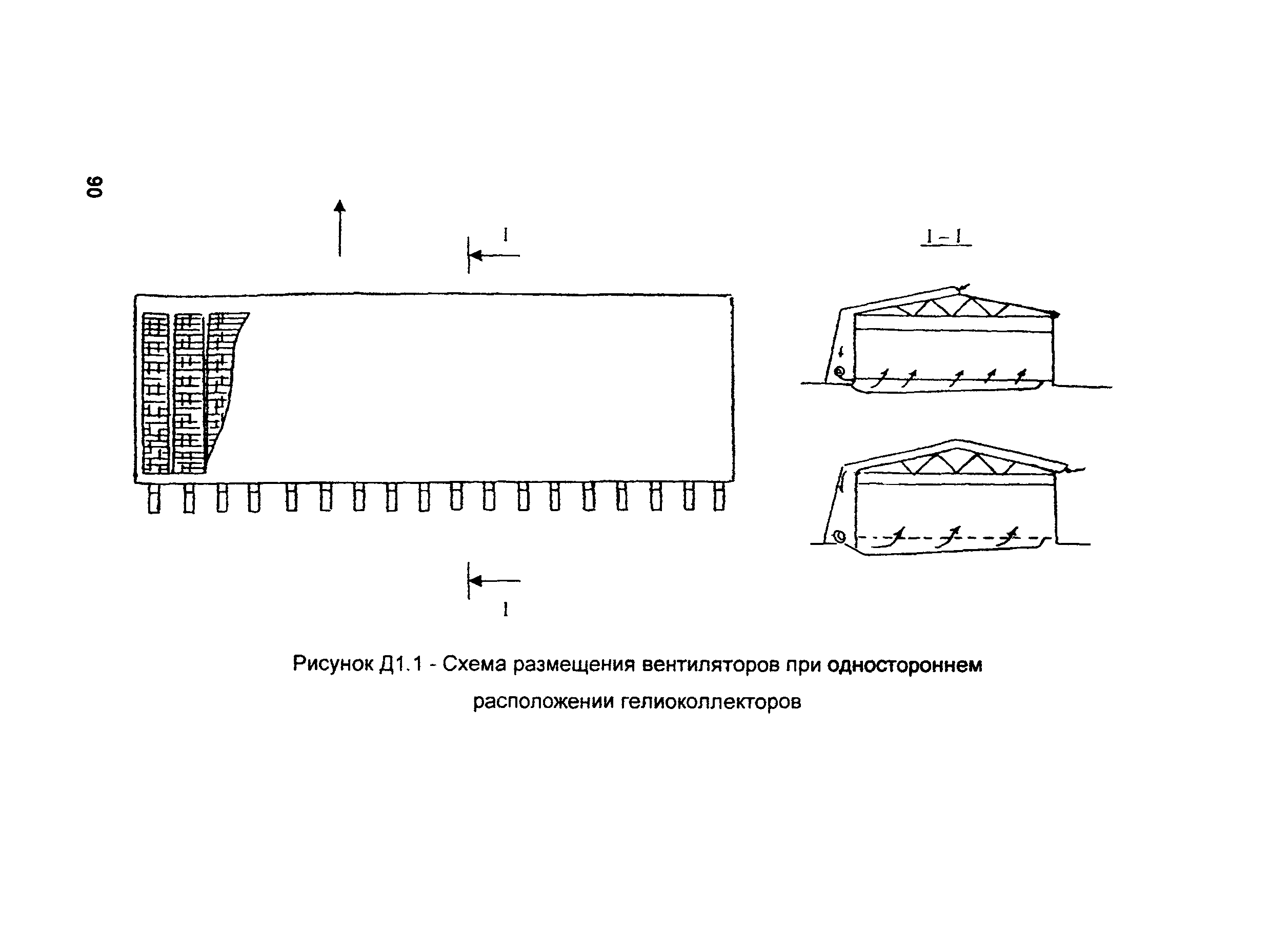
| Оглавление: | Введение 1 Общие положения 2 Нормативные ссылки 3 Рекомендации по использованию солнечной радиации 4 Рекомендации по использованию энергии ветра 5 Использование геотермальных вод 6 Рекомендации по проектированию систем утилизации вторичного тепла применительно к животноводческим зданиям 7 Экономическая эффективность использования нетрадиционных источников энергии в сельском хозяйстве Приложение А. Средние многолетние показатели суммарной солнечной радиации, показатели ветрового режима и распространение перспективных месторождений терминальных вод на территории России Приложение Б. Графики для определения оптимального угла наклона поверхности, суммарной солнечной радиации при различной ориентации и разных углов наклона гелиоколлектора Приложение В. Характеристики материалов и агрегатов, применяемых при использовании нетрадиционных источников энергии Приложение Г. Методики теплотехнического расчета Приложение Д. Технологические схемы использования нетрадиционных источников энергии Приложение Е. Форма расчета показателей экономической эффективности |
| Разработан: | Гипронисельхоз Минсельхоза СССР ГНУ ВИЭСХ |
| Утверждён: | 11.09.2003 Минсельхоз России (Russian Federation Minselkhoz 24) |
| Издан: | Гипронисельхоз (2003 г. ) |
| Нормативные ссылки: |
|











































































































