Скачать Отраслевой руководящий документ. Техническая эксплуатация железобетонных конструкций производственных зданий. Часть II

Дата актуализации: 01.01.2021

Отраслевой руководящий документ. Техническая эксплуатация железобетонных конструкций производственных зданий. Часть II

Статус:действует
Название рус.:Отраслевой руководящий документ. Техническая эксплуатация железобетонных конструкций производственных зданий. Часть II
Дата добавления в базу:01.09.2013
Дата актуализации:01.01.2021
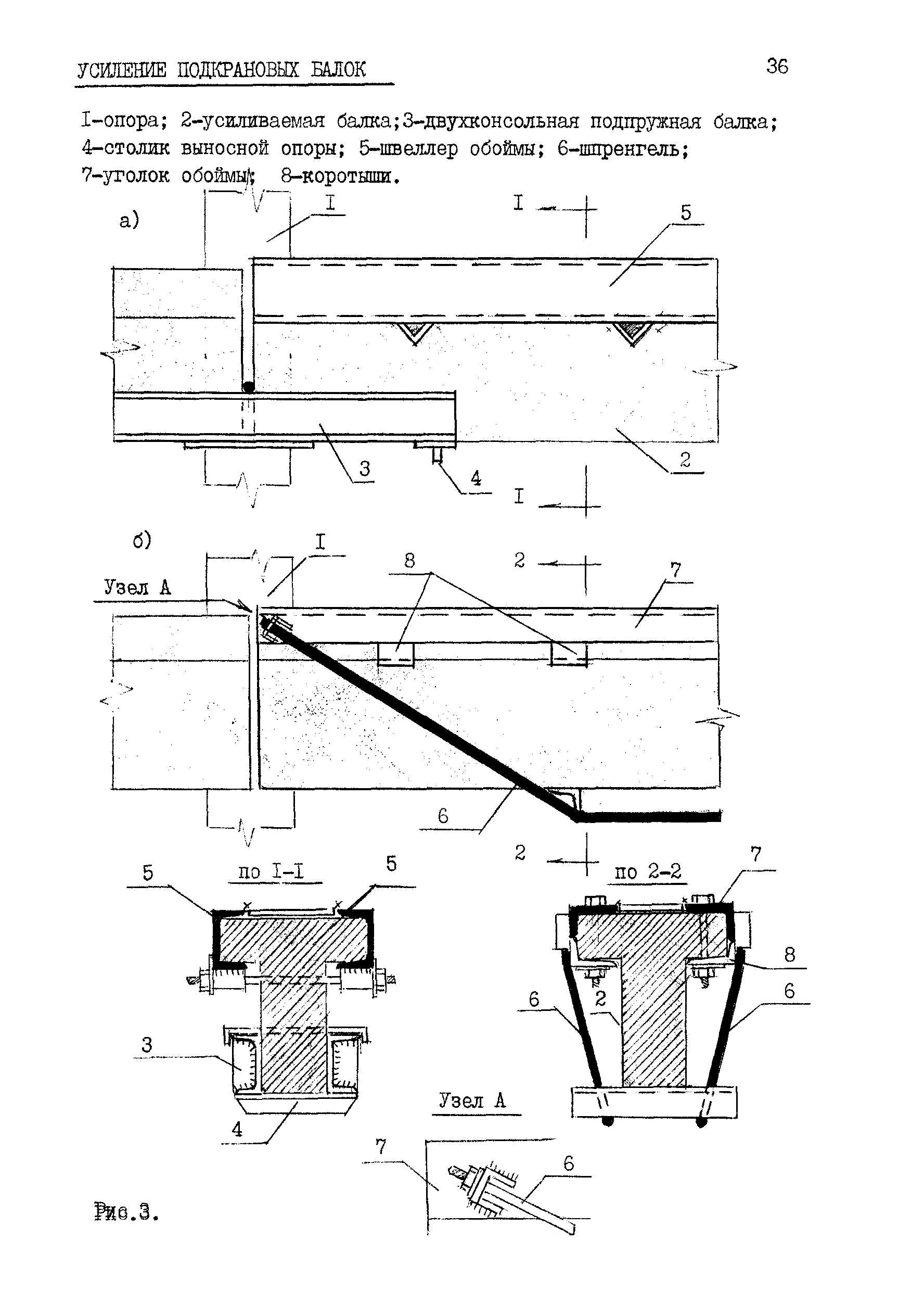
Область применения:Требования к материалам обследования железобетонных конструкций. Рекомендации по усилению железобетонных конструкций. Выполнение локальных ремонтно-восстановительных работ.
Оглавление:Введение
1 Обследование железобетонных конструкций
2 Усиление железобетонных конструкций металлом
3 Выполнение работ по усилению конструкций
Разработан: Харьковский Промстройниипроект
Утверждён:30.07.1993 Комитет Российской Федерации по металлургии
Принят:28.06.1993 Отдел содержания основных фондов Комитета РФ по металлургии
Нормативные ссылки: