КОМИТЕТ РОССИЙСКОЙ ФЕДЕРАЦИИ ПО МЕТАЛЛУРГИИ
|
УТВЕРЖДАЮ: Заместитель Председателя Комитета РФ «____» _________ 1993 г. ________ Л.К. Антоненко |
ОТРАСЛЕВОЙ РУКОВОДЯЩИЙ ДОКУМЕНТ
ТЕХНИЧЕСКАЯ
ЭКСПЛУАТАЦИЯ
ЖЕЛЕЗОБЕТОННЫХ КОНСТРУКЦИЙ
ПРОИЗВОДСТВЕННЫХ ЗДАНИЙ.
ЧАСТЬ II
г. Москва 1993 г.
Отраслевой руководящий документ согласован
Начальник Отдела содержания основных фондов Комитета РФ по металлургии
«____» _______________ 1993 г.
И.А. Иванов
СОДЕРЖАНИЕ
Часть II Отраслевого руководящего документа «Техническая эксплуатация железобетонных конструкций производственных зданий» является продолжением части I указанного документа и содержит следующие разделы:
Обследование железобетонных конструкций.
Усиление железобетонных конструкций металлом.
Выполнение работ по усилению конструкций.
Документ содержит методику обследования железобетонных конструкций, созданную многолетним опытом практической деятельности научно-исследовательской лабораторией по усилению конструкций института Харьковский ПромстройНИИпроект.
В документе даются рекомендации по усилению железобетонных конструкций металлом, как наиболее эффективном усилении, оправдавшим себя в металлургической отрасли по эксплуатационной надежности, и даются основные положения выполнения работ, связанных с усилением конструкций.
Документ предназначен для служб технического надзора и ремонта промышленных предприятий, конструкторских отделов предприятий, специализированных научно-исследовательских организаций, специализирующихся на проведении обследований.
Документ разработан научной частью проектного и научно-исследовательского института Харьковский ПромстройНИИпроект.
Принимали участие в разработке специалисты следующих организаций: НИИЖБа, Комитета РФ по металлургии, Научно-инженерной Ассоциации ЭРКОН, ЧТБ Новые технологии, Экспертно-консультативного центра «Металлург».
1.1. Обследования железобетонных конструкций должны выполняться научно-исследовательскими институтами, ВУЗами и их подразделениями и другими специализированными организациями, имеющими лицензию на данный вид деятельности.
1.2. Обследования выполняются на основе технического задания, утвержденного заказчиком. В задании должен быть указан состав работ, включая виды конструкций, подлежащие обследованию, и основные задачи, решаемые по результатам обследований. Такими задачами являются:
- данные о дефектах и повреждениях конструкций для выполнения ремонтно-восстановительных работ;
- оценка технического состояния конструкций;
- рекомендации по восстановлению и усилению конструкций для разработки рабочих чертежей;
- данные о возможности использования конструкций при изменении условий эксплуатации (нагрузки, агрессивные воздействия и др.);
- данные о конструкциях в связи с намечающейся реконструкцией.
1.3. На основании материалов обследований, независимо от решаемых задач, определяется вид технического состояния конструкций.
1.4. Организации, выполняющие обследования, с учетом характера повреждений устанавливают необходимость инженерно-геологических изысканий и исследования грунтов оснований в случаях:
- выявлены деформации и смещения фундаментов или других строительных конструкций, причиной которых являлись неравномерные осадки основания сооружений;
- нагрузки на фундаменты увеличились после замены оборудования или реконструкции; устраиваются новые, либо ликвидируются старые подвальные помещения, вблизи существующих зданий возводятся новые здания;
- установлено воздействие на основание и фундаменты агрессивных жидкостей (кислоты, щелочи) и высоких технологических температур;
- происходит или прогнозируется изменение гидрогеологического режима территории.
1.5. Рабочая программа по обследованию составляется организацией, выполняющей обследование на основе задания, после чего согласовывается или утверждается заказчиком.
1.6. Работы по обследованию конструкций включают подготовительные работы:
- подбор и анализ технической документации по объекту;
- ознакомление с объектом, предварительный осмотр конструкций;
- выявление возможных аварийных ситуаций;
- составление рабочей программы, устанавливающий объем работ.
Обследования включают следующие работы:
- натурное освидетельствование конструкций;
- измерение параметров эксплуатационных сред;
- отбор образцов и проб на объектах обследования;
- лабораторные испытания и анализ образцов и проб материалов конструкций;
- определение нагрузок воздействий и условий эксплуатации.
Могут вводиться:
- испытания конструкций в натурных условиях;
- длительные наблюдения за состоянием конструкций.
1.7. Натурные освидетельствования строительных конструкций содержат:
- инженерно-строительные обмеры конструкций;
- выяснение всех видов дефектов и повреждений;
- составление дефектных ведомостей;
- определение характеристик материалов и конструкций неразрушающими методами.
1.8. Оценка технического состояния конструкций включает:
- определение расчетных характеристик материалов конструкций;
- выбор расчетной схемы с учетом фактического выполнения конструкций, их узлов и сопряжений;
- оценка влияния выявленных при обследовании дефектов и повреждений на несущую способность, эксплуатационные свойства и долговечность конструкций;
- поверочные расчеты;
- определение технического состояния конструкций в соответствии с классификацией технических состояний (по части I данного ОРД).
1.9. В состав работ по обследованию оснований входят:
- инженерно-геологические изыскания;
- инженерно-технические изыскания;
- инженерно-гидрометеорологического изыскания;
- анализ материалов инженерных изысканий.
1.10 Обследования проводятся в два этапа: предварительное обследование и детальное обследование (см. п. 1.6). Предварительное обследование включает подготовительные работы. В процессе выполнения подготовительных работ решается вопрос о целесообразности детальных обследований.
1.11 Проектная, строительная, изыскательская и эксплуатационная документация на этапе подготовительных работ анализируется.
На основе этого анализа устанавливаются:
- паспортные данные, отрасль промышленности обследуемого сооружения, название предприятия, название обследуемого сооружения, организации-исполнители инженерных изысканий, технологической и строительной части проекта, заводы-изготовители конструкций, даты проектирования, возведения и сдачи объекта в эксплуатацию;
- сведения о материалах конструкций, необходимые для расчета (марки, классы и пр.);
- расчетные нагрузки и воздействия;
- расчетные схемы;
- сведения о конструктивных решениях;
- планы, разрезы, монтажные схемы, чертежи покрытий и перекрытий; чертежи стеновых панелей и пр.;
- сведения об основаниях, о неравномерных деформациях;
- основные данные о воздействиях технологических процессов, размещенных в сооружениях производств, и данные о технологическом оборудовании, передающем нагрузки на конструкции;
- основные данные о внутрицеховой и внутризаводской среде (температурно-влажностный режим, наличие агрессивных выделений по отношению к конструкциям из конкретных материалов, интенсивность и состав пылевыделения);
- данные о фактически реализуемых нагрузках, схемах их передачи, о фактических режимах работы подъемно-транспортного и др. оборудования (в т.ч. не предусмотренные проектом);
- данные о природно-климатических экстремальных нагрузках и воздействиях на строительные конструкции, реализованные в период эксплуатации (снег, ветер, землетрясения, значительная отрицательная температура, подтопление и пр.);
- данные о нарушении правил эксплуатации сооружения, работы кранов и др. оборудования;
- сведения о наиболее существенных дефектах и повреждениях конструкций, их отклонениях от проектного положения, о деформациях, обнаруженных в процессе эксплуатации и предшествующих осмотрах и обследованиях, а также сведения о вероятных причинах этих дефектов и повреждений;
- сведения о предшествующих обследованию реконструкциях, усилениях, ремонтах;
Объем исходной информации меняется в зависимости от задач обследования.
1.12. На основании материалов проекта устанавливается степень соответствия принятых проектных решений нормам, действовавшим на момент обследования, а материалов и деталей конструкций стандартам, действовавшим во время строительства.
Важно обратить внимание на решения, принимавшиеся на основе положений нормативных документов (расчетные характеристики, правила расчета, правила конструирования и пр.), действовавших во время разработки проекта, измененных или отмененных впоследствии.
Оценке подлежат следующие основные конструктивные характеристики сооружения:
- пространственная жёсткость и общая устойчивость;
- соответствие расчету по предельным состояниям первой и второй группы отдельных элементов и конструкций;
- надёжность решения узлов, стыковых сопряжений и их деталей (площадки опирания, сварные швы, анкеровка закладных деталей, выпусков арматуры и пр.);
- соответствие конструкций фундаментов особенностям конструктивной системы здания и инженерно-геологическим условиям строительной площадки;
- стойкость конструкций к механическим, температурным, влажностным и химическим агрессивным воздействиям;
- соответствие здания и отдельных конструкций категории взрывопожарной и пожарной опасности технологических процессов, размещённых в помещениях.
1.13. При ознакомлении с объектом обследования и предварительном осмотре конструкций следует:
- выявить соответствие проектного и фактического объёмно-планировочного и конструктивного решения;
- произвести оценку особенностей эксплуатационных воздействий и нагрузок (наличие и характер агрессивных сред, влаги, пыли, температурных воздействий, динамических нагрузок и пр.);
- установить участки, подвергающиеся наиболее интенсивным воздействиям определенного вида или их сочетанию;
- установить необходимость проведения детального обследования;
- выявить способ доступа к конструкциям для осмотра и отбора образцов и проб при детальном обследовании;
- установить необходимость устройства подмостей или специальных приспособлений и определить состав и объём других подготовительных работ (отрывка шурфов и пр.);
- выполнить предварительную оценку технического состояния и, в случае необходимости, до окончательного решения вопроса о техническом состоянии конструкций, принять решение о первоочередных мероприятиях;
- наметить меры по обеспечению условий безопасного ведения работ по обследованию;
- составить программу детального обследования;
- разбить на зоны намечаемый к обследованию объект.
Разбивка на зоны, при предварительном обследовании сооружений осуществляется по следующим основным признакам:
- по геометрическим размерам (в плане, по высоте), по пролётам, по числу осей в пролете;
- по материалам конструкций;
- по виду конструкций и их фундаментальному назначению (балки, колонны, стены, фермы и пр.);
- по распределению эксплуатационных воздействий на строительные конструкции в объеме сооружения.
1.14. В случаях сильного загрязнения конструкций, подлежащих обследованию, заказчик по заданию исполнителя обеспечивает очистку.
1.15. На основании анализа техдокументации и общего ознакомления с объектом составляется рабочая программа детального обследования, включающая:
- цель выдачи обследования;
- конкретный состав работ по обследованию (в зависимости от задач обследования качества проектной техдокументации; условий эксплуатации и пр.);
- методику выполнения работ;
- указания о способах доступа для осмотра конструкций, согласованные с заказчиком;
- календарный план выполнения работ;
- согласованные с заказчиком мероприятия по использованию производственного оборудования, площадей и др. при проведении работ по обследованию;
- согласованные с заказчиком мероприятия по технике безопасности;
- состав и объём окончательной документации;
- особые условия (привлечение заводских лабораторий для анализа проб, предоставление спецодежды и т.д.).
В случае выполнения в процессе детальных обследований, обмерных работ в программу следует дополнительно ввести:
- сведения о намечаемом составе обмерных работ (количество, наименование и местонахождение конструкций, подлежащих обмерам);
- указания по методам производства обмеров;
- обоснование обеспечения заданной точности измерений.
1.16. При проведении детального обследования должны быть получены:
- уточненные данные по технической документации;
- данные измерений, определяющие положение конструкций в плане и по высоте;
- данные измерений в узлах соединений конструкций (размеры опорных площадок, смещение осей в узле примыкания и пр.);
- данные измерений основных сечений несущих элементов;
- величины осадок, перемещений, прогибов и пр.;
- данные детальных измерений параметров технического состояния конструкций (характеристики материалов, полученные неразрушающими методами, методы отбора проб и образцов, результаты лабораторных испытаний);
- данные детальных измерений дефектов и повреждений конструкций, их узлов и сопряжений;
- данные измерений параметров эксплуатационных сред, воздействующих на конструкции и основания, данные о режимах эксплуатации;
- данные о фактических нагрузках и воздействиях, вибродиагностике (собственные частоты, амплитуды колебаний, динамическая расчетная схема);
- результаты поверочных расчётов.
1.17. В зависимости от целей обследования, состояния конструкций и требуемого объема данных детальное обследование (или часть его - например, отбор проб) может быть выборочным или сплошным. Визуальный осмотр во всех случаях следует выполнять сплошным.
1.18. При сплошном обследовании техническое состояние объекта следует оценивать на основе проверки всех конструкций.
Сплошное обследование рекомендуется проводить:
при количестве однотипных конструкций не более трех;
при наличии дефектов и повреждений, снижающих несущую способность конструкций;
при отсутствии проектной и исполнительской документации;
на тех объектах, для которых нормами установлен коэффициент надёжности, по назначению, равный единице.
1.19. При выборочном обследовании техническое состояние объекта следует оценивать по результатам проверки отдельных конструкций (элементов), составляющих выборку. Объём выборки рекомендуется принимать не менее 10 % количества однотипных конструкций в объекте обследования, но не менее трёх. В полном объёме рекомендуется обследовать конструкции, находящиеся в наиболее неблагоприятных условиях (по значению усилий, агрессивности воздействий, температурно-влажностному режиму и пр.). При надлежащем обосновании объем выборки может быть уменьшен.
1.20. Выборочное обследование должно быть заменено сплошным, если при его проведении обнаружены:
конструкции или участки, техническое состояние которых классифицируется как ограниченно работоспособное или неработоспособное;
резкая неравномерность свойств материалов, условий нагружения, агрессивности эксплуатационной среды и т.п.
Для конструкций, состояние которых классифицировано как работоспособное, допускается выборочное обследование в пределах однотипной группы, на участке с одинаковыми по характеру и интенсивности эксплуатационными воздействиями.
2.1. Инженерно-строительные обмеры (ИСО) являются частью работ по натурному освидетельствованию конструкций.
ИСО конструкций заключается в создании графического или фотографического их изображения с указанием геометрических параметров, получаемого методами инженерной геологии, фотографии, инженерной фотограметрии, с помощью специальных приборов и приспособлений
К работам ИСО относятся:
- определение размеров конструкций и их формы;
- определение взаимного расположения конструкций в плане и по высоте;
- определение отклонений конструкций от их проектного положения;
- определение кренов, искривлений, деформаций, смещений и перемещений.
2.2. Измерению могут подлежать:
- поперечные сечения и профили элементов конструкций;
- элементы узловых соединений (высоты, длины и катеты сварных швов, расстояния между анкерами и пр.);
- опорные площадки конструкций;
- диаметры арматуры, расстояния между стержнями, хомутами, закладными деталями и пр.;
- размеры, входящие в состав расчётных схем по нейтральным осям стержней элементов конструкций (колонн, балок, ферм, арок и пр.);
- общие размеры конструктивной компоновки каркаса и стен (разбивка осей, характерные высотные отметки);
- прогибы конструкций (плит, балок, ферм и пр.), профили крановых путей;
- искривления стен, ферм, осей стержневых элементов;
- неравномерные осадки колонн и других конструкций;
- крены конструкций и сооружений.
2.3. Особое внимание при освидетельствовании следует обратить на дефекты и повреждения, свидетельствующие о неработоспособном состоянии конструкций. При обнаружении таких дефектов и повреждений необходимо выдать заказчику рекомендации по временным мероприятиям, обеспечивающим безопасность работающего персонала и предотвращение обрушения конструкций.
2.4. ИСО, в основном, выполняются четырьмя способами инженерной геодезии:
- с помощью специальных приспособлений и приборов;
- инженерной геодезии;
- фотографированием;
- инженерной фотограмметрией.
2.5. Применение геодезических измерений косвенными способами позволяет определить размеры конструкций, расположенных на расстоянии до 50 м от наблюдателя.
2.6. При сложности доступа к конструкциям с дефектами и для их регистрации рациональным является способ фоторегистрации.
Способ фоторегистрации позволяет при применении его с масштабным кругом определить размеры сечений, коррозионных повреждений, закладных деталей, сварных швов, углы наклона элементов решётки ферм и пр.
2.7. Геодезические инструменты, рекомендуемые для использования при выполнении ИСО, представлены в табл. 2.2.
Натурную фоторегистрацию рекомендуется выполнять фотоаппаратами со сменной оптикой, с использованием приборов искусственного освещения. Рекомендуется использовать зеркальные фотокамеры, осветители и импульсные лампы-вспышки с автономным питанием.
3.1. Определение дефектов, повреждений и характеристик материалов железобетонных конструкций производится визуально, с помощью инструментов и приборов, неразрушающими методами и методами разрушения малых объёмов. В ряде случаев для определения характеристик материалов и оценки их коррозионного состояния (бетон, арматура, сталь закладных деталей) требуется отбор проб и лабораторные испытания.
3.2. Основным способом выявления трещин в бетонных и железобетонных конструкциях служит визуальный осмотр.
3.3. Для трещин, являющихся дефектом или повреждением, фиксируется их положение, форма, ширина раскрытия и глубина. Следует установить причину их появления, на стадии освидетельствования решить вопрос о необходимости дальнейшего наблюдения за ними, с целью установления дальнейшего их развития, либо стабилизации.
Измерению подлежит максимальная ширина раскрытия трещин на поверхности бетона и ширина раскрытия трещин на уровне арматуры.
Геодезические приборы и инструменты для инженерно-строительных обмеров
|
Название прибора, инструмента |
Марки |
Измеряемые параметры, способы измерений |
|
|
1. |
Инварные проволоки, ленты, рулетки |
БП-2 |
Высокоточные линейные изменения |
|
2. |
Стальные рулетки |
Р9-5, Р9-80 |
Линейные измерения |
|
3. |
Линейки масштабные металлические |
ГОСТ 427-56 |
|
|
4. |
Теодолиты оптические |
2Т5-К-010 ТБ-1, Т-2 |
Горизонтальные и вертикальные утлы, геодезические засечки, створные измерения, наклонное и боковое визирование, вертикальное проецирование |
|
5. |
Нивелиры оптические |
НВ-1, НТ, Н-3, Н-1, Н-2 |
Высотные отметки, превышения. Геометрическое нивелирование |
|
6. |
Оптический центрир |
«Зенит ОЦП» «ОЦП-2» |
Оптическое вертикальное проецирование точек вверх и вниз |
|
7. |
Зенит-лот, лазерный центрир |
ЛЭП |
_____»_____»_____ |
|
8. |
Гидронивелир |
НЕТ-1 |
Отметки и превышения. Нивелировка в условия ограниченной видимости при сильных вибрациях, значительных температурных колебаниях |
|
9. |
Микронивелир |
Рейка с цилиндрическим уровнем |
Определение формы конструкций сложных очертаний. Нивелировка. |
|
10. |
Лазерный визир |
ЛВ-5М |
Создание видимых створов в створных измерениях, при способах бокового и наклонного визирования |
В ряде случаев следует фиксировать длину трещин.
3.4. Величина раскрытия трещин измеряется с помощью ручных микроскопов, например, МПБ-2 и луп с масштабным делением и трафаретами, обеспечивающими точность измерения не ниже 0,01 мм. Глубина трещины, выходящей на поверхность, измеряется щупами. Для трещин, не выходящих на боковые поверхности, глубина измеряется зондированием, ультразвуковыми приборами или с помощью стальных калибровочных щупов различной толщины.
При использовании щупов глубина трещины определяется по формуле:
![]()
![]()
где
- ширина раскрытия трещины
снаружи (средняя из трех измерений) в мм.
,
- толщина щупа
и глубина погружения щупа (средние из трех измерений при смещении щупа на 1 - 2
см) в мм
При применении ультразвукового метода глубина трещины устанавливается по изменению времени прохождения импульсов как при сквозном прозвучивании, так и методом продольного профилирования.
3.5. Дефекты и повреждения бетонных и железобетонных конструкций в виде сколов, отслоений защитного слоя и пр. устанавливаются визуально и измеряются с помощью линеек, рулеток и щупов с мерными делениями.
3.6. При выявлении участков поверхности бетона измененного цвета и пористой рыхлой структуры следует установить, является ли это следствием плохого уплотнения бетона или его коррозии.
3.7. Определение фактического армирования конструкций, диаметра арматуры и вида стали выполняются в следующих случаях:
- при выборочных обследованиях, с целью установления соответствия фактического и проектного армирования;
- при отсутствии проектной документации;
- если конструкции содержат дефекты, свидетельствующие о несоответствии фактического и проектного армирования.
3.8. Класс арматурной стали может устанавливаться по её профилю - для сталей класса не выше А-Ш или по результатам лабораторных испытаний вырезанных образцов.
Для поверочных расчётов расчётное сопротивление арматуры, в случае определения его по профилю, следует принимать:
гладкая арматура 155 МПа (1600 кг/см2);
арматура периодического профиля «винтом» - 245 МПа (2500 кг/ см2);
арматура периодического профиля (при профиле «ёлочкой») 295 МПа (3000 кг/см2);
Профиль арматуры устанавливается вскрытием (или радиографическим методом).
При определении характеристик арматуры по данным лабораторных испытаний вырезка образцов производится в сечениях, для которых несущая способность по нормальным и косым сечениям обеспечивается без стержней с вырезами.
3.9. Испытание арматурных образцов производится на растяжение, с определением предела текучести (условного предела текучести), временного сопротивления и относительного удлинения при разрыве. Перед испытанием для каждого образца следует определять фактическую площадь его сечения.
Количество вырезанных стержней одного диаметра и профиля для однотипных конструкций (одной группы) следует принимать не менее 2х.
При количестве испытываемых на растяжение стержней менее 5 нормативное и расчётное сопротивление арматуры принимается в соответствии о классом арматуры по СНиП 2.03.01-84*. Класс арматуры устанавливается по наименьшей из величин предела текучести и временного сопротивления по ГОСТ 5781, 10884*. Если окажется, что относительное удлинение меньше, чем удлинение, соответствующее данному виду стали (по ГОСТ 5781, 10884), то значения нормативного и расчетного сопротивления, полученные указанным способом, уменьшаются путем деления на коэффициент 1.1.
Если количество испытанных стержней 5 и более, нормативное сопротивление арматуры может приниматься равным средним значениям предела текучести и временного сопротивления, разделенным на коэффициенты:
1.1 - для классов арматуры А-I, А-II, А-III, А-IV;
1.2 - для остальных классов арматуры.
Если количество испытанных образцов одной партии 9 и более, то нормативное значение предела текучести (условного предела текучести) может приниматься усреднённой величиной.
3.10. Положение стержней арматуры, их количество, диаметры и толщина защитного слоя бетона определяются: путем измерения размеров при непосредственном устройстве борозд в защитном слое, магнитным или радиографическим (радиационным) методами.
Выбор мест определения положения арматурных стержней, их диаметра и количества должны выполняться на основе учёта правил и способов конструирования, действовавших в момент проектирования обследуемых конструкций и анализа распределения усилий по конструкции. При этом должны выбираться сечения и узлы с наиболее неблагоприятным сочетанием действующих усилий (при расчёте по нормальным сечениям, косым сечением и на кручение), с учётом возможного изменения армирования по длине элемента.
3.11. Метод непосредственного измерения, связанный с устройством борозд, позволяет определить толщину защитного слоя, положение и диаметры стержней, расположенных по наружному контуру конструкции. Борозды по граням элемента рекомендуется выполнять под углом к расчетному сечению. (Чем большим будет угол наклона, тем меньшим будет влияние ослабления на несущую способность конструкций).
Непосредственное измерение путем устройства борозд не допускается (при отсутствии страховочных мероприятий) в следующих случаях:
- в предварительно напряжённых конструкциях, в зоне анкеровки предварительно напряжённой арматуры;
- в сжатой зоне сечений железобетонных конструкций (с максимальными усилиями), техническое состояние которых может быть оценено как ограниченно-работоспособное или неработоспособное;
- в сжатой зоне конструкций, с высотой сечения менее 15 толщин борозды (независимо от их технического состояния).
Борозды в бетоне рекомендуется выполнять ручными малогабаритными электроинструментами со специальными приспособлениями для устройства пазов, в частности, электрическими фугальными молотками (например, молотком ИЗ-4207) или электроперфораторами (например, электроперфоратор ИЗ-4712).
Измерение толщины защитного слоя, расстояния между стержнями диаметров стержней и пр. выполняются металлическими линейками, штангенциркулями, микрометрами и др. приспособлениями.
После выполнения измерений борозды в бетоне следует зачеканивать высокопрочным раствором.
3.12. Электромагнитный метод позволяет определить положение стержней арматуры и их количество. Он основан на взаимодействии электромагнитного поля с арматурными стержнями.
При обследовании и использовании электромагнитного метода рекомендуется применять положения ГОСТ 22904, предназначенного для контроля при изготовлении конструкций. Допускается также использовать, помимо прибора ИЗС-10Н, отвечающего требованиям указанного ГОСТа, приборы ИЗС-2 и ИЗС-3.
Прибор ИЗС-10Н позволяет определить толщину защитного слоя бетона над арматурными стержнями диаметром 4 ÷ 32 мм. В зависимости от диаметра арматуры толщина защитного слоя бетона измеряется прибором в следующих пределах:
- при диаметре стержней арматуры от 4 до 10 мм - от 5 до 30 мм;
- при диаметре стержней арматуры от 12 до 32 мм - от 10 до 50 мм.
В зависимости от диаметра арматуры и толщины защитного слоя прибор обеспечивает определение положения арматурных стержней: диаметром от 12 до 32 мм при толщине защитного слоя бетона не более 50 мм.
3.13. Радиационный метод позволяет определить положение арматуры, ее диаметр и профиль, а также может установить наличие внутренних дефектов (каверн, трещин). Он основан на регистрации ослаблений ионизирующих излучений при взаимодействии с бетоном и арматурой, регламентируется ГОСТом 17625.
При радиационных методах определения положения арматуры, её диаметра и профиля используются рентгеновские аппараты, гамма-дефектоскопы и малогабаритные бетатроны.
Наибольшая толщина (при наличии двустороннего доступа) просвечиваемых железобетонных конструкций при использовании рентгеновских аппаратов - 220 мм, гаммадефектоскопов - 450 мм, малогабаритных бетатронов - 700 мм.
Для радиографического контроля преимущественно применяются малогабаритные бетатроны типа ПМ-Б-6 и МИБ-4.
3.14. Прочность бетона эксплуатируемых конструкций может определяться:
- испытанием кернов, высверленных из конструкций;
- методом отрыва со скалыванием;
- методом скола углов конструкций;
- методом отрыва;
- ультразвуковым методом;
- методом упругого отскока;
- методом пластических деформаций;
- методом ударного импульса.
Методы: испытания кернов, отрыва со скалыванием, скола углов конструкций и отрыва называются методами разрушения малых объемов.
3.15. Ориентировочная предварительная оценка прочности бетона на стадии предварительного осмотра конструкций может производиться упрощенным способом.
Возможно использовать способ определения прочности по характеру скола граней конструкций. Для этого рекомендуется отколоть от граней конструкции кусочек бетона размером, превышающим по длине в 2 ÷ 3 раза размер крупного заполнителя. Если скол произошел по крупному заполнителю, то при заполнителе из изверженных пород (например, гранит) прочность бетона не ниже 20 МПа, при заполнителе из осадочных пород (например, известняк) прочность 15 ÷ 20 МПа. Если скол произошел по контакту крупного заполнителя и растворной части, значение прочности бетона, полученное по растворной части, следует уменьшить на 5 ÷ 10 МПа.
3.16. Прочность бетона неразрушающими методами и методами разрушения малых объёмов определяют по предварительно установленным градуировочными зависимостям между прочностью бетонных образцов, испытанных по ГОСТ 10180, и косвенными характеристиками прочности.
Косвенными характеристиками прочности служат величины:
- условного напряжения, необходимого для местного разрушения бетона при вырыве из него специального анкера - для метода отрыва со скалыванием;
- усилия, необходимого для скалывания участка бетона на ребре конструкции - метод скола углов;
- условного напряжения, необходимого для местного разрушения бетона при отрыве приклеенного к нему металлического круга (метод отрыва);
- скорости прохождения ультразвука между фиксированными точками - ультразвуковой метод;
- отскока бойка от поверхности бетона или прижатого к ней ударника (метод упругого отскока);
- диаметра отпечатка при ударе шарикового наконечника рабочего органа прибора или диаметр и глубина отпечатка при его вдавливании (метод пластических деформаций)
- параметра ударного импульса (метод ударного импульса).
Перечень указанных методов определения прочности бетона (неразрушающими методами и методами разрушения малых объёмов с указанием стандартов, регламентирующих методику испытаний), приведен в таблице 3.2. Характеристика приборов для указанных методов испытаний приведена в таблице 3.5.
3.17. Методы определения прочности бетона существующих конструкций по степени достоверности полученных результатов могут быть разбиты на 2 группы.
Первая группа обеспечивает получение более достоверных результатов: определение прочности бетона методом испытания кернов, методы отрыва со скалыванием и скола ребра (т.н. методы разрушения малых объёмов).
Вторая группа включает: ультразвуковой метод, методы упругого отскока, пластических деформаций, ударного импульса.
При необходимости установления класса бетона рекомендуется сочетать один из металлов первой группы (принимая его за основной) с каким-либо методом второй группы.
Из методов первой группы, основанных на разрушении малых объёмов бетона, следует отдавать предпочтение методу испытания кернов.
3.18. При назначении количества участков и мест испытаний следует учитывать обязательное определение прочности бетона:
Ориентировочная оценка прочности бетона при ударе по плоскости конструкции ребром молотка и молотком по зубилу, установленному перпендикулярно поверхности
|
Признаки для оценки прочности бетона при ударе |
||
|
ребром молотка |
молотком по зубилу |
|
|
1 |
2 |
3 |
|
Ниже 7 |
Звук бетона глухой, остается неглубокий след, края вмятины осыпаются |
Зубило относительно легко входит в бетон на глубину 10 - 5 мм |
|
7 - 10 |
Звук бетона глуховатый, бетон крошится и осыпается, остаются вмятины |
Зубило погружается в бетон на глубину около 5 мм |
|
10 - 20 |
Остается заметный след на поверхности бетона, вокруг которого откалываются тонкие лещадки |
От поверхности бетона отделяются тонкие лещадки |
|
Выше 20 |
Звук бетона звонкий, остается слабозаметный след на поверхности бетона |
Остается неглубокий след, лещадки не отделяются, при царапании остаются малозаметные штрихи |
- в расчётных сечениях;
- в местах с наименьшими значениями прочности (выявляются упрощёнными способами);
- в местах, имеющих дефекты, свидетельствующие о снижении проектной прочности (коррозия, повышенная пористость и пр.);
- в местах, имеющих дефекты, влияющие на снижение несущей способности;
- в местах, имеющих дефекты, свидетельствующие о неудовлетворительном состоянии конструкций.
В любом случае количество участков для определения прочности бетона рекомендуется принимать:
- при оценке прочности бетона всей конструкции (или отдельной её зоны), не менее 3х;
- при оценке средней прочности группы конструкций не менее 9;
- при установлении класса бетона количество измерений должно быть не менее 50.
3.19. Испытания неразрушающими методами проводятся с помощью приборов, прошедших метрологическую аттестацию по ГОСТ 8.325 и отвечающих требованиям ГОСТ 22690.
3.20. Оценка коррозионного износа бетона и арматуры закладных и соединительных элементов железобетонных конструкций осуществляется непосредственно т.н. «полевыми» методами, а также в лабораториях.
3.21. Значения характеристик коррозионного состояния бетона принимаются для показателей проницаемости (коэффициент фильтрации - 7·10-9 см/с, капиллярное водопоглощение - 6 %, марка по водонепроницаемости - W2), щелочности рН = 11,5. Количество дефектных участков на уровне арматуры составляет 25 %, количество цементных остатков - 20 %, содержание хлор-ионов (для предварительно напряженных конструкций - 0,1 %, для остальных - 0,2 %), содержание сульфат-ионов - 10 %.
3.22. Число образцов, отбираемых для определения количественных характеристик коррозионного состояния, должно составлять не менее 3-х для каждого обследуемого слоя. Количество обследуемых элементов должно составлять не менее 15 % от общего числа элементов, являющихся в идентичных условиях, но не менее 3х.
3.23. Отбор образцов бетона из конструкций производят выпиливанием или высверливанием, выбирая участки конструкций без арматуры. Отбор образцов откалыванием может вызвать существенные механические нарушения структуры бетона в образце и поэтому допускается лишь при отборе образцов из массивных конструкций.
Таблица 3.2.
Таблица основных стандартизированных неразрушающих методов определения прочности бетона
|
Схема испытаний |
ГОСТ |
Приборы для испытаний |
|
|
Ультразвуковой |
|
17624 |
УКБ-1, УКБ-1М, УК-10П, УФ-90ПЦ, УК-16П, Бетон - 8УРЦ |
|
Отрыв со скалыванием |
|
22690 |
ГПНВ-5 ГПНС-4 ГПНС-5 ПИБ УРС-2 |
|
Отрыва |
|
||
|
Скалывание ребра |
|
||
|
Упругого отскока |
|
22690 |
КМ, прибор Шмидта |
|
Ударного импульса, пластической деформации |
|
22690 |
ВСМ, ПМ-2 Ц-22 «Киеворгстроя», А-1, ПБ |
|
Пластической деформации эталонным молотком Кашкарова. |
|
22690 |
Молоток Кашкарова |
Пробы бетона, взятые для исследования его коррозионного состояния, должны герметизироваться. Масса каждого образца назначается в зависимости от видов намеченных исследований. Для определения проницаемости бетона, в зависимости от крупности зёрен заполнителя, образцы должны иметь следующую минимальную массу:
|
Масса пробы грамм, не менее |
|
|
10 |
200 |
|
20 |
300 |
|
40 |
800 |
Проницаемость бетона оценивают либо по водонепроницаемости - «мокрому пятну» (ГОСТ 12730.5), либо по величине капиллярного водопоглощения (Wc) путём гидростатического взвешивания образцов неправильной формы (ГОСТ 12730.3) или по коэффициенту фильтрации (Кf) при равновесной влажности образцов цилиндрической формы, а также ускоренным методом с помощью фильтратометра ФИ-3 (ГОСТ 12730.5-84). Данные по взаимосвязи значений Wc, Кf и марки бетона по водонепроницаемости приведены в таблице 3.3.
|
Показатели прочности |
||
|
Коэффициент фильтрации Кf, см/с (ГОСТ 12730.5) |
Каппилярное водопоглощение Wc, % (ГОСТ 12730.3) |
|
|
2 и менее |
свыше 7 × 10-9 до 2 × 10-8 |
свыше 5,7 |
|
4 |
свыше 2 × 10-9 до 7 × 10-9 |
свыше 4,7 до 5,7 |
|
6 |
свыше 6 × 10-10 до 2 × 10-9 |
свыше 4,2 до 4,7 |
|
8 и более |
свыше 1 × 10-10 до 6 × 10-10 |
до 4,2 |
3.24. Величину «рН» водной вытяжки из растворной составляющей бетона определяют непосредственно при обследовании с помощью переносного «рН»-метра-милливольтметра типа ППМ-03М1, у которого электропитание обеспечивается батареями или аккумуляторами. В лабораторных условиях - с помощью «рН»-метра типа «рН»-340, «рН»-метра-милливольтметра типа «рН»-673М.
3.25. Оценку коррозионных повреждений стальной стержневой арматуры производят при наличии на поверхности железобетонных конструкций ржавых пятен или продольных трещин, отслоения защитного слоя бетона, являющихся результатам распирающего действия продуктов коррозии. Влияние коррозии арматуры на несущую способность конструкций связано с уменьшением поперечного сечения прокорродированной арматуры, нарушением прочности оцепления арматуры с бетоном.
3.26. Для количественного определения коррозионных повреждений арматуры производят вскрытие арматуры не менее, чем в пяти однотипных конструкциях. На каждом из этих участков в трёх местах, после удаления продуктов коррозии, замеряют сохранившийся диаметр арматуры и выявляют характер коррозии.
3.27. Степень коррозионных повреждений арматуры делится на восемь типов.
Первый тип - начальная (местная или сплошная) коррозия; глубина коррозии не превышает 0,1 мм, уменьшение диаметра (или толщины сечения стержня) не более 0,2 мм.
Второй - точечная (местная или сплошная) коррозия; на поврежденной поверхности отмечается наличие коррозионных точек более 0,1 мм и диаметром не более 1 мм.
Третий - местная язвенная коррозия; на неповреждённой поверхности отмечается наличие коррозионных язв глубиной более 0,1 мм, с размерами в плане (по берегам язв) от 1 мм до 6 мм.
Четвёртый - местная, пятнами. Коррозия аналогична предыдущей, но пятна более значительны. Размеры их в плане находятся в пределах от 6 мм до величины диаметра стержня.
Пятый - сплошная, равномерная - поражена вся поверхность. Диаметр или сечение повреждения равномерно уменьшается более чем на 0,2 мм, при глубине дополнительных местных поражений до 0,2 мм.
Шестой сплошная с язвами; коррозия аналогична предыдущей, но на поверхности имеются язвы глубиной более 0,2 мм и размерами в плане от 1 до 6 мм.
Седьмой - сплошная, с пятнами. Коррозия отключается от предыдущей только наличием пятен коррозии размерами в плане от 6 мм до величины диаметра стержня.
Восьмой тип - сплошная, неравномерная коррозия; поражена вся поверхность более чем на величину 0,2 мм. На отдельных участках по площади имеются значительные повреждения по сравнению с соседними. Размеры их по длине превышают величину диаметра арматуры.
3.28. Уменьшенный диаметр арматуры вследствие коррозии замеряют штангенциркулем. Глубину коррозионных язв замеряют штангелем и индентором. Допускается замерять глубину коррозионных язв иглой индикатора с опорными приспособлениями или микрометром с игольчатыми насадками.
3.29. При отборе образцов арматуры для испытаний на растяжение следует учитывать, что наиболее поражённый участок арматуры при испытаниях должен находиться в рабочей зоне и не попадать в захваты испытательной машины. Этот участок должен находиться на расстоянии не менее 100 мм от торца образца.
3.30. Расчётные сопротивления прокорродировавшей арматуры с местной потерей площади поперечного сечения более 5 % снижаются путём умножения на коэффициент условий работы γsi = 0,8.
Определённую замерами минимальную площадь поперечного сечения в зоне её повреждения, при поверочных расчётах по определению несущей способности конструкций следует умножать на коэффициент Кк, учитывающий погрешности в измерениях Кк = 1 для коррозионных повреждений арматуры типа I, II и V и Кк = 0,9 для коррозионных повреждений типа III, IV, VI, VII и VIII.
3.31. Прочность сцепления арматуры с бетоном, надёжность её анкеровки на опорах, в стыках и узлах зависит от стадии коррозионного повреждения арматуры, которая определяется по толщине продуктов коррозии на арматурных стержнях и состоянию защитных слоев бетона.
При отсутствии сцепления арматуры с бетоном на участке её длины, но при достаточной надёжности анкеровки в опорных зонах, стыках и узлах требуется проверка несущей способности конструкций, в связи с возможным ее снижением.
Для опорных зон, стыков и узлов необходимо оценить надёжность анкеровки. При отсутствии сцепления арматуры с бетоном или недостаточной надёжности анкеровки в указанных местах, состояние конструкций является неработоспособным (аварийным).
Оценку снижения прочности сцепления арматуры с бетоном рекомендуется осуществлять по трехстадийной градации (см. табл. 3.4.).
|
Внешние качественные и количественные признаки |
|
|
I |
В защитных слоях бетона имеются отдельные волосяные коррозионные трещины вдоль стержней арматуры (первичные) со следами ржавчины на поверхности. Толщина слоя продуктов коррозии на стержнях, устанавливаемая непосредственными измерениями после вскрытия (с помощью ультразвукового или других методов) не превышает 0,5 мм. |
|
II |
В защитных слоях бетона имеются многочисленные первичные коррозионные трещины шириной раскрытия до 3,0 мм. Отслоение защитных слоев бетона не происходит. Толщина слоя продуктов коррозии на арматурных стержнях составляет от 0,5 мм до 3,0 мм. |
|
III |
В защитных слоях бетона имеются многочисленные первичные коррозионные трещины, максимальная ширина раскрытия которых превышает 3,0 мм. Образовались вторичные коррозионные трещины (трещины перпендикулярные первичным и являющиеся следствием роста растягивающих напряжений в бетоне, в связи с выходом из работы защитного слоя). Происходит частичное или полное отслоение защитных слоев бетона. Толщина слоя продуктов коррозии на продольных и поперечных стержнях превышает 3,0 мм. Поперечные стержни малого диаметра (4×6 мм) прокорродировали по всему сечению. |
3.32. Степень коррозионного износа закладных и соединительных элементов определяют по толщине продуктов коррозии. Толщину продуктов коррозии фиксируют или в процессе их удаления, так и с помощью толщиномеров (ИТП-1, ИТ-20Н, МТ-30Н, УТ-9П1 или «Кварц-15»). Особое внимание уделяют состоянию сварного шва, оценивая сохранившуюся его высоту. Контролю подлежит также плотность контакта тыльной поверхности пластины закладного элемента с бетоном, наличие между ними щели, присутствие продуктов коррозии стали в месте контакта с бетоном на тыльной стороне закладной детали.
3.33. Уменьшение сечений элементов закладной детали определяют неразрушающими методами. Ориентировочно связь между толщиной продуктов коррозии и средней глубиной коррозии hс определяют по отношению hc = 0,6hnk.
3.34. Оценку коррозионного повреждения и определение площади поперечного сечения анкеров закладных деталей на вскрытом участке выполняют по аналогии с оценкой коррозионного повреждения и определения площади поперечного сечения арматуры.
Геометрические характеристики фланговых швов крепления анкеров к пластине определяются с помощью шаблонов, а поверочный расчёт ведется по уменьшенной площади анкерного стержня (с учётом коррозионного повреждения).
3.35. Проверку несущей способности закладной детали осуществляют по фактическим сечениям и значениям расчётных сопротивлений стали и бетона. Проверку прочности анкеров, приваренных «в тавр» и «внахлёстку» под углом 15 ... 30° производят по формулам СНиП 2.03.01-84*.
Остаточная толщина корродирующей пластины анкера с приваренными к ней элементами должна обеспечивать включение в работу анкерных стержней в соответствии с принятой расчётной схемой. Кроме того, толщина пластины должна удовлетворять условию формулы 19 СНиП 2.03.01-84*.
Если анкерные стержни выполнены из арматуры периодического профиля и не имеют на концах усиления в виде пластины, высаженных головок или приварки к рабочей арматуре конструкции, то при полном коррозионном повреждении выступов (рифов арматуры по всей длине анкера) несущую способность закладной детали следует считать исчерпанной. Если анкерные стержни усилены пластинами или высаженными головками, или закладная деталь крепится и двум противоположным граням железобетонной конструкции, проварку несущей способности производят по сечению, наиболее ослабленному коррозией.
ТИПЫ ПРИБОРОВ ДЛЯ ОПРЕДЕЛЕНИЯ ПРОЧНОСТИ БЕТОНА НЕРАЗРУШАЮЩИМИ МЕТОДАМИ И МЕТОДАМИ РАЗРУШЕНИЯ МАЛЫХ ОБЪЁМОВ.
1. Прибор ПМ-2

a - общий вид, б - схема прибора; 1 - шарик, 2 - ударник, 3 - боек, 4 - шток,
5, 9 - пружины,
6 - защёлка с зубом, 7 - цилиндрический корпус, 8 - втулка, 10 - крышка.
2. Молоток Кашкарова

a - схема прибора, б - положение
стержня до удара, в - после удара;
1 - испытуемый бетон, 2 - индентор (шарик), 3 - эталонный стержень,
4 - стакан, 5 - пружина, 6 - корпус, 7 - головка, 8 - рукоятка.
3. Прибор КМ

а - общий вид, б - устройство; 1
- бетон, 2а - сменный ударник, 2б - сменный индентор,
3, 6 - пружины, 4 - боек, 5 - шкала, 7 - рукоятка, 8 - болт, 9 - защёлка.
4. Гидравлический пресс-насос ГПНС-4

1 - анкерное устройство, 2 - шайба, 3 - пружинная гайка, 4 - рабочий стержень, 5 - рабочий цилиндр, 6 - насос, 7 - манометр.
5. Гидравлический пресс-насос ГПНВ-5

а - схема
прибора, б - прибор в действии; 1 - анкерное устройство, 2 - захват,
3 - шток рабочего стержня, 4 - рабочий цилиндр, 5 - манометр,
6 - ручка, 7 - насос, 8 - маслопровод, 9 - выдвижная ножка.
6. Скалывающее устройство УРС

1 - прибор ГПНС-4, 2 - муфта, 3 - рама, 4 - испытуемый бетон, 5 - скалывающий крюк, 6 - упорный крюк, 7 - скалываемый бетон.
1.1. Усиление железобетонных конструкций металлом - наиболее эффективный способ усиления. Он технологичен в исполнении и позволяет полностью заменить металлом разрушенный железобетонный элемент.
1.2. Металлоконструкции усиления должны воспринимать нагрузку величиной не менее 30 % усилия железобетонной конструкции, при частичном ее повреждении, и воспринимать полную нагрузку при разрушении железобетонной конструкции на 50 %.
1.3. Проект усиления железобетонных конструкций разрабатывается специализированной проектной организацией, имеющей лицензию на данный вид деятельности.
Проект согласовывается с автором-проектировщиком строительной части существующего корпуса (если это возможно) и с будущим исполнителем ремонтно-восстановительных работ.
1.4. Для проектирования усиления необходимы следующие материалы:
рабочие чертежи существующих железобетонных конструкций зданий;
данные об инженерно-геологических и гидрогеологических условиях площадки;
данные о соответствии конструкций проектным решениям;
геодезические съемки положения конструкций;
продолжительность эксплуатации существующего здания;
данные о величинах и режимах технологических нагрузок;
данные о характеристиках бетона и стали конструктивных элементов;
данные о прошедших авариях, аварийных состояниях конструкций;
данные о ранее введенных усилениях;
прогноз подтапливания оснований;
ожидаемая агрессивность среды;
сведения о дефектах конструкций.
1.5. Заказчик должен в обязательном порядке, на основе договора, привлекать автора проекта усиления к авторскому надзору в процессе выполнения ремонтно-восстановительных работ.
1.6. Автор проекта, убедившись в реальном выполнении решений, заложенных в проекте, и самое главное, во включении элементов усиления в совместную работу с железобетонными конструкциями, наряду с другими специалистами, подписывают акт сдачи работ.
1.7 В данной главе даны рекомендации по усилению железобетонных конструкций металлом, оправдавшие себя в жёстких условиях эксплуатации предприятий металлургического комплекса.
2.1. Наиболее рациональный способ усиления железобетонных колонн - заключение её в металлическую обойму. Характерной особенностью обойм является охват усиливаемого элемента со всех четырёх сторон.
2.2. Металлические обоймы позволяют включить колонны немедленно в работу, а также обеспечивают сохранение их технологических габаритов.
2.3. Металлическая обойма (см. Рис. 1) состоит из стоек уголкового профиля (поз. 2, рис. 1), устанавливаемых по граням колонны; соединительных планок (поз. 3 рис. 1), опорных частей (поз. 4, 7, рис. 1).
2.4. Эффективность усиления обоймой значительно возрастает, если пояса соединительных планок выполнить предварительно напряжёнными.
С этой целью соединительные планки поясов привариваются одной стороной к стойкам. Затем приступают к замыканию поясов. Для чего нагревают соединительные планки с двух противоположных сторон и приваривают к стоикам в нагретом состоянии. По мере остывания соединительные планки производят обжатие железобетонной колонны.
2.5. Торцы металлических стоек включают в совместную работу с железобетоном с помощью специальных приспособлений (рис. 1, Узел А).
2.6. Сравнительно простой и эффективный способ устройства обоймы достигается предварительным напряжением металлических стоек обоймы. Для этого монтаж стоек-уголков производят с перегибом их в середине высоты. С целью облегчения перегиба в боковых полках уголков необходимо сделать вырезы (поз. 2, рис. 2). Площадь поперечного сечения стоек в этих местах возмещается приваркой специальных планок. Создание предварительного напряжения достигается закручиванием гаек натяжных болтов.
2.7. В ряде случаев обоймы выполняются исполнителями без создания предварительного напряжения в стойках-уголках и планках. По этой причине железобетонная колонна не получает практически никакого усиления и, исчерпав свою несущую способность, разрушается, а обойма, получив динамический удар, разрушается следом.
УСИЛЕНИЕ КОЛОННЫ МЕТАЛЛИЧЕСКОЙ ОБОЙМОЙ (Вариант 1)
1 - усиливаемая колонна; 2 -
стойки-уголки; 3 - соединительные планки; 4 - опорная часть; 5 - столик;
6 - металлический винт; 7 - упорный элемент; 8 - вышележащая строительная
конструкция; 9 - динамометрический ключ.

УСИЛЕНИЕ КОЛОННЫ МЕТАЛЛИЧЕСКОЙ ОБОЙМОЙ (Вариант 2)
1 - усиливаемая колонна; 2 -
стойки-уголки; 3 - соединительные планки; 4 - опорная часть;
3 - натяжной монтажный болт; 6 - индивидуальная соединительная планка;
7 - упорный элемент; 8 - вышележащая строительная конструкция.

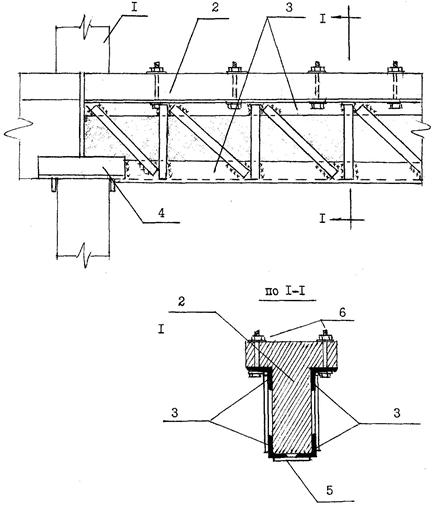
3.1. Метод усиления железобетонных подкрановых балок выполняется в зависимости от нагрузок и эксплуатационного состояния подкрановых балок.
3.2. Стальные элементы усиления должны включаться в совместную работу с железобетоном и обеспечивать частичное или полное восприятие эксплуатационных нагрузок,
3.3. Усиление железобетонных подкрановых балок может быть выполнено усилением верхнего пояса металлической обоймой (поз. 5 рис. 3) и с устройством выносных металлических опор (поз. 3 рис. 3), сокращающих расчетный пролет балки.
3.4. Эффективный способ усиления железобетонных подкрановых балок двухсторонним металлическим шпренгелем (поз. 6 рис. 3б) и обоймой из уголков (поз. 7 рис. 3б). Эффект усиления (создание реактивных сил заданных величин) достигается дозированным натяжением нижнего пояса шпренгеля, состоящего из двух одинаковых ветвей по обе стороны усиливаемой балки (уголки, арматура большого диаметра, стальные канаты).
3.5. Частичное разгружение железобетонной подкрановой балки рекомендуется применять, когда с нее необходимо снять только часть полезной нагрузки. Принцип частичного разгружения железобетонной подкрановой балки металлическими фермами даётся на рис. 4.
3.6. При незначительных повреждениях свесов полки железобетонной подкрановой балки её усиление рекомендуется производить установкой окаймляющих уголков (поз. 3 рис. 5а) на высокопрочных болтах (поз. 4 рис. 5а). Пространство между уголками и остатками полки после предварительной промывки необходимо заполнить пластичным бетоном на мелком заполнителе, с добавлением металлической стружки, причем уголки усиления служат в качестве несъёмной опалубки.
3.7. При значительных повреждениях всей полки подкрановой балки её усиление рекомендуется производить сварной металлической полкой с ребрами жёсткости (поз. 6 рис. 5б). При монтаже металлическая полка должна быть притянута предварительно напряженными тяжами из арматурной стали (поз. 9 рис. 56), закреплёнными в нижней части балки и прокладке, состоящей из двух уголков (поз. 7 рис. 5б), связанных между собой планками (поз. 8 рис. 5б). Вверху металлической полки необходимо предусмотреть специальные отверстия для инъекцирования бетонной смеси, чтобы заполнить имеющееся свободное пространство.
3.8. Усиление коротких консолей колонн рекомендуется производить установкой дополнительных предварительно напряжённых горизонтальных тяжей или хомутов (рис. 5 в, г, д). По окончанию натяжения тяжей, гайки заварить.
УСИЛЕНИЕ ПОДКРАНОВЫХ БАЛОК
1 - опора; 2 - усиливаемая балка;
3 - двухконсольная подпружная балка; 4 - столик выносной опоры;
5 - швеллер обоймы; 6 - шпренгель; 7 - утолок обоймы; 8 - коротыши.

ЧАСТИЧНОЕ РАЗОРУЖЕНИЕ ПОДКРАНОВОЙ БАЛКИ.
1 - колонна; 2 - усиливаемая балка; 3 - разгружающая ферма; 4 - упорная обойма; 5 - планки-связи; 6 - болты.

УСИЛЕНИЕ СВЕСОВ ПОЛОК ПОДКРАНОВОЙ БАЛКИ. УСИЛЕНИЕ КОНСОЛЕЙ.
1 - усиливаемая балка; 2 - упорная
пластина; 3 - уголки усиления; 4 - высокопрочные болты
6 - металлическая полка усиления; 7 - прокладки из уголков; 9 - соединительная
планка;
9 - предварительно напряженные тяжи; 10 - отверстие для инъекцирования бетона.

1 - усиливаемая консоль; 2 -
опорные элементы; 3 - накладные упоры;
4 - предварительно напряженные тяжи; 5 - упоры из швеллеров; 6 - окаймляющие
уголки;
7 - предварительно напряженные хомуты; 8 - стяжное устройство.
4.1. При усилении железобетонных ферм покрытий возможны следующие варианты:
- усиление фермы в целом;
- сквозное усиление одного из поясов;
- усиление отдельных элементов узлов.
4.2. Усиление фермы в целом рекомендуется выполнять с помощью предварительно напряжённых двухсторонних шарнирно-стержневых цепей (рис. 6). В цехах, оборудованных мостовыми кранами, шарнирно-стержневые цепи следует располагать в пределах высоты фермы (см. рис. 6 а, б). Закрепление концов цепи выполняется с помощью анкерных устройств, приваренных к металлической обойме узла (по аналогии с поз. 9 рис. 8).
4.3. При большом пролёте ферм шарнирно-стержневые цепи могут располагаться в двух уровнях, с соединением подвесок к нижним и верхним ветвям цепи (см. рис. 6б).
4.4. Сквозное усиление сжатых поясов ферм рекомендуется выполнять металлическими обоймами из профильного и листового металла (поз. 4 рис. 7). Обоймы устанавливаются по всей длине усиливаемого элемента. Включение в работу обойм обеспечивается за счёт распора, возникающего при деформации усиливаемого элемента от нагрузки, прикладываемой после усиления. Ветви обоймы должны упираться в узлы ферм через специальные упорные элементы (поз. 5 рис. 7).
4.5. Сквозное усиление растянутых поясов ферм рекомендуется выполнять установкой двухсторонних предварительно напряжённых затяжек (уголок, арматура большого диаметра, трос поз. 1 рис. 7). Анкеровка стержней сквозных затяжек должна выполняться на опорных узлах в торцах ферм (разрез 3-3 рис. 7). В промежуточных узлах положение стержней затяжек (после предварительного натяжения) должно быть зафиксировано с помощью специальных хомутов-фиксаторов (поз. 7 рис. 7).
4.6. При значительных повреждениях поясов ферм сквозное их усиление необходимо выполнять после установки под ферму дополнительных разгружающих временных опор или использования мостового крана.
4.7. Анкерные устройства для затяжек должны быть достаточно жёсткими и технологичными в исполнении. Опорные части анкерных устройств рекомендуется принимать из листовой стали толщиной 10 - 24 мм. При больших усилиях в затяжках жёсткость опорных частей следует обеспечивать постановкой ребер.
Анкерные устройства на промежуточных узлах поясов ферм рекомендуется фиксировать обжимными болтами диаметром не менее 10 мм. Усилие в обжимном болте должно быть не менее 10 кН (100 кгс).
4.8. При горизонтальных затяжках следует предусматривать мероприятия по недопущению в них прогиба.
УСИЛЕНИЕ ФЕРМ ПОКРЫТИЙ.
Усиление шарнирно-стержневыми цепями.
1 - шарнирно-стержневая цепь; 2 - натяжные подвески; 3 - нижний пояс фермы; 4 - стяжная муфта; 5 - опорная подкладка.

Схема железобетонной фермы.
1 - предварительно-напряженные
затяжки; 2 - верхний пояс фермы; 3 - нижний пояс фермы;
4 - металлическая обойма; 5 - анкерное устройство на опорном узле; 6 - ребра
жесткости; 7 - фиксатор затяжек.
Усиление поясов фермы.
Для выбора начальной слабины затяжек рекомендуется давать предварительное напряжение до 20 МПа. Выбор начальных деформаций анкеров (обжатие бетона) следует производить подтягиванием затяжек на расчетные усилия через 2 ÷ 3 дня после их установки.
4.9. При усилении одного элемента затяжкой, состоящих из нескольких ветвей, натяжение их следует выполнять одновременно.
4.10. Высота натяжных гаек должна быть не менее 1,5 диаметра резьбы. Между гайками и упорной частью анкера необходимо располагать шайбы. Гайки и шайбы следует изготавливать из низколегированных сталей.
4.11. Усиление сжатых раскосов ферм выполняется металлической обоймой (поз. 1 рис. 8). Обойма должна по концам упираться в специальные упорные коробки из листового металла, установленные в узлах фермы и соединённые с ней стяжными болтами.
4.12. Усиление растянутых раскосов выполняются предварительно напряжёнными затяжками (поз. 8 рис. 8)
4.13. Промежуточные и опорные узлы ферм усиливаются металлическими обоймами с предварительно напряжёнными затяжками. Характер усиления зависит от эксплуатационного состояния узла и решается индивидуально.
УСИЛЕНИЕ ФЕРМ ПОКРЫТИЙ (продолжение).
1 - металлическая обойма; 2 -
верхний пояс фермы; 3 - нижний пояс фермы;
4 - сжатый подкос; 5 - планки термонапряжённые; 6 - стяжные винты.
Усиление сжатого раскоса.

Усиление растянутого раскоса.

7 - растянутый раскос; 8 - предварительно напряжённые затяжки; 9 - элемент анкерных устройств.
5.1. Усиление стропильных балок покрытий под нагрузкой выполняется двухсторонними шарнирно-стержневыми цепями (рис. 9).
5.2. Шарнирно-стержневая цепь состоит из двух одинаковых ветвей (поз. 2 рис. 9) по обе стороны усиливаемой балки (уголки с подрезанными вертикальными полками в местах перегиба, арматурные стержни диаметром 30 - 36 мм или канаты); анкерных устройств (поз. 9 рис. 9) в виде сварных накладок из листового металла в верхней зоне балок под опорами; подвесок (поз. 4 рис. 9) из круглой стали или профильного металла. Арматурные стержни принимаются из стали классов А-I, А-II, А-III. Металлические конструкции из сталей Вст3сп, Вст3пс.
5.3. Все элементы цепи изготавливают в соответствии с размерами усиливаемой балки. Элементы цепи следует устанавливать в определённой последовательности. К закреплённым на балке анкерным устройствам подвешиваются обе ветви цепи с заранее прикреплёнными подвесками, имеющими на концах винтовую нарезку, и соединительными планками.
5.4. Закручиванием гаек все соединительные планки подвесок плотно притягивают к усиливаемой балке.
5.5. При проектировании цепи рекомендуется принимать её такой, чтобы тангенсы углов наклона отдельных звеньев, начиная от середины, относились между собой, как 1:3:5. Соблюдение этого условия приводит к тому, что усилия (реактивные силы) во всех подвесках и стойках будут примерно одинаковой величины, и основное натяжение можно производить в месте расположения центральной подвески. Величина натяжения определяется расчётом.
5.6. Натяжение осуществляется посредством закручивания гаек динамометрическим ключом, либо создаётся домкратами с манометром.
УСИЛЕНИЕ СТРОПИЛЬНЫХ БАЛОК ПОКРЫТИЙ.
1 - усиливаемая балка; 2 -
шарнирно-стержневая цепь; 3 - анкерное устройство;
4 - натяжной болт; 5 - опорная площадка; 6 - опорный швеллер; 7 - ребро
жёсткости.

6.1. Усиление ребристых плит покрытий - наиболее массовый вид усилений в металлургической отрасли, в связи с динамическими воздействиями технологического процесса на каркасы зданий.
6.2. При недостаточной площади опирания ребристых плит покрытий рекомендуется устройство дополнительных металлических опор (поз. 3 рис. 10) под рёбра плит. Дополнительные опорные элементы выступают в обе стороны от опоры и являются общими для плит смежных элементов.
6.3. Наиболее простой способ усиления - это подведение стальных балок под плиты, (поз. 4 рис. 10) с подклинкой поперечных рёбер усиливаемой плиты.
6.4. Усиление плит шпренгелем (поз. 6 рис. 10в) применяется с целью общего их усиления. Включение в работу шпренгеля осуществляется как путем завинчивания гаек, так и нагревом ветвей шпренгеля и затягивания гаек в горячем его состоянии.
6.5. Плиты покрытий, тлеющие значительный прогиб (более 1/100 длины плиты) и признанные специалистами аварийными, усилению не подлежат. Они полностью разбиваются и заменяются индивидуально изготовленными плитами из стального листа, или заменяются профнастилом.
УСИЛЕНИЕ СБОРНЫХ РЕБРИСТЫХ ПЛИТ.
1 - усиливаемая плита; 2 - верхний
пояс фермы; 3 - подпружная балочка; 4 - стальная балка;
5 - опорные и подкладочные детали; 6 - шпренгель; 7 - клиновидные прокладки.
а) уменьшение пролета выносными опорами на двухконсольных подпружных балочках.

б) подведение стальных балок.

в) усиление шпренгелем.

1.1. Усиление железобетонных конструкций под нагрузкой является одним из сложных видов специализированных строительных работ и выполнение их должно производиться организацией, тлеющей лицензию на данный вид деятельности.
1.2. На выполнение работ по усилению конструкций Исполнителем должен быть разработан проект производства работ и согласован с Заказчиком.
1.3. Качество применяемого металла для элементов усиления должно быть подтверждено сертификатом завода-поставщика металла.
1.4. Исполнитель работ несёт ответственность за соответствие выполненных работ чертежам усиления конструкций. Всякое отступление от чертежей при производстве монтажных работ должно быть согласовано с организацией, разработавшей проект усиления конструкций.
1.5. К сварке элементов усиления должны допускаться сварщики, выдержав все испытания в соответствии с Правилами аттестации сварщиков.
1.6. Прихватки, накладываемые для соединения собираемых деталей, должны размещаться в местах расположения расчётных сварных швов. Размеры прихваток должны быть минимально необходимыми и обеспечивать расплавление их при наложении швов проектного сечения.
1.7 Прихватки должны выполняться сварщиками той же квалификации, с использованием тех же сварочных материалов, что и при выполнении расчётных сварных швов.
1.8. Конструкции усиления должны предусматривать возможность удобного доступа для выполнения сварных швов и их контроля.
1.9. На сварных соединениях должно быть указано личное клеймо сварщика, производившего сварку.
1.10. Сварка растянутых элементов под нагрузкой швами, расположенными поперёк элемента усиления или в поперечном направлении по отношению действующим усилиям в элементе, не допускается.
1.11. Возможность и порядок производства сварочных работ при отрицательных температурах устанавливаются инструкцией по технологии сварки.
1.12. Для обеспечения совместной работы элементов усиления и усиливаемой железобетонной конструкции должны быть предусмотрены предварительно напряженные связи в виде: тяжей, распорок, клиньев, домкратов.
1.13. Производство работ по усилению должно производиться под руководством опытного инженерно-технического специалиста.
1.14. При усилении конструкций, работающих в цехах с агрессивной средой материал усиления и метод защиты от коррозии должны учитывать требования соответствующего СНиПа.
1.15. Участие в авторском надзоре Исполнителя проекта усиления обязательно.
1.16. После выполнения усиления основные технические данные должны быть внесены в технический паспорт здания.