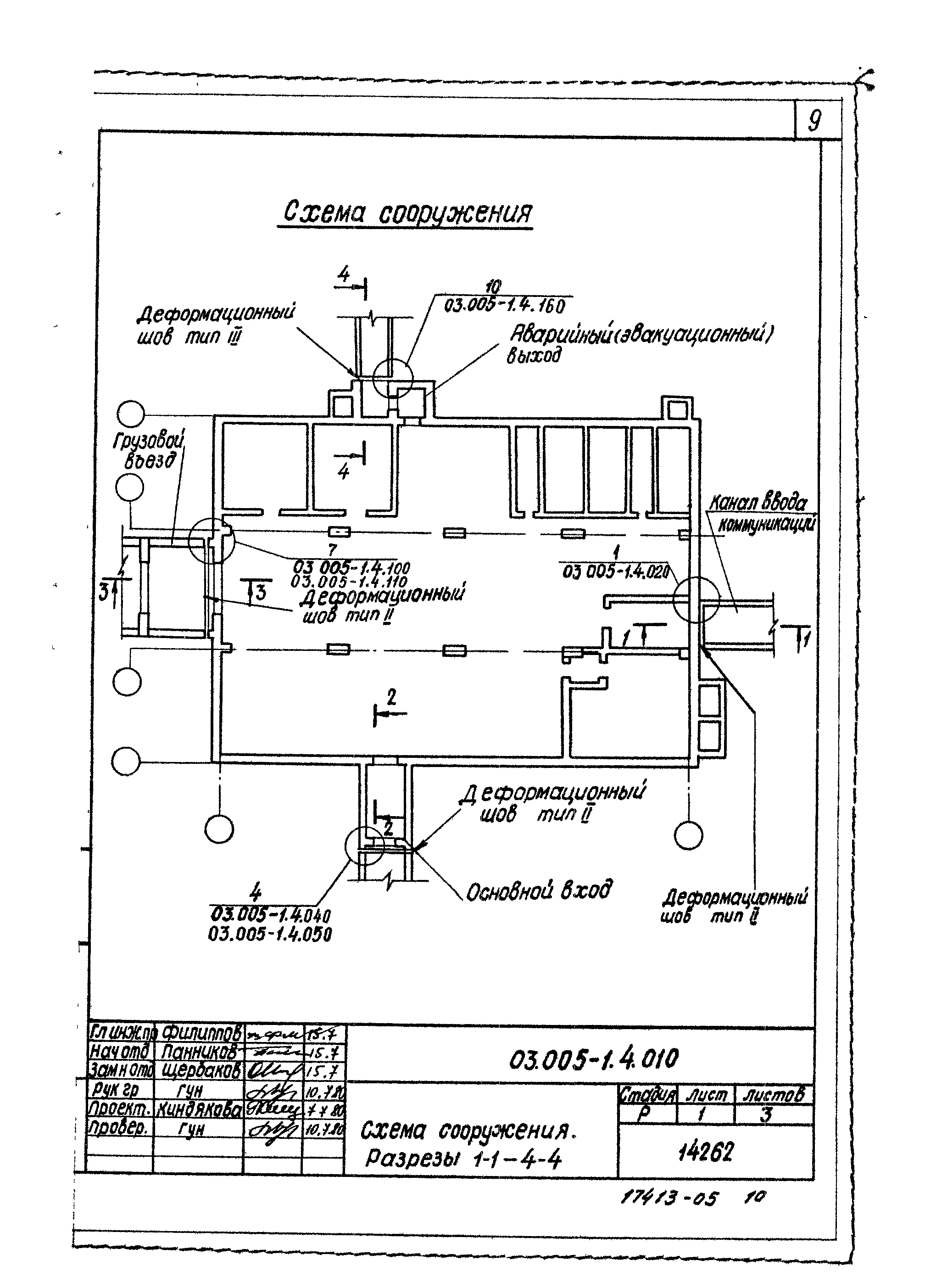
Скачать Серия 03.005-1 Выпуск 4. Деформационные швыДата актуализации: 01.01.2021
|
| Обозначение: | Серия 03.005-1 |
| Обозначение англ: | Series 03.005-1 |
| Статус: | действует |
| Название рус.: | Выпуск 4. Деформационные швы |
| Дата добавления в базу: | 01.09.2013 |
| Дата актуализации: | 01.01.2021 |
| Дата введения: | 10.07.1981 |
| Разработан: | В/ч 14262 |
| Утверждён: | 16.02.1981 Штаб гражданской обороны СССР (USSR Civil Defense Headquarters 235/11/487) |
| Издан: | ЦИТП Госстроя СССР (CITP, Gosstroy (USSR) 1988 г. ) |































