Скачать СТМ 14-29-02 Электрические и трубные проводки систем автоматизации. Проходы проводок через ограждающие строительные конструкцииДата актуализации: 01.01.2021
|
| Обозначение: | СТМ 14-29-02 |
| Обозначение англ: | 14-29-02 |
| Статус: | действует |
| Название рус.: | Электрические и трубные проводки систем автоматизации. Проходы проводок через ограждающие строительные конструкции |
| Дата добавления в базу: | 01.09.2013 |
| Дата актуализации: | 01.01.2021 |
| Дата введения: | 01.04.2002 |
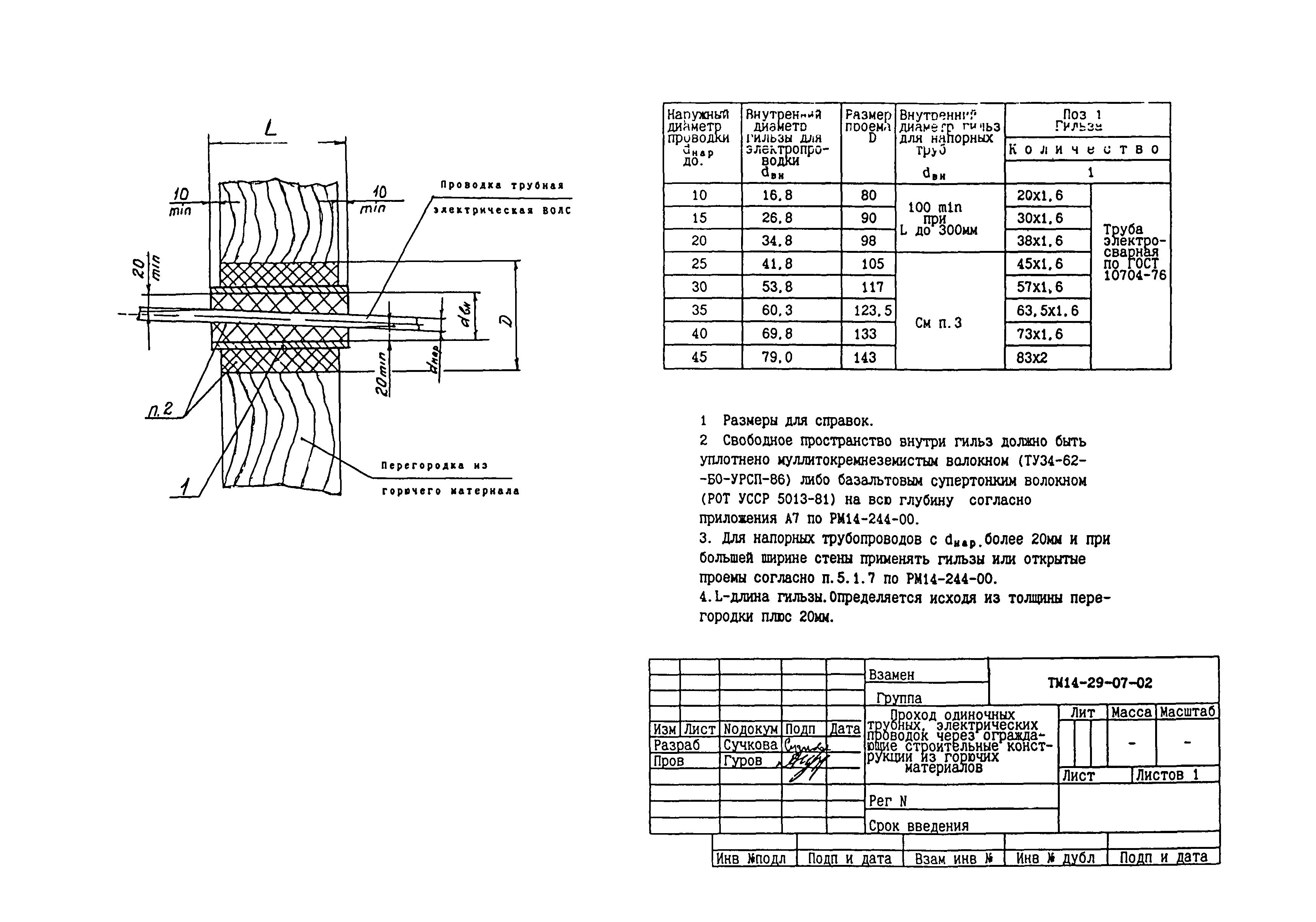
| Область применения: | Сборник типовых монтажных чертежей рекомендуется применять при проектировании и монтаже систем автоматизации объектов согласно области действия СНиП 3.05.07-85 и ГОСТ 21.408-93 |
| Оглавление: | Ведомость документов Сводная таблица типовых монтажных чертежей проходов трубных и электрических проводок через ограждающие конструкции Общие указания Типовые монтажные чертежи проходов трубных и электрических проводок через ограждающие конструкции |
| Утверждён: | ОАО Ассоциация Монтажавтоматика |
| Издан: | ООО Норма-РТМ (2002 г. ) |
| Заменяет собой: |
|
| Нормативные ссылки: |













































