Скачать РД 39-9-1069-84 Методическое руководство по определению начальных извлекаемых запасов нефти в залежах, находящихся в поздней стадии разработки (при водонапорном режиме)Дата актуализации: 01.01.2021
|
| Обозначение: | РД 39-9-1069-84 |
| Обозначение англ: | RD 39-9-1069-84 |
| Статус: | не действует |
| Название рус.: | Методическое руководство по определению начальных извлекаемых запасов нефти в залежах, находящихся в поздней стадии разработки (при водонапорном режиме) |
| Дата добавления в базу: | 01.09.2013 |
| Дата актуализации: | 01.01.2021 |
| Дата введения: | 01.07.1984 |
| Дата окончания срока действия: | 01.07.1988 |
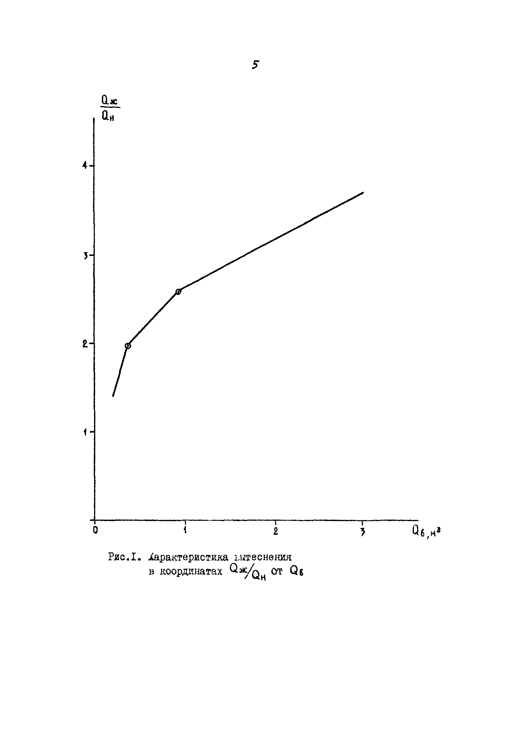
| Область применения: | Руководство включает перечень необходимых исходных данных по эксплуатации объектов (залежей) при водонапорном режиме на поздней стадии и методику определения (уточнения) начальных извлекаемых запасов нефти с помощью характеристик вытеснения (зависимостей накопленной добычи нефти от накопленной добычи жидкости или воды в различных модификациях), три способа построения которых апробированы для залежей сравнительно маловязкой (до 5 сП) и повышенной вязкости нефти (от 5 до 35 сП) по данным эксплуатации соответствующих двух групп длительно разрабатываемых залежей. |
| Оглавление: | 1 Общие положения 2 Рекомендуемые способы построения характеристик вытеснения для определения начальных извлекаемых запасов нефти и область их применения 3 Исходные данные для построения характеристик вытеснения 4 Методики обработки данных эксплуатации объектов для определения начальных извлекаемых запасов нефти рекомендуемыми способами 5 Принимаемая величина начальных извлекаемых запасов нефти по рассматриваемому объекту из рассчитанных несколькими способами Приложения |
| Разработан: | Всесоюзный нефтегазовый научно-исследовательский институт (ВНИИ) |
| Утверждён: | 10.02.1984 Министерство нефтяной промышленности СССР (USSR Ministry of the Petroleum Industry ) 29.12.1983 Министерство газовой промышленности (Ministry of the Gas Industry ) 02.03.1984 ГКЗ СССР (USSR GKZ ) 04.02.1984 Министерство геологии СССР |
| Принят: | 04.10.1983 Госгортехнадзор СССР (USSR Gosgortekhnadzor 13-21г/872) 10.11.1982 Управление разработки нефтяных и газовых месторождений Миннефтепрома 16.12.1983 Техническое управление Миннефтепрома Геологическое управление Мингазпрома |






























































