Скачать Технические указания по устройству и ремонту мягких кровель плоских и скатных крыш зданий полимерными материалами

Дата актуализации: 01.01.2021

Технические указания по устройству и ремонту мягких кровель плоских и скатных крыш зданий полимерными материалами

Статус:действует
Название рус.:Технические указания по устройству и ремонту мягких кровель плоских и скатных крыш зданий полимерными материалами
Дата добавления в базу:01.09.2013
Дата актуализации:01.01.2021
Область применения:Указания распространяются на все виды устройства и ремонта мягких кровель на плоских и скатных крышах жилых, общественных и производственных зданий и сооружений с применением мастик Абрис*Ру и БСКМ, поставляемых ООО "Завод герметизирующих материалов"
Оглавление:Предисловие
1. Материалы для кровельных работ
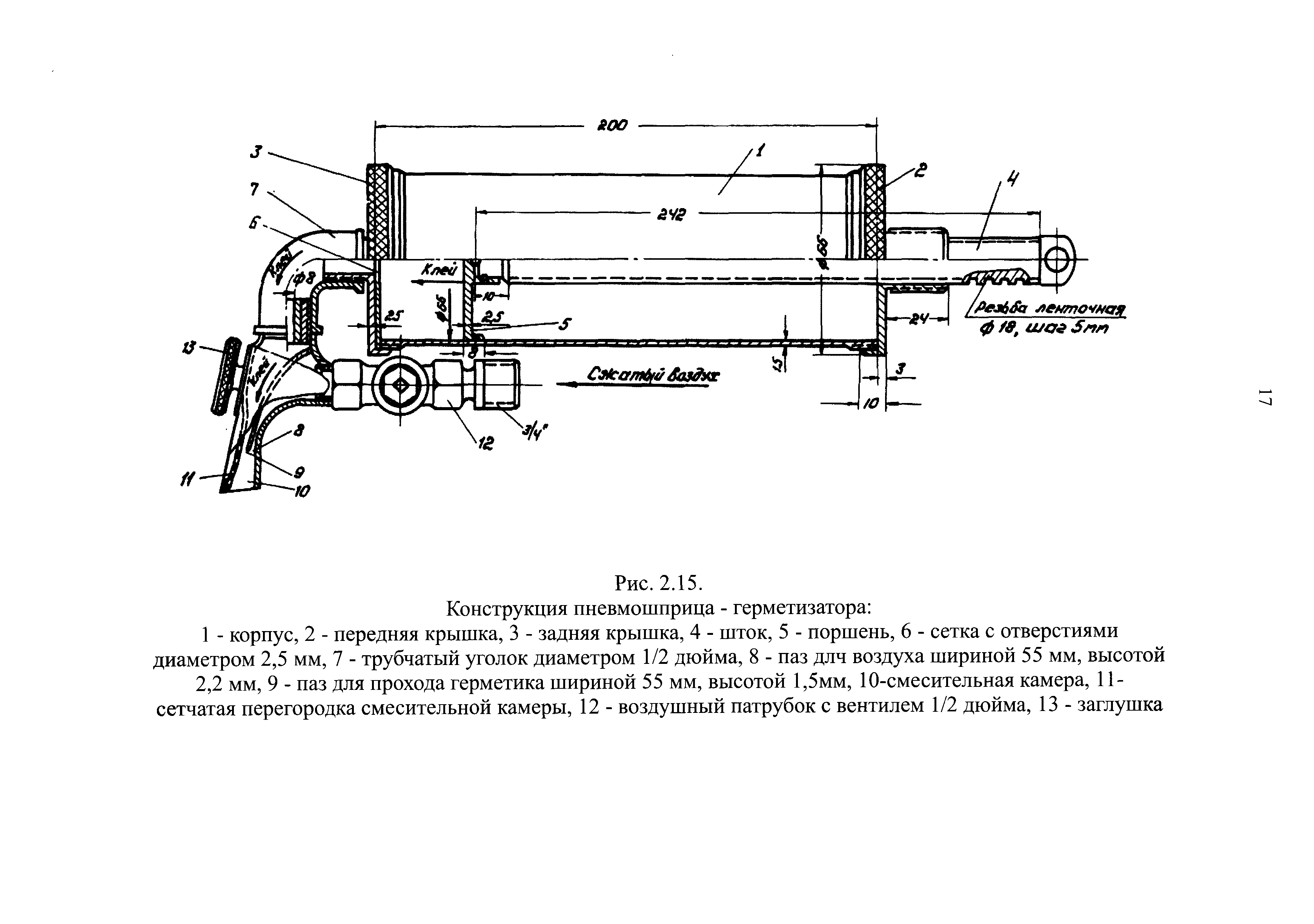
2. Механизмы и приспособления для кровельных работ
3. Подготовка поверхности основания
4. Технология устройства и ремонта кровли
5. Конструктивно-технологические решения
6. Контроль качества при устройстве и ремонте мастичной кровли
7. Техника безопасности и производственная санитария
8. Правила обследования мастичной кровли
Приложения
Утверждён: Госжилинспекция по г. Москве
ГОУ ДПО ГАСИС
Принят: ООО Завод герметизирующих материалов
Нормативные ссылки: