Скачать Технологические карты. Монтаж неразрезного металлического пролетного строения автодорожного моста методом конвейерно-тыловой сборки и продольной надвижки

Дата актуализации: 01.01.2021

Технологические карты. Монтаж неразрезного металлического пролетного строения автодорожного моста методом конвейерно-тыловой сборки и продольной надвижки

Статус:действует
Название рус.:Технологические карты. Монтаж неразрезного металлического пролетного строения автодорожного моста методом конвейерно-тыловой сборки и продольной надвижки
Дата добавления в базу:01.09.2013
Дата актуализации:01.01.2021
Дата введения:14.05.1981
Оглавление:Общая часть
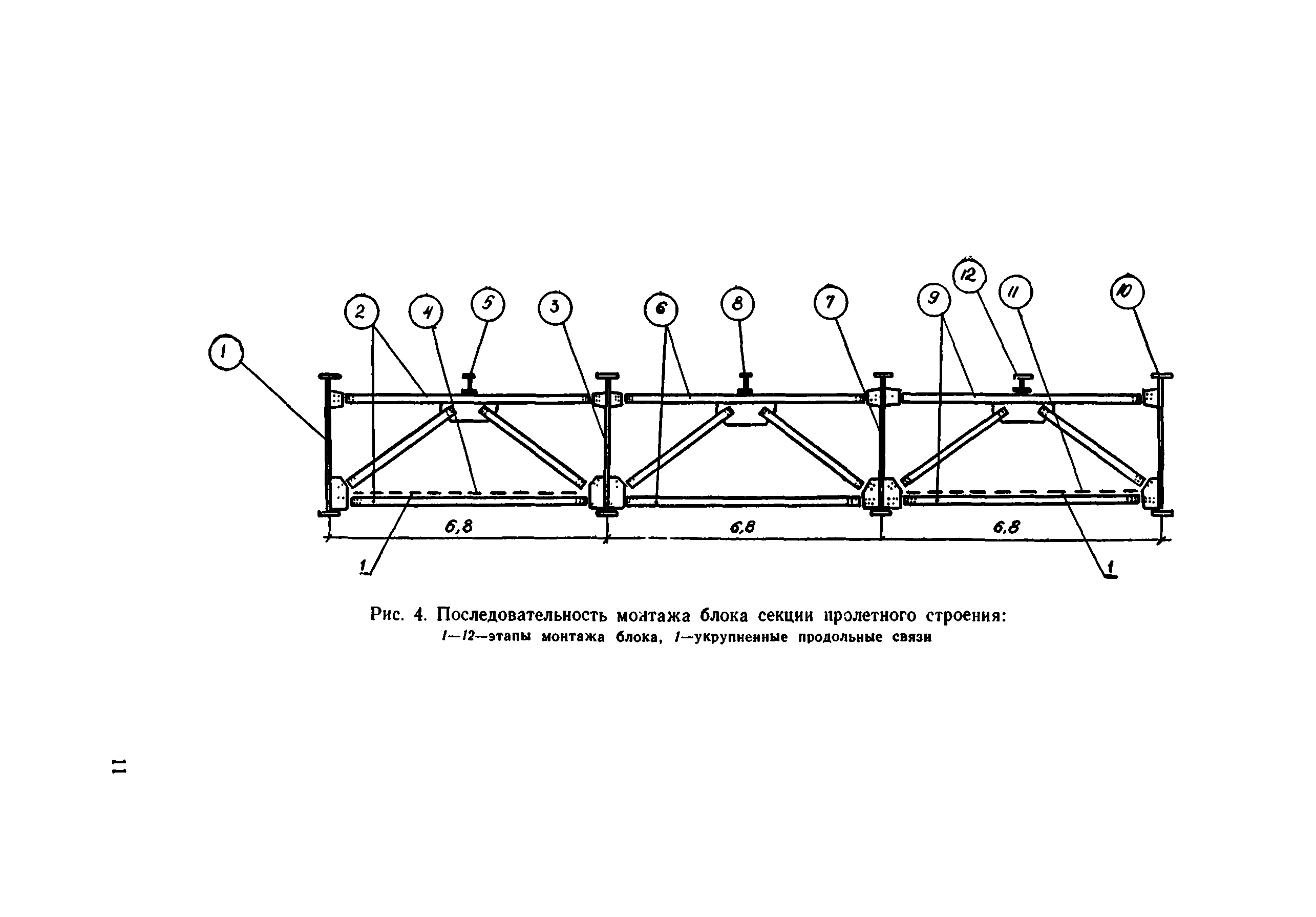
Технологическая карта № 1. Конвейерно-тыловой монтаж секции неразрезного металлического пролетного строения
Технологическая карта № 2. Продольная надвижка секции пролетного строения
Разработан: ВПТИтранстрой
Утверждён:14.05.1981 ВПТИтрансстрой (VRTItransstroy )
Издан: ВПТИтрансстрой (1981 г. )
Нормативные ссылки: