Скачать ОСТ 26-467-84 Опоры цилиндрические и конические вертикальных аппаратов. Типы и основные размерыДата актуализации: 01.01.2021
|
| Обозначение: | ОСТ 26-467-84 |
| Обозначение англ: | OST 26-467-84 |
| Статус: | заменен |
| Название рус.: | Опоры цилиндрические и конические вертикальных аппаратов. Типы и основные размеры |
| Дата добавления в базу: | 01.09.2013 |
| Дата актуализации: | 01.01.2021 |
| Дата введения: | 01.01.1985 |
| Дата окончания срока действия: | 01.01.1991 |
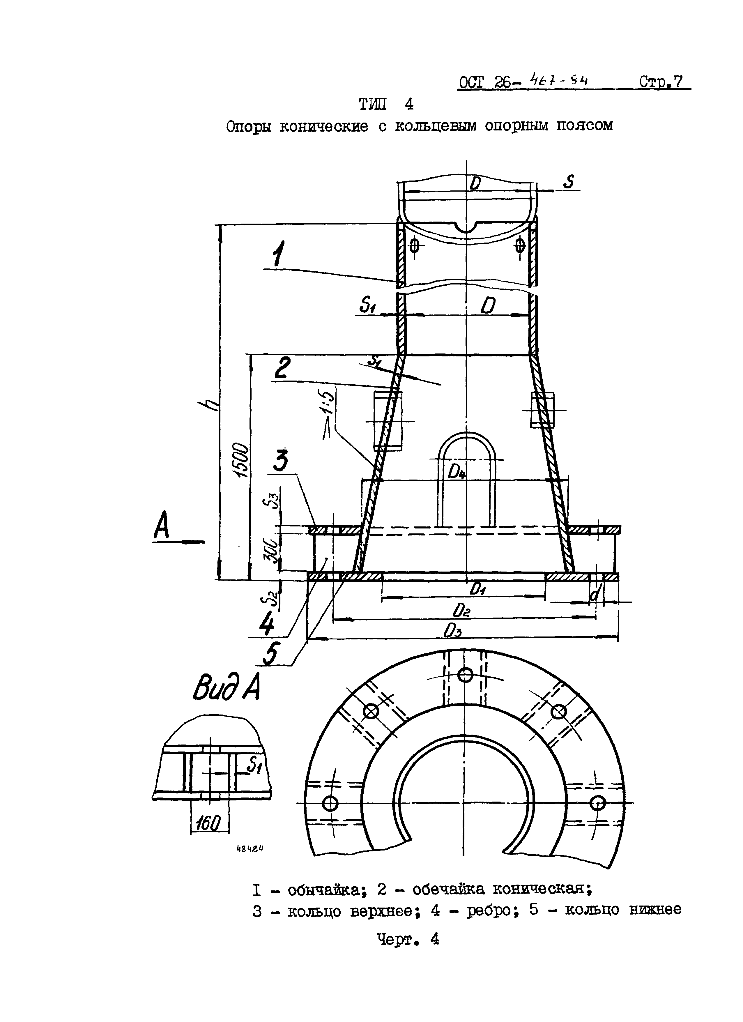
| Область применения: | Стандарт распространяется на опоры стальные сварные цилиндрические и конические стальных вертикальных аппаратов диаметром от 400 до 6300 мм при приведенных нагрузках на опору не более 16,0 Мн (1600х1000 кгс). Допускается применение стандарта для аппаратов, изготовленных из титановых сплавов, при условии выполнения опор съемными. |
| Оглавление: | Приложение 1 Расчет приведенных нагрузок и выбор опоры Приложение 2 Пределы применения типов опор в зависимости от минимальной приведенной нагрузки Приложение 3 Формулы определения расстояния между опорок и осью сварного соединения днища с корпусом Приложение 4 Формула для определения массы элементов опорного узла (в кг) |
| Разработан: | УкрНИИхиммаш |
| Утверждён: | 21.05.1984 Министерство химического и нефтяного машиностроения СССР (USSR Ministry of Chemical and Petroleum Machine Manufacturing ) |
| Заменяет собой: |
|
| Нормативные ссылки: |
|






















