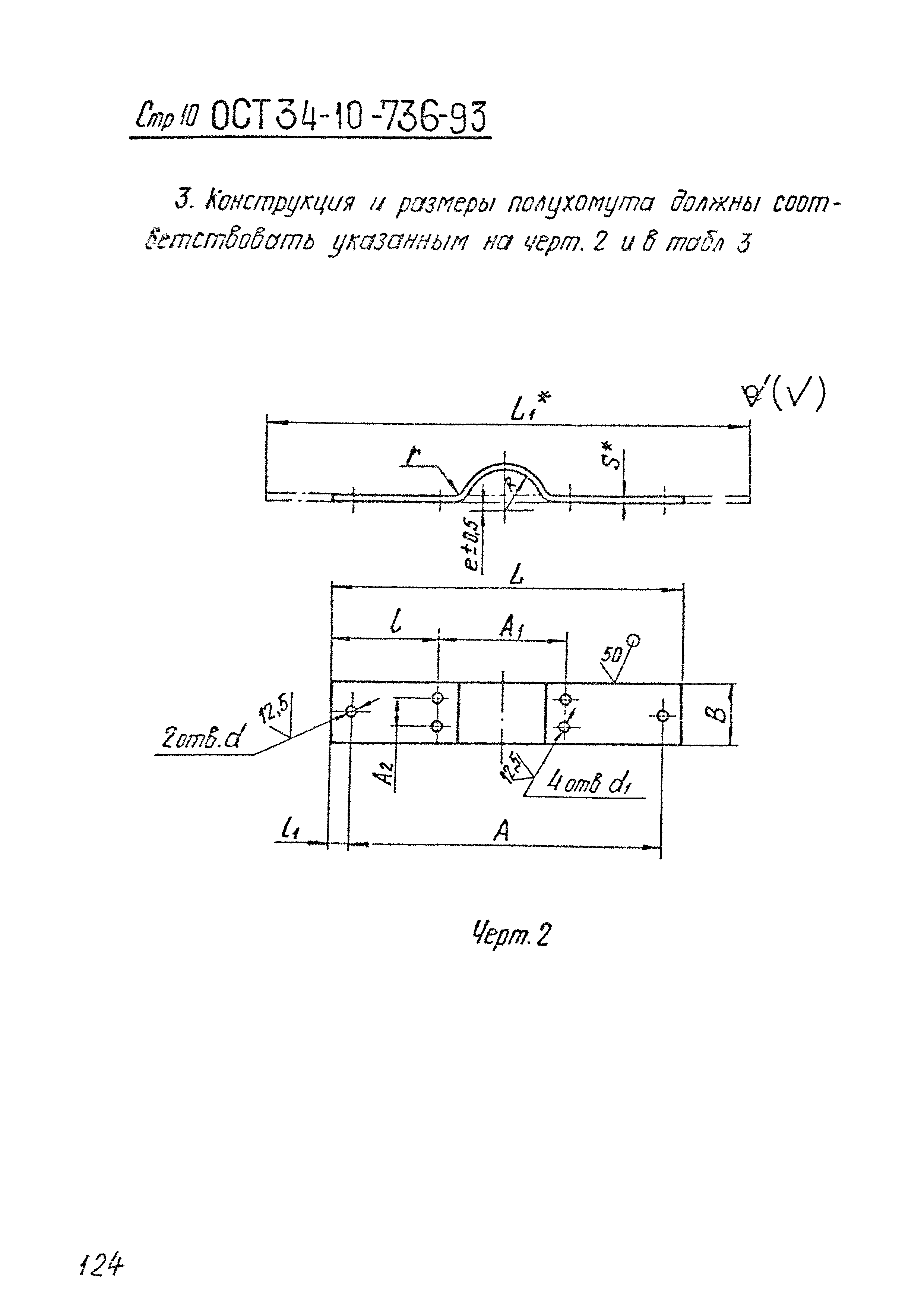
Скачать ОСТ 34-10-736-93 Хомут для вертикальных трубопроводов. Конструкция и размерыДата актуализации: 01.01.2021 ОСТ 34-10-736-93
Хомут для вертикальных трубопроводов. Конструкция и размеры| Обозначение: | ОСТ 34-10-736-93 | | Обозначение англ: | OST 34-10-736-93 | | Статус: | не определен законодательством | | Название рус.: | Хомут для вертикальных трубопроводов. Конструкция и размеры | | Дата добавления в базу: | 01.09.2013 | | Дата актуализации: | 01.01.2021 | | Дата введения: | 01.01.1994 | | Дата окончания срока действия: | 30.06.2003 | | Область применения: | Стандарт распространяется на хомуты для подвесок вертикальных трубопроводов ТЭС и АЭС Дн 57 - 630 мм | | Утверждён: | 12.07.1993 Министерство топлива и энергетики РФ (Russian Federation Ministry of Fuel and Energy 158)
| | Список изменений: | | | Заменяет собой: | | | Нормативные ссылки: | |
                
Текстовое изменение № 1 от 01.05.2005

|