Скачать ОСТ 26.260.467-2000 Устройства для установки приборов измерения давления на Ру 4,0 и 16,0 МПа (с двумя клапанами типа 15нж54бк). Конструкция и размерыДата актуализации: 01.01.2021
|
| Обозначение: | ОСТ 26.260.467-2000 |
| Обозначение англ: | OST 26.260.467-2000 |
| Статус: | не определен законодательством |
| Название рус.: | Устройства для установки приборов измерения давления на Ру 4,0 и 16,0 МПа (с двумя клапанами типа 15нж54бк). Конструкция и размеры |
| Дата добавления в базу: | 01.09.2013 |
| Дата актуализации: | 01.01.2021 |
| Дата введения: | 01.12.2000 |
| Дата окончания срока действия: | 30.06.2003 |
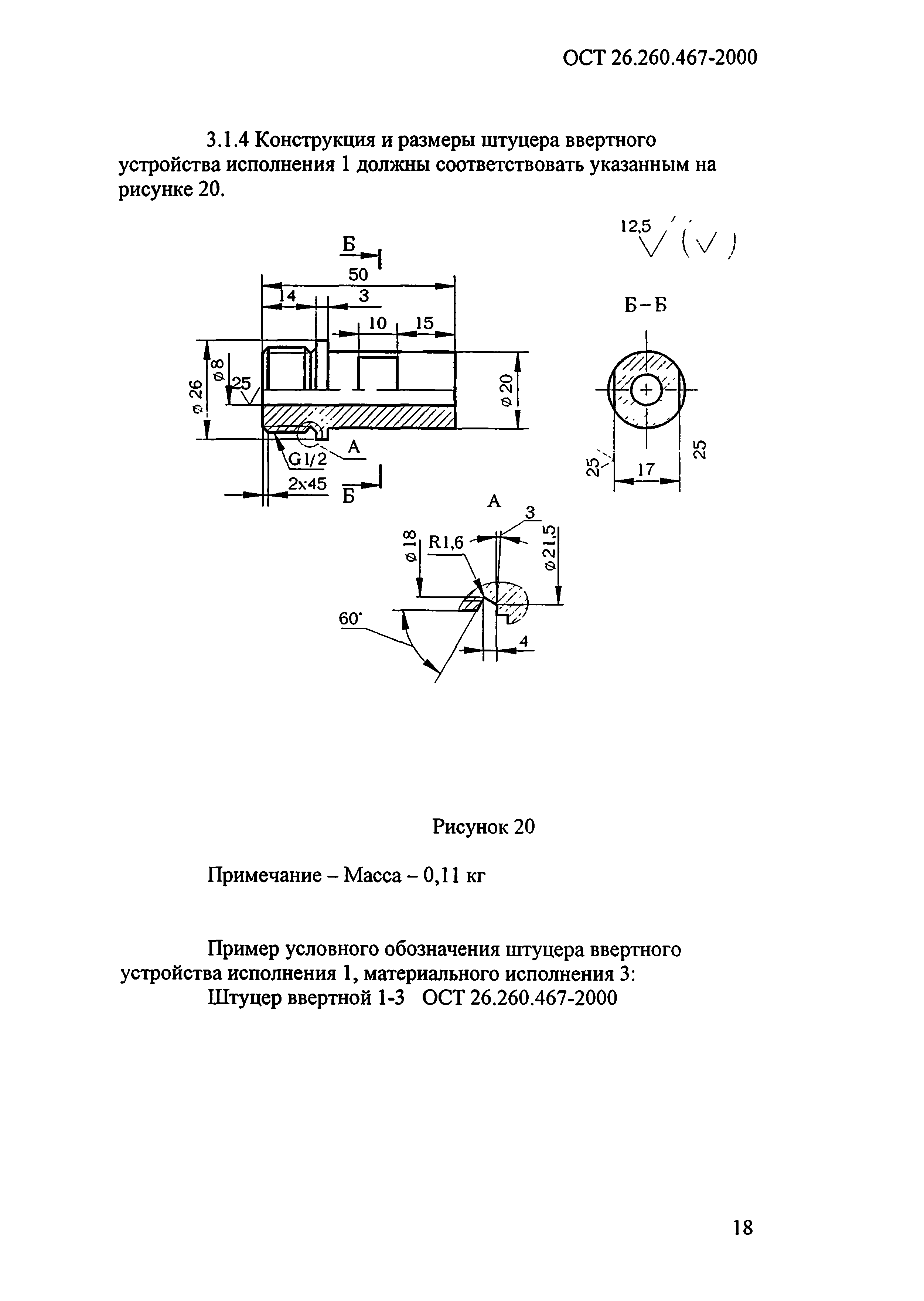
| Область применения: | Стандарт устанавливает конструкцию, пределы применения и основные размеры устройств для установки приборов измерения давления на трубопроводах и аппаратах, применяемых в химической, нефтехимической, газовой и других смежных отраслях промышленности на условное давление 4,0 и 16,0 МПа , температуру от минус 60 до 300 град. С для агрессивной среды со скоростью коррозии свыше 0,1 мм/год |
| Оглавление: | 1. Область применения 2. Нормативные ссылки 3. Конструкция и размеры |
| Разработан: | ДАО ЦКБН |
| Утверждён: | ТК 260 Оборудование химическое и нефтегазоперерабатывающее (Technical Committee 260, Chemical and Petroleum and Gas Refining Equipment ) |
| Список изменений: | |
| Заменяет собой: |
|
| Нормативные ссылки: |
|






















Текстовое изменение № 1 от 01.07.2002












