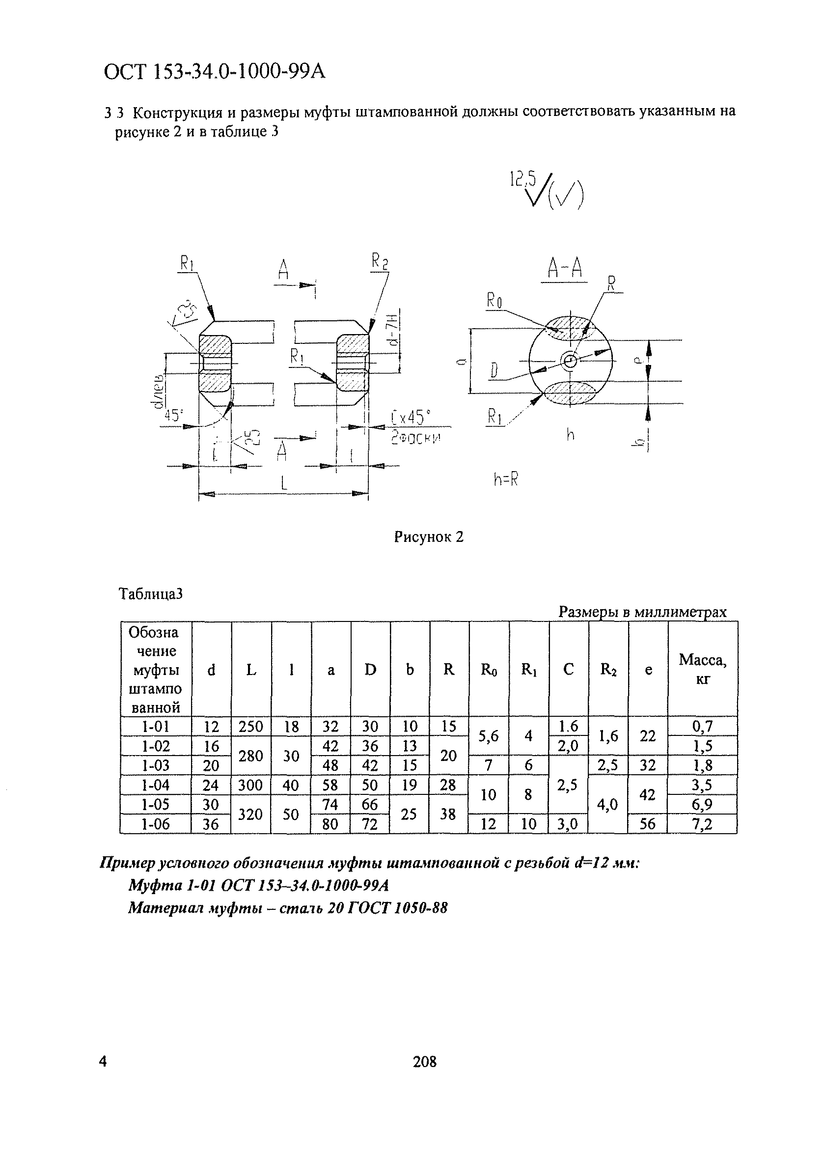
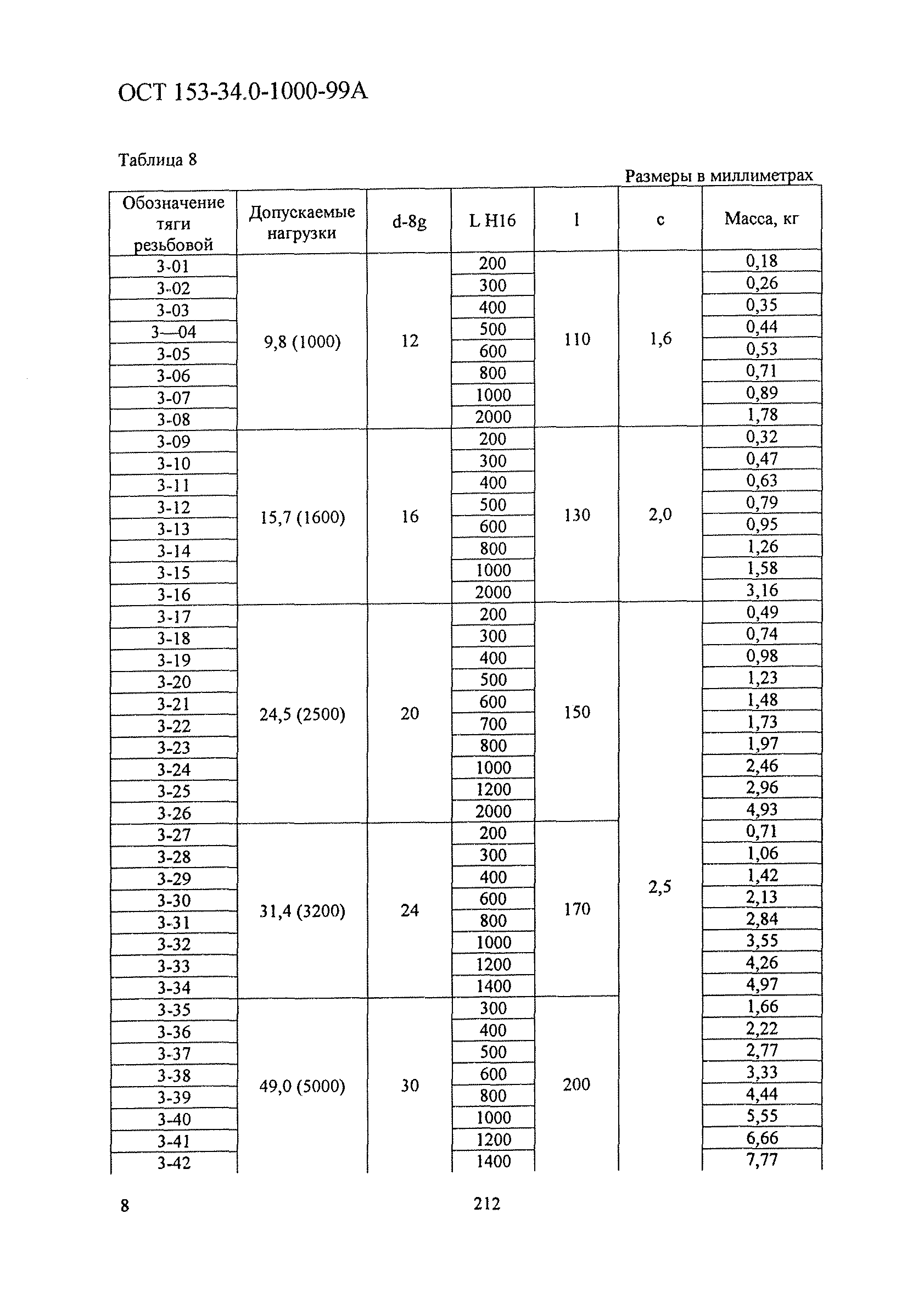
Скачать ОСТ 153-34.0-1000-99А Сборочные единицы и детали подвесок станционных трубопроводов атомных станций Pу <= 4,0 МПа (40 кгс/см2). Тяги резьбовые с муфтой. Конструкция и размерыДата актуализации: 01.01.2021
|
| Обозначение: | ОСТ 153-34.0-1000-99А |
| Обозначение англ: | OST 153-34.0-1000-99А |
| Статус: | отменен |
| Название рус.: | Сборочные единицы и детали подвесок станционных трубопроводов атомных станций Pу <= 4,0 МПа (40 кгс/см2). Тяги резьбовые с муфтой. Конструкция и размеры |
| Дата добавления в базу: | 01.09.2013 |
| Дата актуализации: | 01.01.2021 |
| Дата введения: | 01.02.2001 |
| Дата окончания срока действия: | 25.08.2004 |
| Область применения: | Стандарт распространяется на тяги резьбовые с муфтой, применяемые для подвесок станционных трубопроводов низкого давления групп В и С атомных станций по ПН АЭ Г-7-008-89 "Правила устройства и безопасной эксплуатации оборудования и трубопроводов атомных энергетических установок" с рабочей температурой среды не более 300 градусов Цельсия. Подвески трубопроводов относятся к классу 2 безопасности по ОПБ-88/97 "Общие положения обеспечения безопасности атомных станций" и к категории 1 сейсмостойкости по ПН АЭ Г-5-006-89 "Нормы проектирования сейсмостойких атомных станций". Допускается применение сборочных единиц и деталей подвесок по настоящему стандарту для станционных трубопроводов атомных станций, на которые распространяются РД 03-94 "Правила пара и горячей воды" и СНиП 3.05.05-94. |
| Оглавление: | 1. Область применения 2. Нормативные ссылки 3. Конструкция и размеры 4. Требования Приложение А. Библиография |
| Разработан: | ОАО Энергомонтажпроект ОАО Севзапэнергомонтажпроект |
| Утверждён: | 23.01.2001 Министерство энергетики РФ (Russian Federation Ministry of Energy 19) |
| Нормативные ссылки: |
|














