Скачать ГОСТ Р 52862-2007 Методы испытаний на стойкость к механическим внешним воздействующим факторам машин, приборов и других технических изделий. Испытания на воздействие акустического шума (вибрация, акустическая составляющая)Дата актуализации: 01.01.2021
|
| Обозначение: | ГОСТ Р 52862-2007 |
| Обозначение англ: | GOST R 52862-2007 |
| Статус: | отменен |
| Название рус.: | Методы испытаний на стойкость к механическим внешним воздействующим факторам машин, приборов и других технических изделий. Испытания на воздействие акустического шума (вибрация, акустическая составляющая) |
| Название англ.: | Mechanical environment stability test methods for machines, instruments and other industrial products. Test methods for acoustic noise (vibration, acoustic component) |
| Дата добавления в базу: | 01.09.2013 |
| Дата актуализации: | 01.01.2021 |
| Дата введения: | 01.07.2008 |
| Дата окончания срока действия: | 01.01.2015 |
| Область применения: | Стандарт распространяется на машины, приборы и другие технические изделия всех видов (далее — изделия) и устанавливает методы их испытаний на воздействие акустического шума (акустической составляющей воздействия вибрации), в том числе на соответствие требованиям по данному воздействию, установленному в нормативных документах на изделия (далее — НД) (в частности требованиям по ГОСТ 30631). Стандарт применяют также для проведения исследовательских испытаний по определению стойкости изделий или их деталей и узлов (далее—образцов) к воздействию акустического шума. Методы стандарта применяют с целью: - разработки методик испытаний конкретных образцов для определения их способности противостоять воздействию вибрации, возбужденной определенным уровнем звукового давления, которому образец подвергается (или может быть подвергнут) в эксплуатации; - для определения пределов механической прочности деталей и узлов образца, явлений разрушения в нем при его функционировании в соответствии с НД и для определения возможности применения образцов в условиях, не оговоренных НД. Эти методы также могут быть использованы как средство для определения усталостной прочности и механического износа образца. В стандарте приведены методы проведения испытаний и измерений уровней звукового давления в пределах диапазона акустических частот 20—20000 Гц. В стандарте приведены также рекомендации по выбору параметров акустических испытаний (спектра, уровня звукового давления и времени выдержки). |
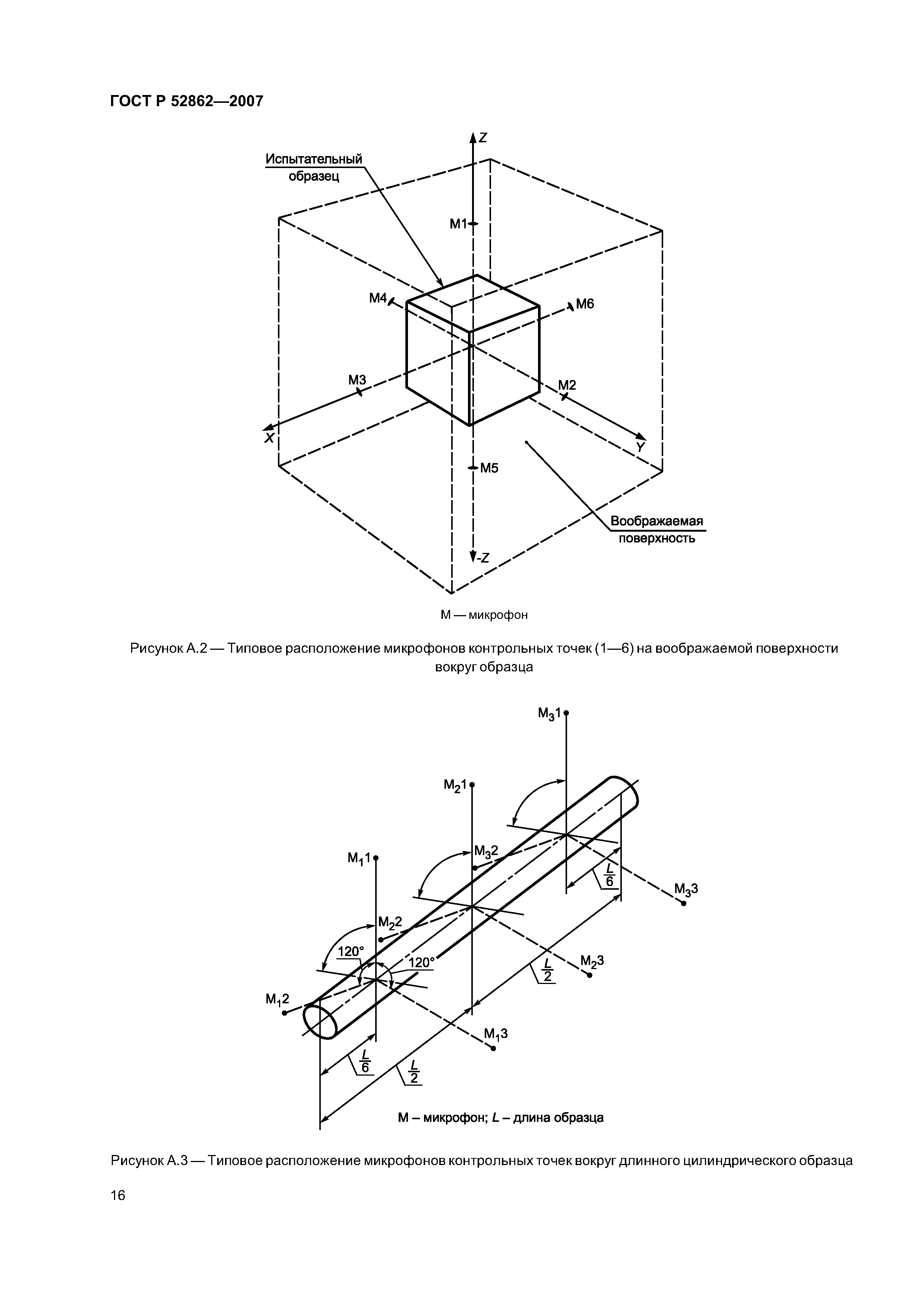
| Оглавление: | 1 Область применения 2 Нормативные ссылки 3 Термины и определения 4 Внешние акустические воздействия и общие требования к испытаниям 5 Жесткости 6 Начальная стабилизация 7 Начальные проверки и измерения 8 Испытания 9 Промежуточные измерения 10 Конечная стабилизация 11 Заключительные проверки и измерения 12 Информация, указываемая в НД на образец Приложение А (рекомендуемое) Руководство по испытаниям Приложение Б (справочное) Библиография |
| Разработан: | ТК 341 Внешние воздействия |
| Утверждён: | 27.12.2007 Федеральное агентство по техническому регулированию и метрологии (511-ст) |
| Издан: | Стандартинформ (2008 г. ) |
| Нормативные ссылки: |
|


























