Скачать Общемашиностроительные нормативы времени и режимов резания на токарно-автоматные работы. Часть I. Револьверные и многошпиндельные горизонтальные токарные автоматы. Среднесерийное, крупносерийное и массовое производство

Дата актуализации: 01.01.2021

Общемашиностроительные нормативы времени и режимов резания на токарно-автоматные работы. Часть I. Револьверные и многошпиндельные горизонтальные токарные автоматы. Среднесерийное, крупносерийное и массовое производство

Статус:действует
Название рус.:Общемашиностроительные нормативы времени и режимов резания на токарно-автоматные работы. Часть I. Револьверные и многошпиндельные горизонтальные токарные автоматы. Среднесерийное, крупносерийное и массовое производство
Дата добавления в базу:01.09.2013
Дата актуализации:01.01.2021
Область применения:Нормативы времени и режимов резания предназначены для расчета норм времени на операции, выполняемые на одношпиндельных токарно-револьверных или многошпиндельных токарных станках-автоматах и рекомендуются для применения на предприятиях машиностроения и металлообработки независимо от ведомственной подчиненности
Оглавление:Условные обозначения
Общая часть
   1. Назначение и структура нормативов
   2. Методические указания
   3. Примеры расчета режимов резания, норм времени и кулачков при обработке деталей на автоматах
   4. Организация работ на токарных автоматах
      Нормативная часть
      Раздел 1. Общие технологические условия
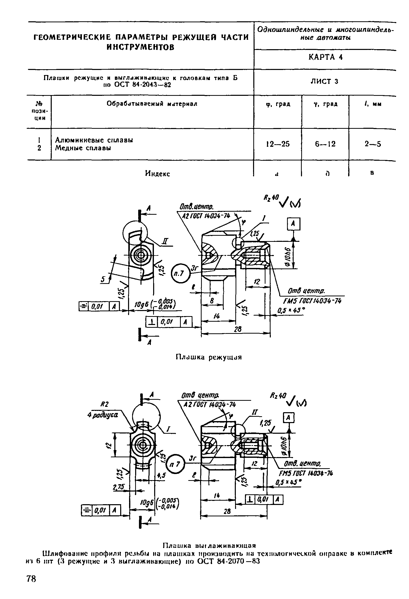
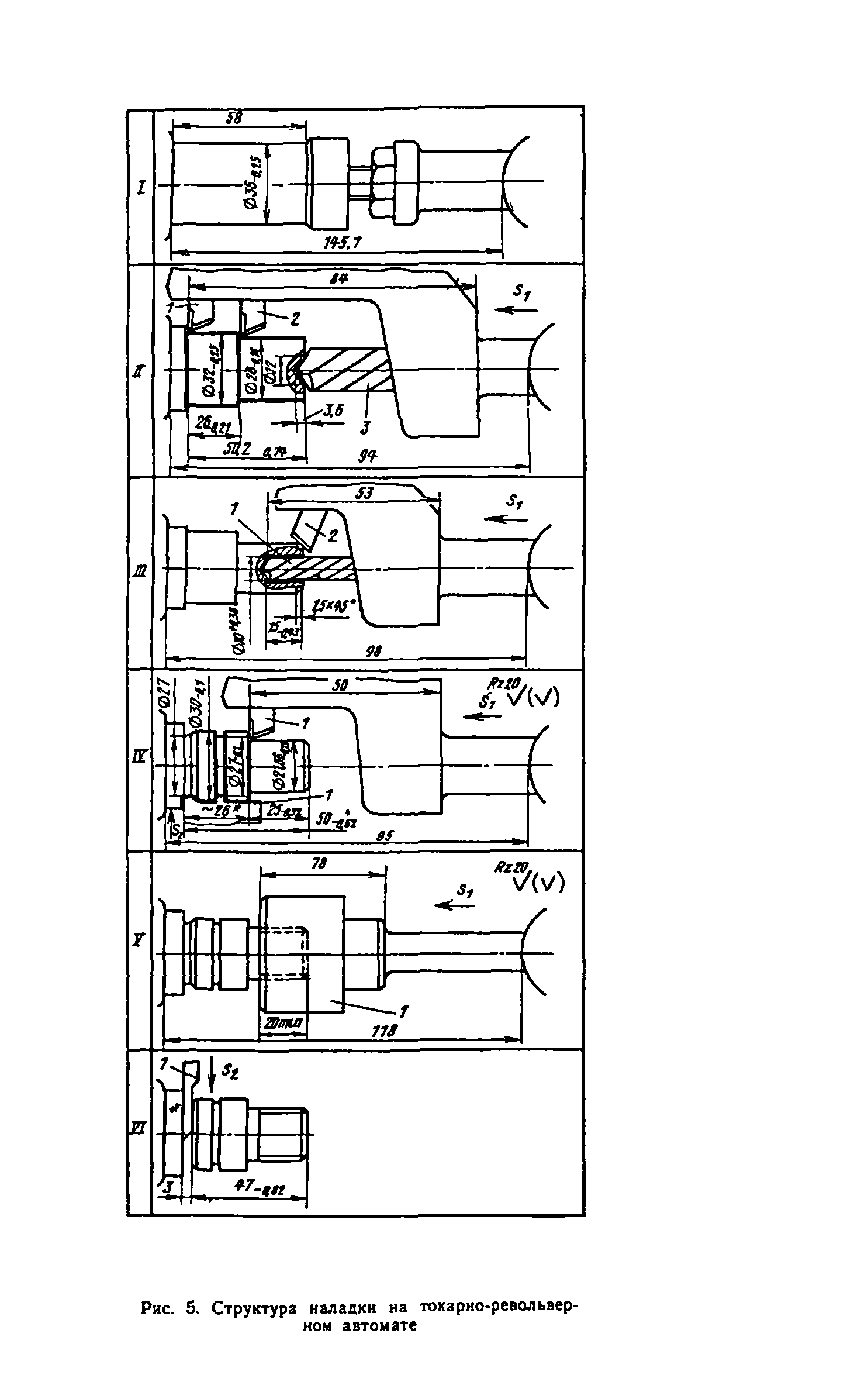
      Раздел 2. Наладка автомата
      Раздел 3. Режимы резания
      Раздел 4. Укрупненные нормативы времени
      Раздел 5. Нормативы времени на комплексы приемов
      Раздел 6. Элементные нормативы времени
Приложения
Разработан: Челябинский политехнический институт
ЦБНТ
Издан: Издательство Экономика (1989 г. )
Заменяет собой:
  • «Общемашиностроительные нормативы времени и режимов резания на токарно-автоматные работы» (Машиностроение, 1959, 1962, 1970)