Скачать Рекомендации по технологии производства и применения холодных асфальтобетонных смесей диспергированным битумомДата актуализации: 01.01.2021 |
| Статус: | действует |
| Название рус.: | Рекомендации по технологии производства и применения холодных асфальтобетонных смесей диспергированным битумом |
| Дата добавления в базу: | 01.09.2013 |
| Дата актуализации: | 01.01.2021 |
| Дата введения: | 14.07.1987 |
| Область применения: | В Рекомендациях приведены технологии производства и применения холодных асфальтобетонных смесей (типа асфальтового бетона) с диспергированным битумом |
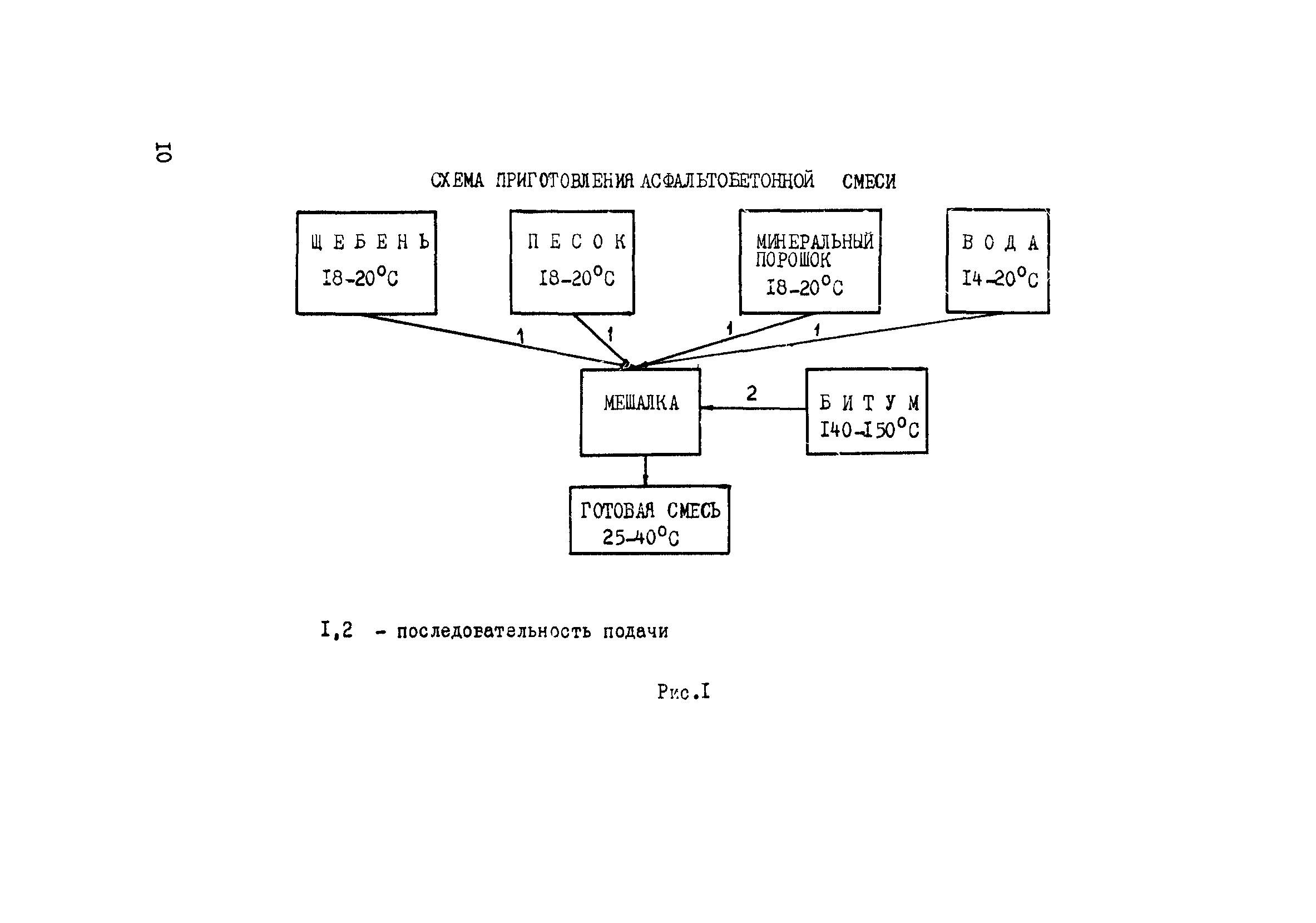
| Оглавление: | Предисловие 1. Общие положения 2. Требования к материалам 3. Составы и свойства асфальтобетонных смесей 4. Технология приготовления асфальтобетонных смесей 5. Устройство покрытий из асфальтобетонных смесей 6. Уплотнение асфальтобетонных смесей 7. Контроль качества 8. Техника безопасности при устройстве покрытий из холодных асфальтобетонных смесей |
| Утверждён: | Министерство автомобильных дорог РСФСР |
| Принят: | 14.07.1987 Главдортех Минавтодора РСФСР (Glavdortekh, Russian Federation Minavtodor ГПТУ-1-2/362) |
| Нормативные ссылки: |
|















