Скачать Рекомендации по гидрогеологическим расчетам для определения границ 2 и 3 поясов зон санитарной охраны подземных источников хозяйственно-питьевого водоснабжения

Дата актуализации: 01.01.2021

Рекомендации по гидрогеологическим расчетам для определения границ 2 и 3 поясов зон санитарной охраны подземных источников хозяйственно-питьевого водоснабжения

Статус:действует
Название рус.:Рекомендации по гидрогеологическим расчетам для определения границ 2 и 3 поясов зон санитарной охраны подземных источников хозяйственно-питьевого водоснабжения
Дата добавления в базу:01.09.2013
Дата актуализации:01.01.2021
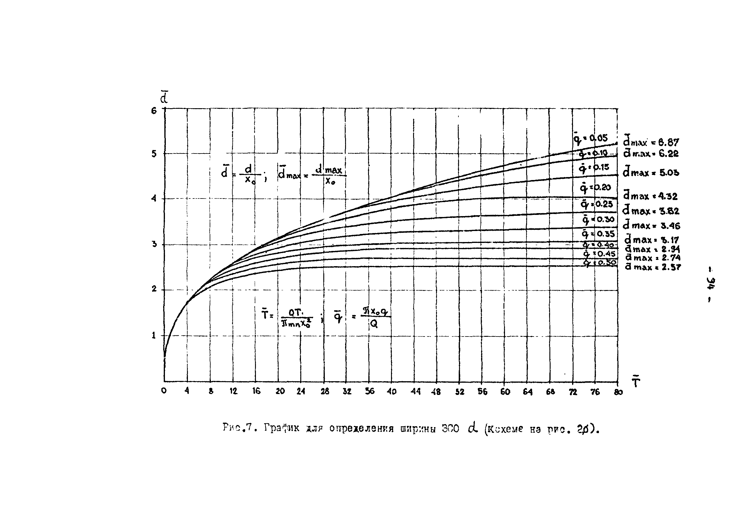
Область применения:Рекомендации содержат основные положения об организации зон санитарной охраны водозаборов подземных вод, аналитические и графоаналитические методы расчетов для определения границ ЗСО водозаборов в различных гидрогеологических условиях.
Оглавление:Предисловие
1 Санитарная охрана водозаборов подземных вод
   1.1. Общие положения
   1.2. Назначение поясов ЗСО и определение их границ
   1.3. Основные водоохранные мероприятия на территории ЗСО водозаборов подземных вод
   1.4. Водоохранные мероприятия на реках и водоемах, входящих в ЗСО водозаборов подземных вод
2 Гидрогеологические расчеты для определения границ зон санитарной охраны водозаборов подземных вод (общие положения)
3 Береговые водозаборы
   3.1. Одиночные скважины и компактные группы взаимодействующих скважин (сосредоточенные водозаборы) вблизи гидравлически совершенных водотоков и водоемов
      3.1.1. Естественный поток направлен к реке
      3.1.2. Естественный поток отсутствует
      3.1.3. Естественный поток направлен от реки
      3.1.4. Естественный поток параллелен реке
   3.2. Береговые водозаборы в виде линейных рядов скважин
      3.2.1. Естественный поток подземных вод направлен к реке
      3.2.2. Естественный поток отсутствует
      3.2.3. Естественный поток подземных вод направлен от реки в сторону берега
      3.2.4. Естественный поток подземных вод параллелен реке
   3.3. Учет фильтрационного несовершенства речных русел при расчете ЗСО
4 Водозаборы в удалении от рек
   4.1. Одиночные скважины и компактные группы взаимодействующих скважин в изолированных водоносных горизонтах в удалении от поверхностных водотоков и водоемов
   4.2. Линейные водозаборные сооружения в удалении от реки
5 Об оценке дополнительного питания водоносных пластов при расчете ЗСО
6 Графоаналитический метод построения ЗСО
Литература
Условные обозначения
Утверждён:12.08.1983 ВНИИ ВОДГЕО (VODGEO VNII )
Издан: ВНИИ ВОДГЕО (1983 г. )