Скачать Временное руководство по проектированию заводов металлоконструкций. Нормы технологического проектирования

Дата актуализации: 01.01.2021

Временное руководство по проектированию заводов металлоконструкций. Нормы технологического проектирования

Статус:не действует
Название рус.:Временное руководство по проектированию заводов металлоконструкций. Нормы технологического проектирования
Дата добавления в базу:01.09.2013
Дата актуализации:01.01.2021
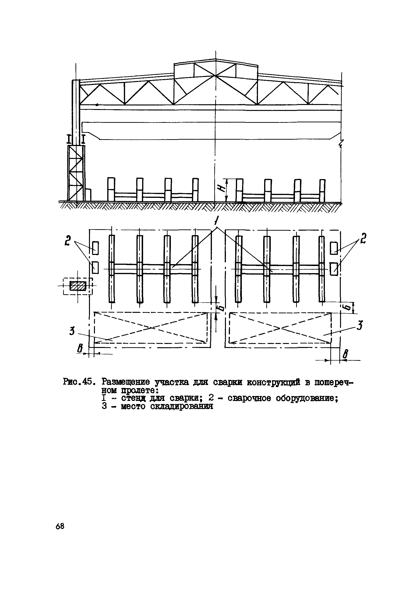
Область применения:В Руководстве изложены основные положения по расчету технологической части основного производства заводов металлоконструкций мощностью от 20 тыс. т. в год, приведены нормы определения числа работающих, выбора и установки оборудования, площадей, энергоносителей и ряд других данных, необходимых для проектирования заводов.
Оглавление:Введение
1 Режим работы и фонды времени оборудования и рабочих
2 Расстояния между оборудованием и элементами зданий
3 Цеховые проезды и проходы
4 Загрузка и номенклатура основного технологического оборудования основных цехов
5 Состав работающих
6 Обслуживание производственными рабочими единицы оборудования
7 Организация складского хозяйства и механизация транспортно-складских операций
8 Данные для разработки строительной части проекта
9 Требования безопасности, охраны труда, противопожарная техника и производственная санитария
10 Расход основных материалов при изготовлении металлоконструкций
11 Расход энергоносителей
12 Условные обозначения, применяемые на технологических планах цехов заводов металлоконструкций
13 Рекомендуемый типовой состав завода металлоконструкций
14 Нормы загрузки железнодорожных платформ при перевозке строительных металлоконструкций промышленных зданий и сооружений
15 Соотношения между некоторыми единицами физических величин, подлежащих изъятию, и единицами СИ
Литература
Разработан: ЦНИИпроектстальконструкция
Утверждён: Госстрой СССР (Государственный комитет Совета Министров СССР по делам строительства) (USSR Gosstroy )
Союзметаллостройниипроект (Soyuzmetallostroyniiproject )
Главпромстройпроект Госстроя СССР
Нормативные ссылки: