Скачать Типовой проект 902-2-354 Альбом 3. ИзделияДата актуализации: 01.01.2021
|
| Обозначение: | Типовой проект 902-2-354 |
| Обозначение англ: | 902-2-354 |
| Статус: | не определен законодательством |
| Название рус.: | Альбом 3. Изделия |
| Дата добавления в базу: | 01.09.2013 |
| Дата актуализации: | 01.01.2021 |
| Дата введения: | 01.04.1983 |
| Дата окончания срока действия: | 30.06.2003 |
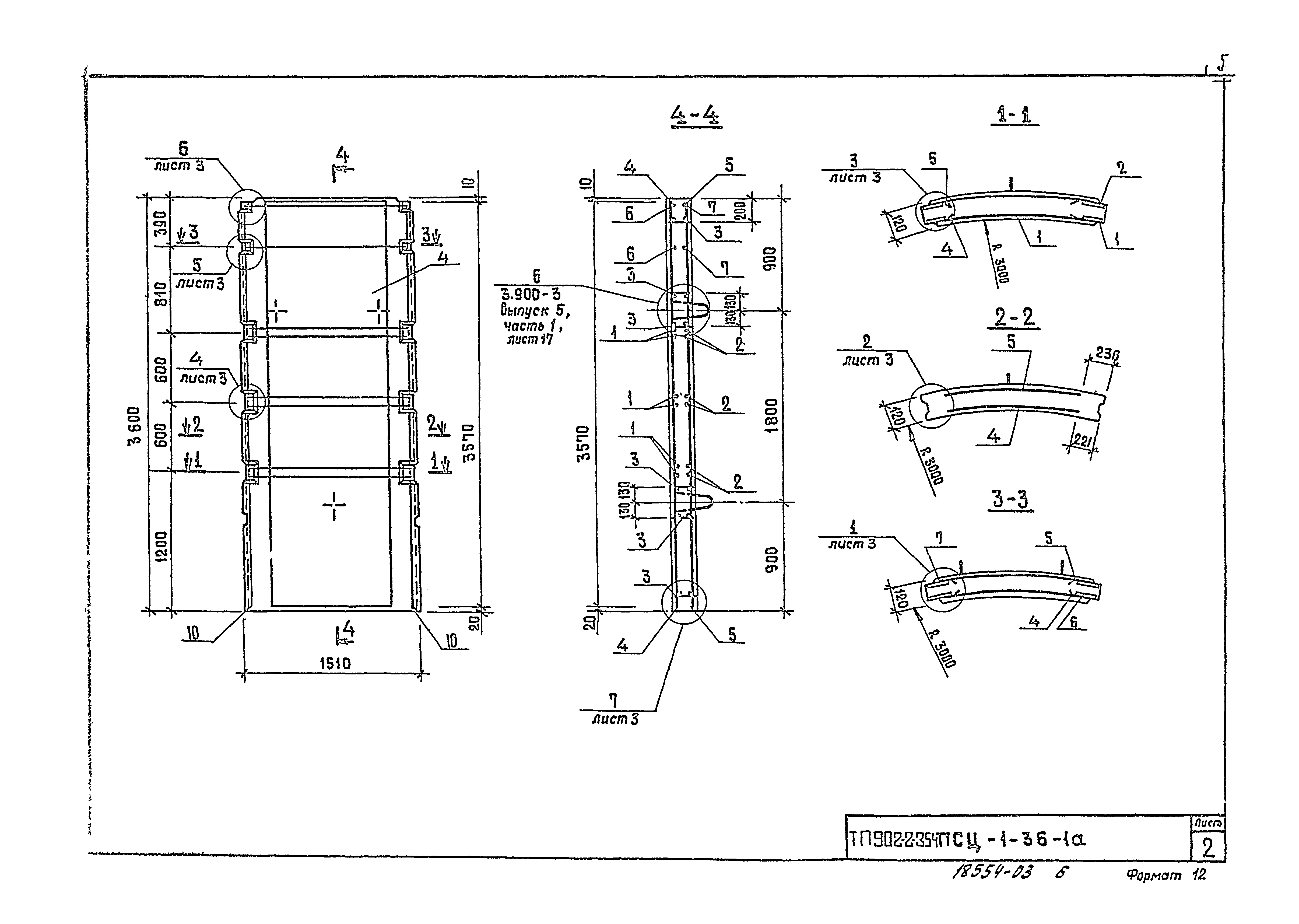
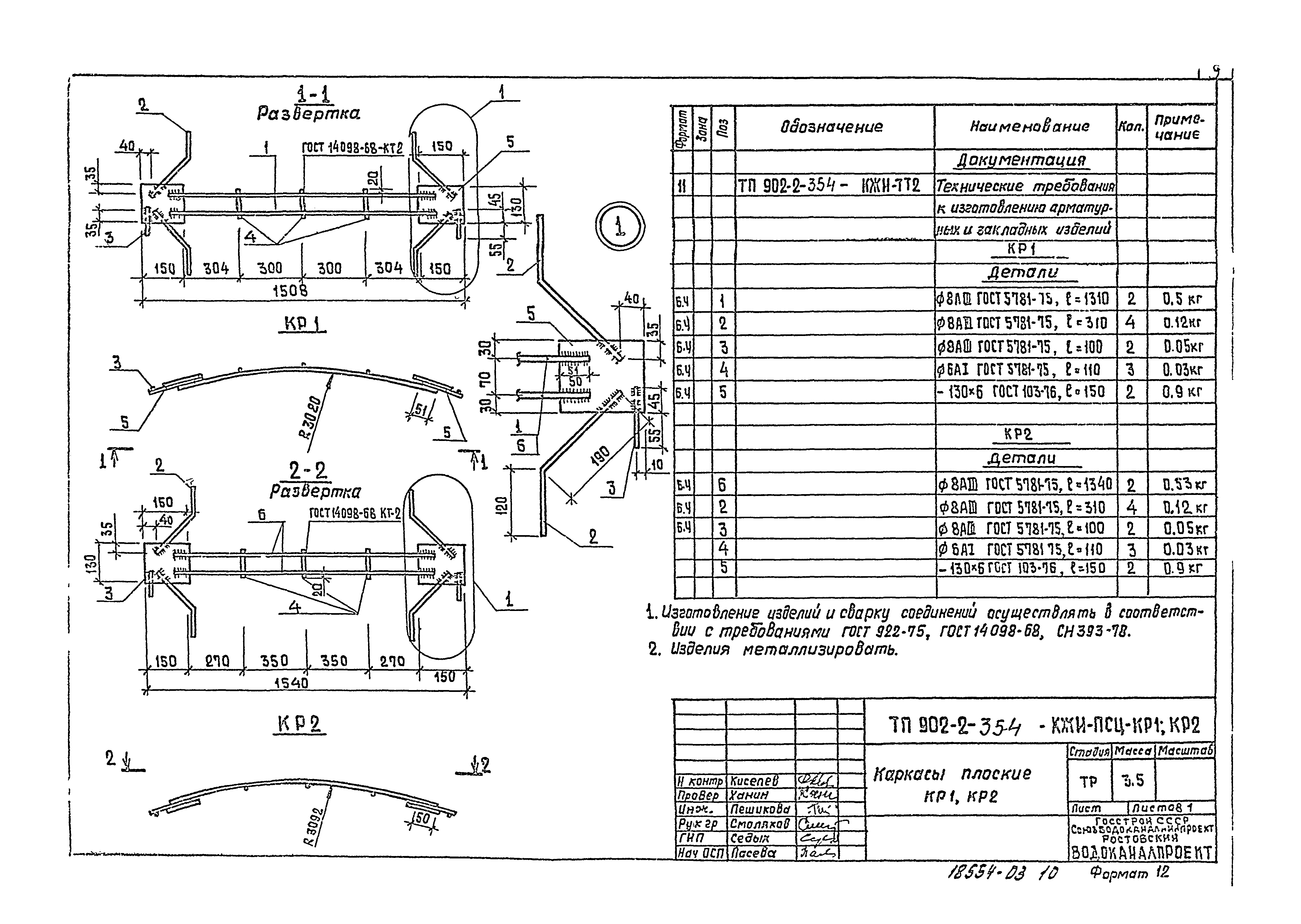
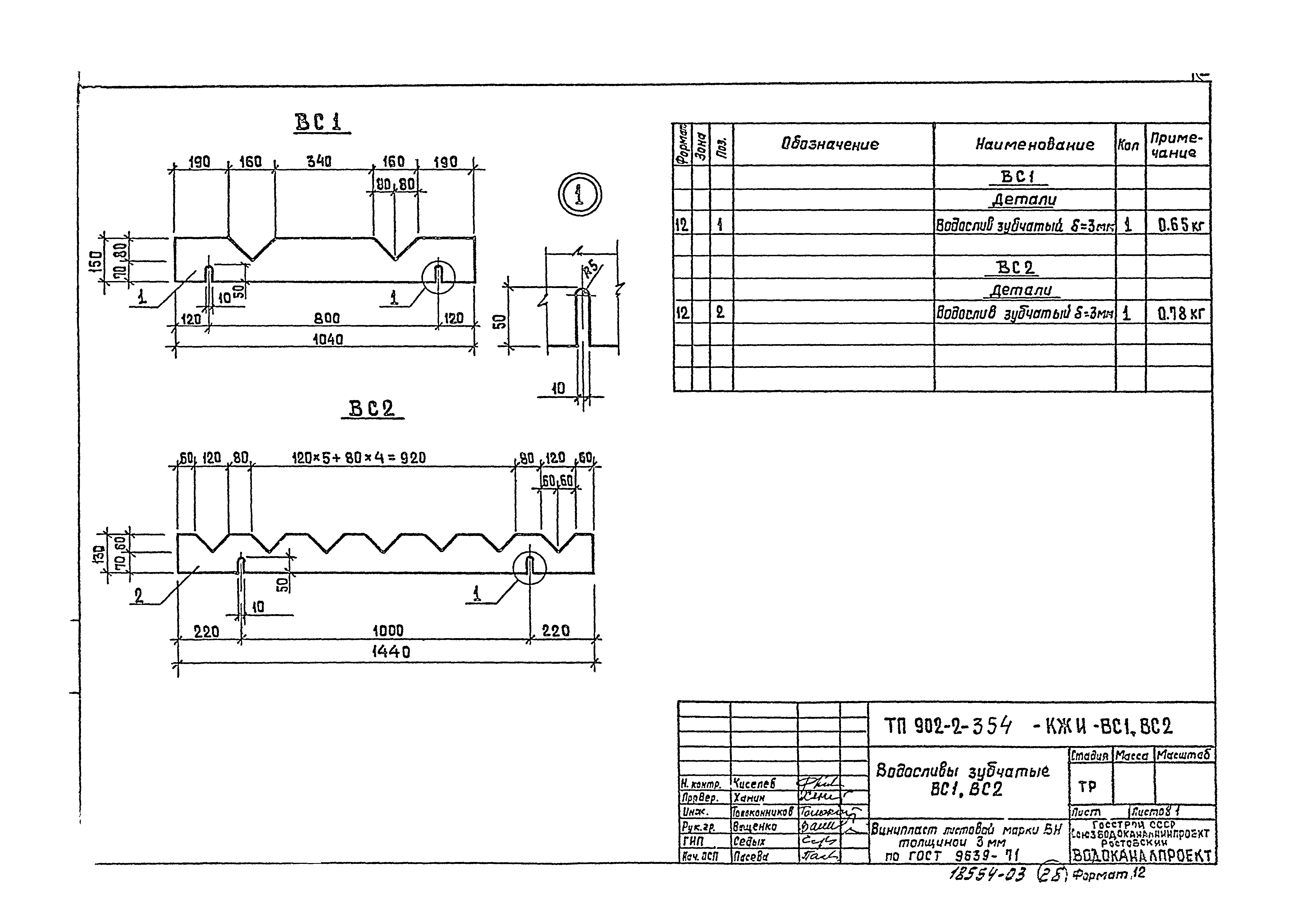
| Оглавление: | Содержание листов альбома Технические требования к изготовлению сборных железобетонных изделий Технические требования к изготовлению арматурных и закладных изделий Панели стеновые Панель стеновая ПСЦ1-36-1а Панель стеновая ПСЦ1-36-1б, ПСЦ1-36-1в, ПСЦ1-36-1г Панель стеновая ПСЦ1-36-1д, ПСЦ1-36-1е, ПСЦ1-36-1ж Каркасы плоские КР1, КР2 Каркасы плоские КР3 Сетка арматурная С1, С2 Изделия закладные МН1, МН2 Изделия закладные МН3 Плита перекрытия Плита перекрытия КЦП1-15-2а Изделие закладное МН1 Лотки Лоток ЛТ1б-3-2 Лоток ЛТ1в-3-2 Лоток ЛТ1б-4,5-3 Сетка арматурная С1 Сетка арматурная С2 Сетка арматурная С3 Сетка арматурная С4 Сетка арматурная С5 Сетка арматурная С6 Сетка арматурная С7 Сетка арматурная С8 Сетка арматурная С9 Изделия монолитные железобетонные Каркас пространственный КП1 Каркас плоский КР1 Каркас плоский КР2 Сетка арматурная С1 Сетка арматурная С2 Сетка арматурная С3 Сетка арматурная С4 Изделие закладное МН1 Прочие изделия Водосливы зубчатые ВС1, ВС2 |
| Разработан: | Союзводоканалпроект Ростовский Водоканалпроект |
| Утверждён: | 25.08.1982 Госстрой СССР (Государственный комитет Совета Министров СССР по делам строительства) (USSR Gosstroy 32) |




























