Скачать Типовой проект 902-2-358 Альбом 3. ИзделияДата актуализации: 01.01.2021
|
| Обозначение: | Типовой проект 902-2-358 |
| Обозначение англ: | 902-2-358 |
| Статус: | не определен законодательством |
| Название рус.: | Альбом 3. Изделия |
| Дата добавления в базу: | 01.09.2013 |
| Дата актуализации: | 01.01.2021 |
| Дата введения: | 27.01.1983 |
| Дата окончания срока действия: | 30.06.2003 |
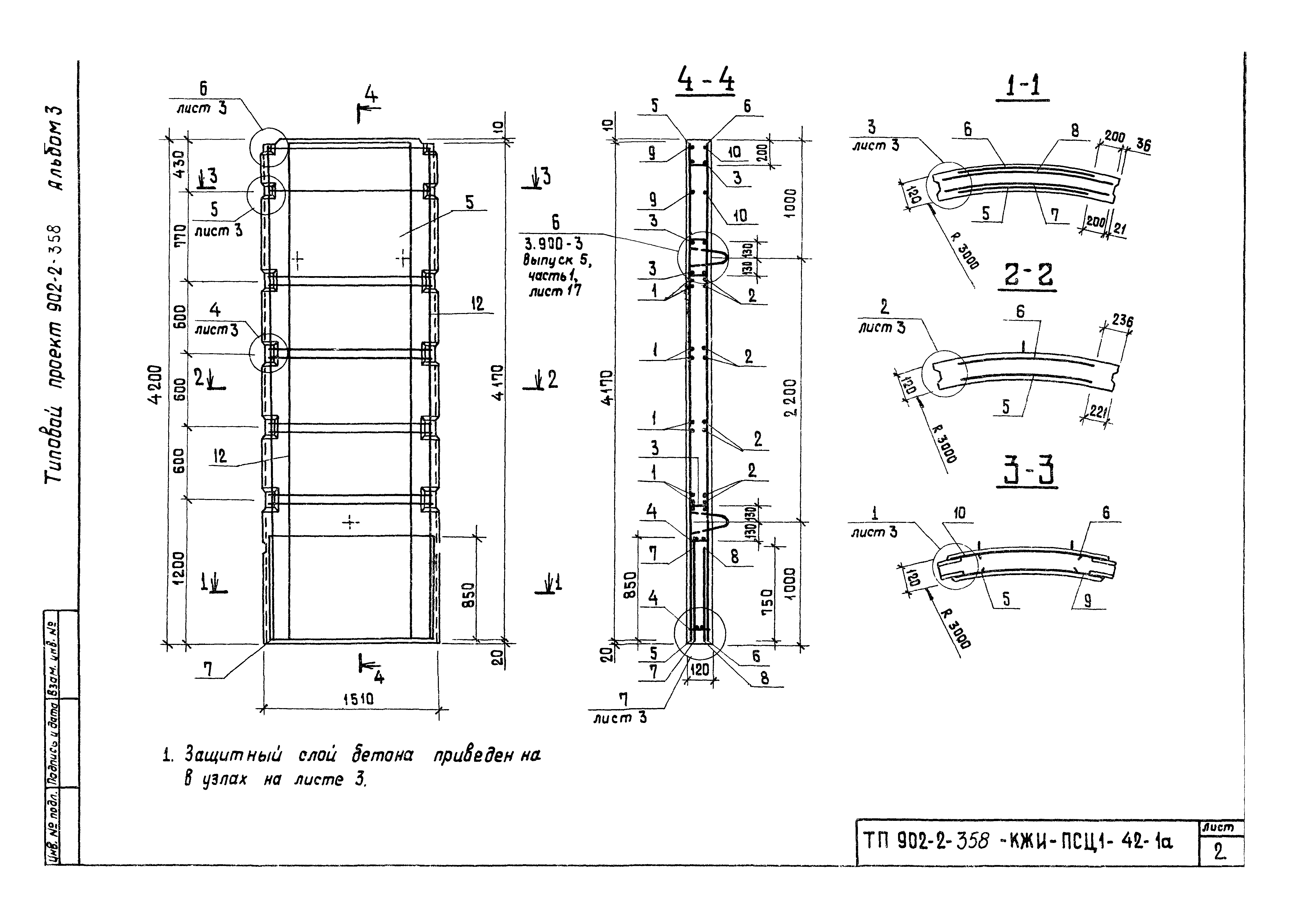
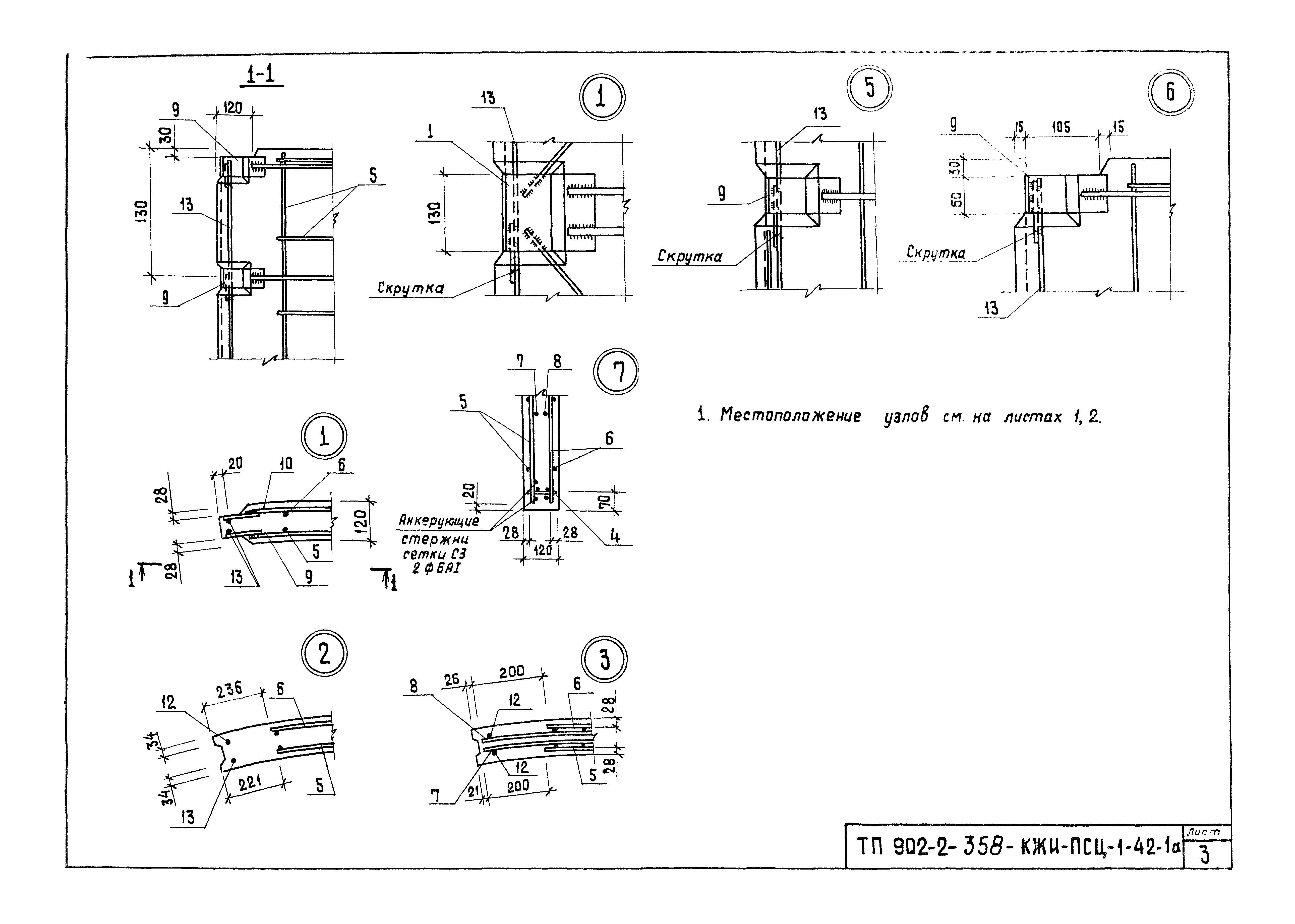
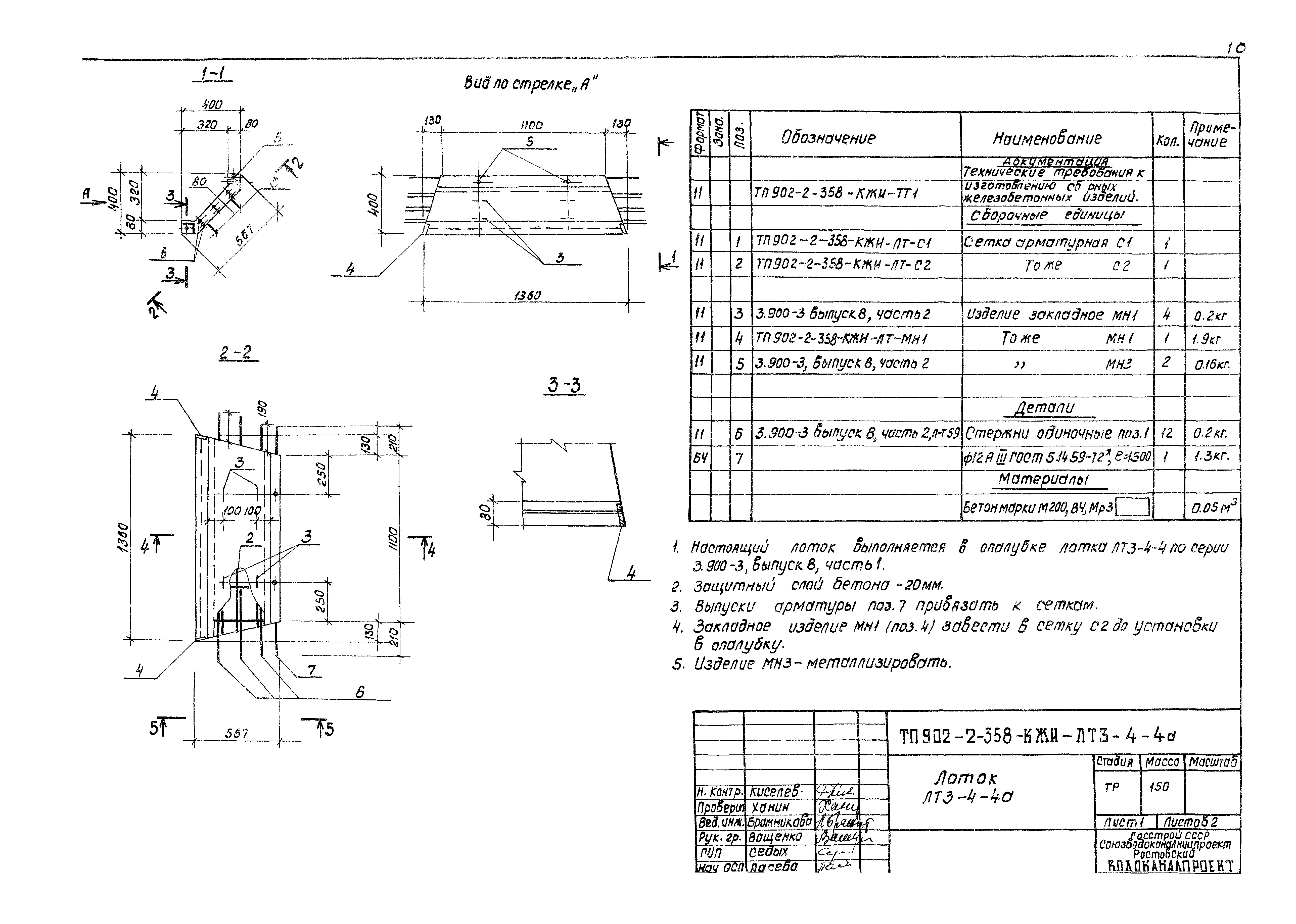
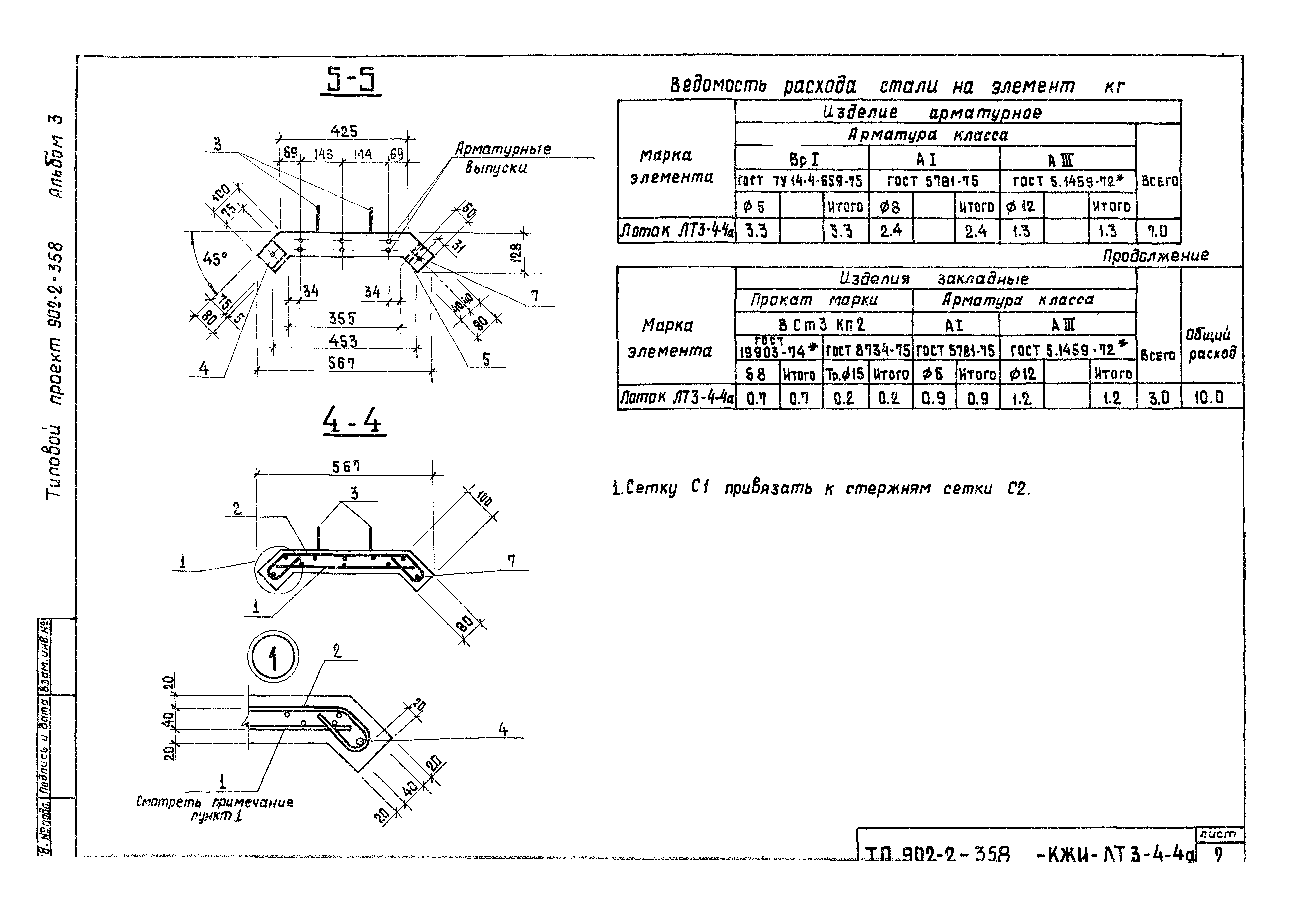
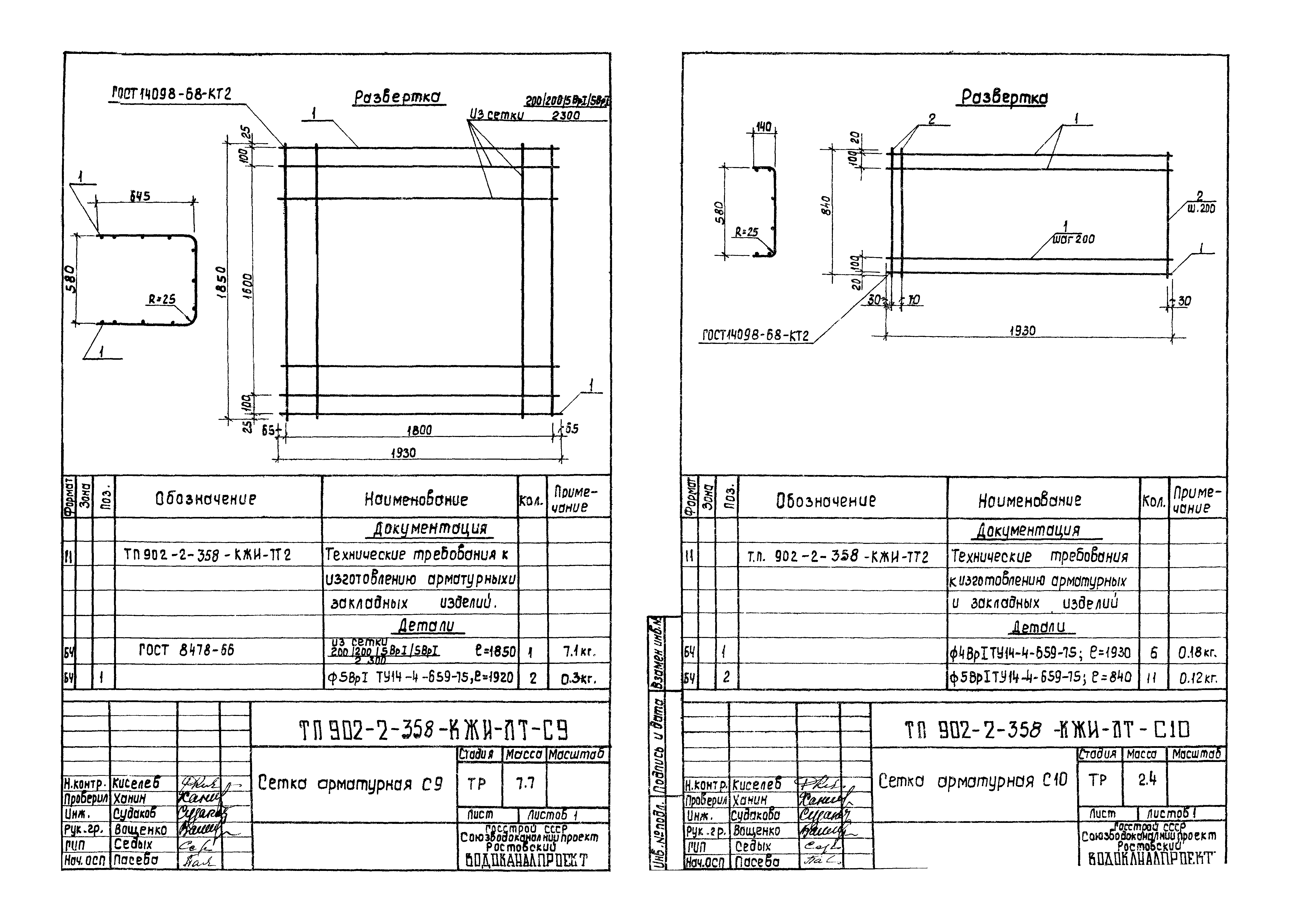
| Оглавление: | Содержание альбома Технические требования к изготовлению сборных железобетонных изделий Технические требования к изготовлению арматурных и закладных изделий Панели стеновые Панель стеновая ПСИ1-42-1А Панель стеновая ПСЦ1-42-1Б, ПСЦ1-42-1В, ПСЦ1-42-1Г Панель стеновая ПСЦ1-42-1Д, ПСЦ1-42-1Е Каркасы плоские КР1, КР2 Каркасы плоские КР3, КР4 Сетка арматурная С1, С2 Сетка арматурная С3 Сетка арматурная С4 Изделия закладные МН1, МН2 Изделие закладное МН3 Изделие закладное МН4 Изделие соединительное МС1 Плита перекрытия Плита перекрытия КЦП1-15-20 Изделие закладное МН1 Балка Балка Б1 Каркас пространственный КП1 Каркас плоский КР1 Лотки Лоток ЛТ3-4-4а Лоток ЛТ1Б-3-2, ЛТ1В-3-2 Лоток ЛТ1Б-6-4,5 Сетка арматурная С1 Сетка арматурная С2 Сетка арматурная С3 Сетка арматурная С4 Сетка арматурная С5 Сетка арматурная С6 Сетка арматурная С7 Сетка арматурная С8 Сетка арматурная С9 Сетка арматурная С10 Сетка арматурная С11 Каркас плоский КР1 Изделие закладное МН1 Изделия монолитные железобетонные Каркас пространственный КП1 Каркас пространственный КП2 Каркас плоский КР1 Каркас плоский КР2 Сетка арматурная С1 Сетка арматурная С2 Сетка арматурная С3 Сетка арматурная С4 Сетка арматурная С5 Изделие закладное МН1 Прочие изделия Водосливы зубчатые ВС1, ВС2 |
| Разработан: | Союзводоканалпроект Ростовский Водоканалпроект |
| Утверждён: | 25.08.1982 Главпромстройпроект Госстроя СССР (32) |
| Заменяет собой: |




































