Скачать Типовой проект 902-2-356 Альбом 3. ИзделияДата актуализации: 01.01.2021
|
| Обозначение: | Типовой проект 902-2-356 |
| Обозначение англ: | 902-2-356 |
| Статус: | не определен законодательством |
| Название рус.: | Альбом 3. Изделия |
| Дата добавления в базу: | 01.09.2013 |
| Дата актуализации: | 01.01.2021 |
| Дата введения: | 27.01.1983 |
| Дата окончания срока действия: | 30.06.2003 |
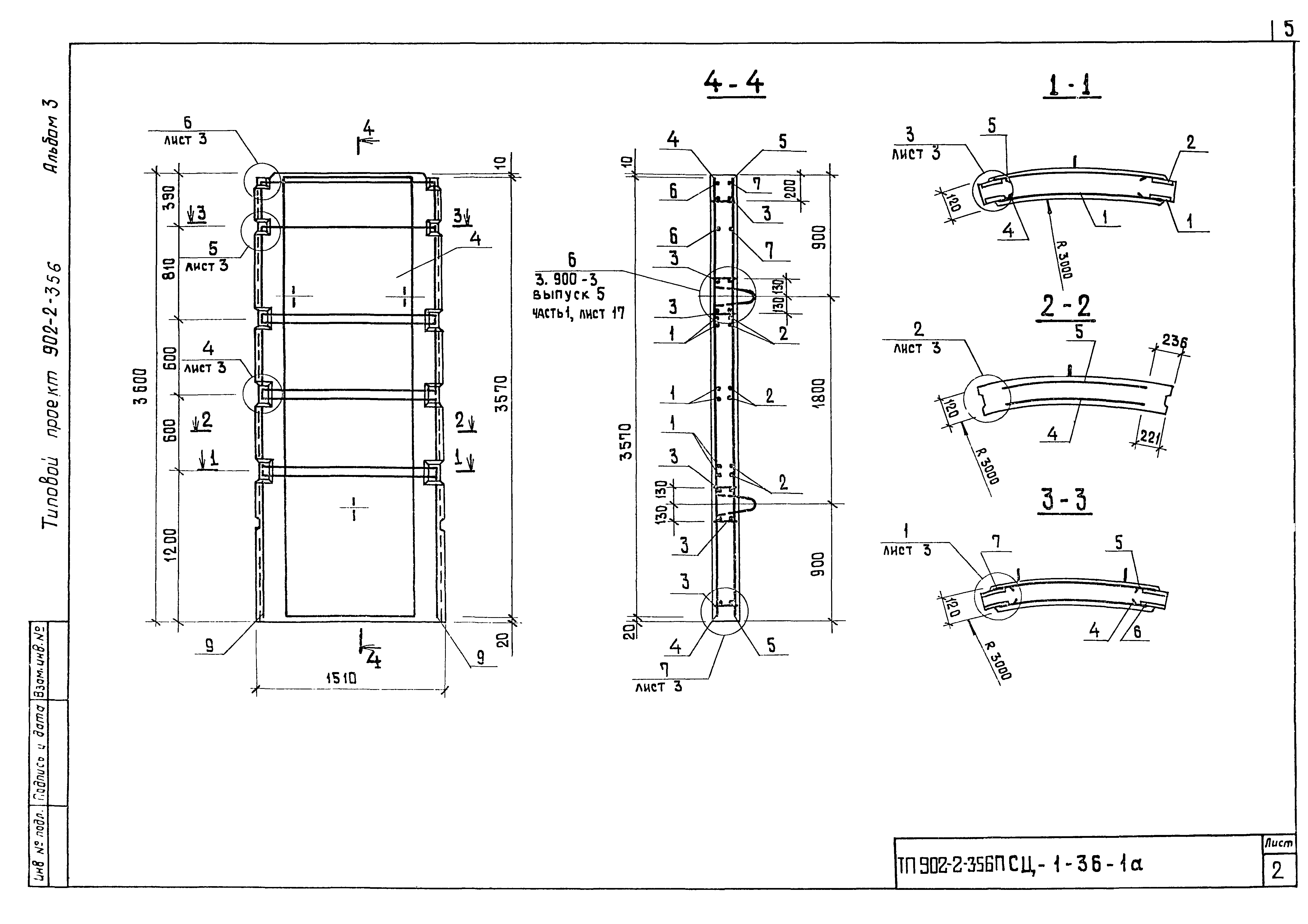
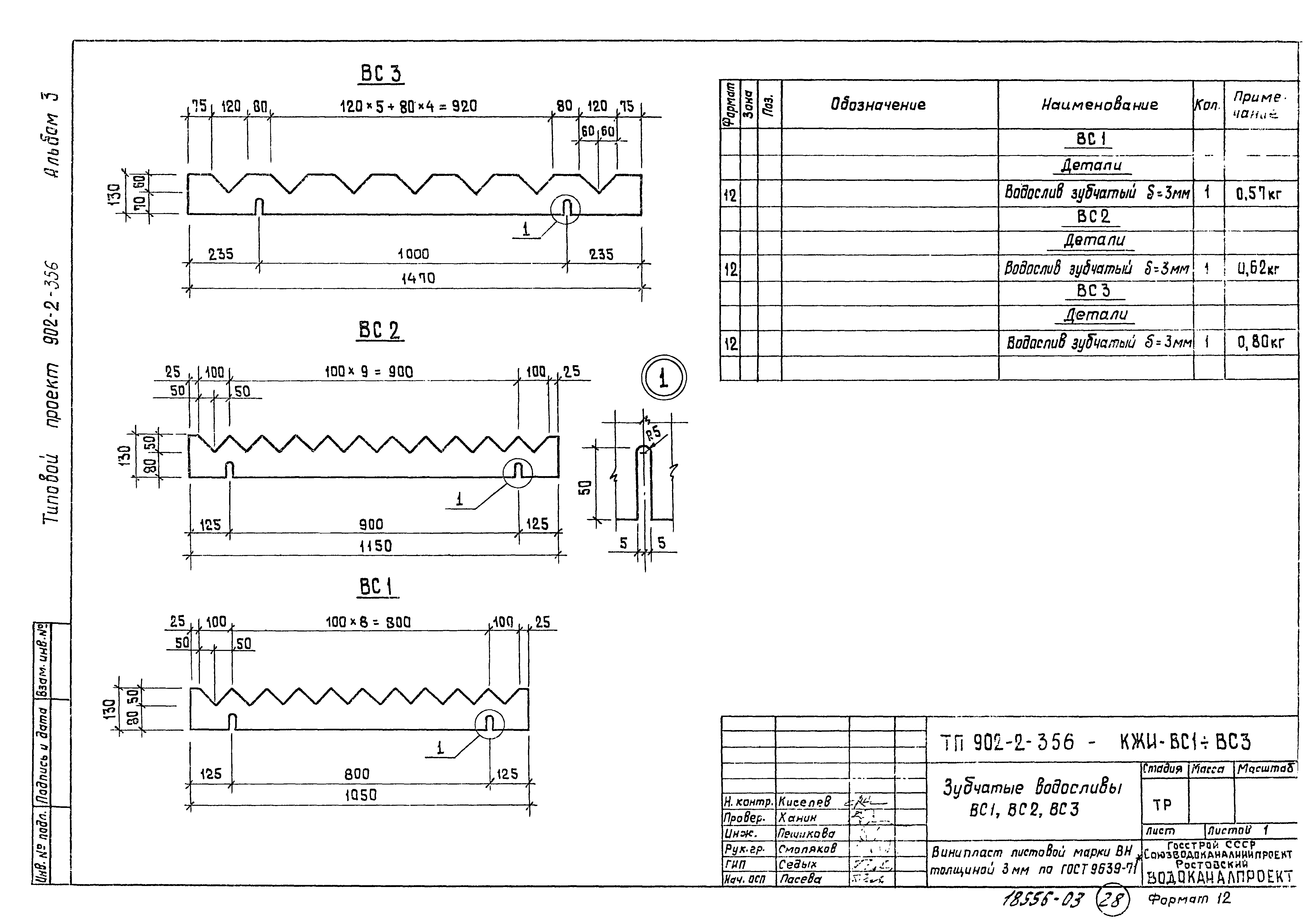
| Оглавление: | Содержание альбома Технические требования к изготовлению сборных железобетонных изделий То же к изготовлению арматурных и закладных изделий Панели стеновые Панель стеновая ПСЦ1-36-1а Панель стеновая ПСЦ1-36-1б, ПСЦ1-36-1в Панель стеновая ПСЦ1-36-1г, ПСЦ1-36-1д, ПСЦ1-36-1е Каркасы плоские КР1, КР2 Каркас плоский КР3 Сетка арматурная С1, С2 Изделия закладные МН1, МН2 Изделия закладные МН3 Плита перекрытия Плита перекрытия КЦП1-15-2а Изделие закладное МН1 Лотки Лоток ЛТ1б-3-2 Лоток ЛТ1в-3-2 Лоток ЛТ1б-4,5-3 Сетка арматурная С1 Сетка арматурная С2 Сетка арматурная С3 Сетка арматурная С4 Сетка арматурная С5 Сетка арматурная С6 Сетка арматурная С7 Сетка арматурная С8 Сетка арматурная С9 Изделие закладное МН1 Изделия монолитные железобетонные Каркас пространственный КП1 Каркас плоский КР1 Каркас плоский КР2 Сетка арматурная С1 Сетка арматурная С2 Сетка арматурная С3 Сетка арматурная С4 Изделие закладное МН1 Прочие изделия Водосливы зубчатые ВС1, ВС2, ВС3 |
| Разработан: | Союзводоканалпроект Ростовский Водоканалпроект |
| Утверждён: | 25.08.1982 Главпромстройпроект Госстроя СССР (32) |




























