Скачать Серия 2.830-3 Выпуск 1. Узлы стен. Рабочие чертежиДата актуализации: 01.01.2021
|
| Обозначение: | Серия 2.830-3 |
| Обозначение англ: | Series 2.830-3 |
| Статус: | не действует |
| Название рус.: | Выпуск 1. Узлы стен. Рабочие чертежи |
| Дата добавления в базу: | 01.09.2013 |
| Дата актуализации: | 01.01.2021 |
| Дата введения: | 08.06.1983 |
| Дата окончания срока действия: | 01.05.1999 |
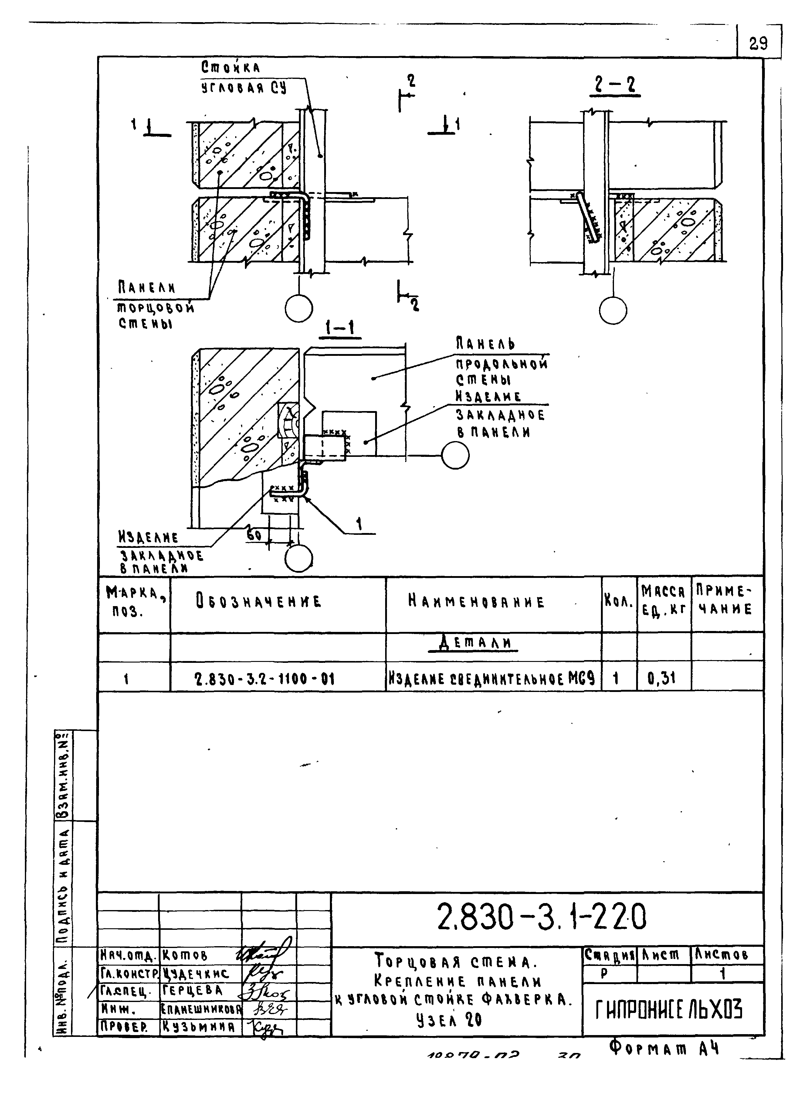
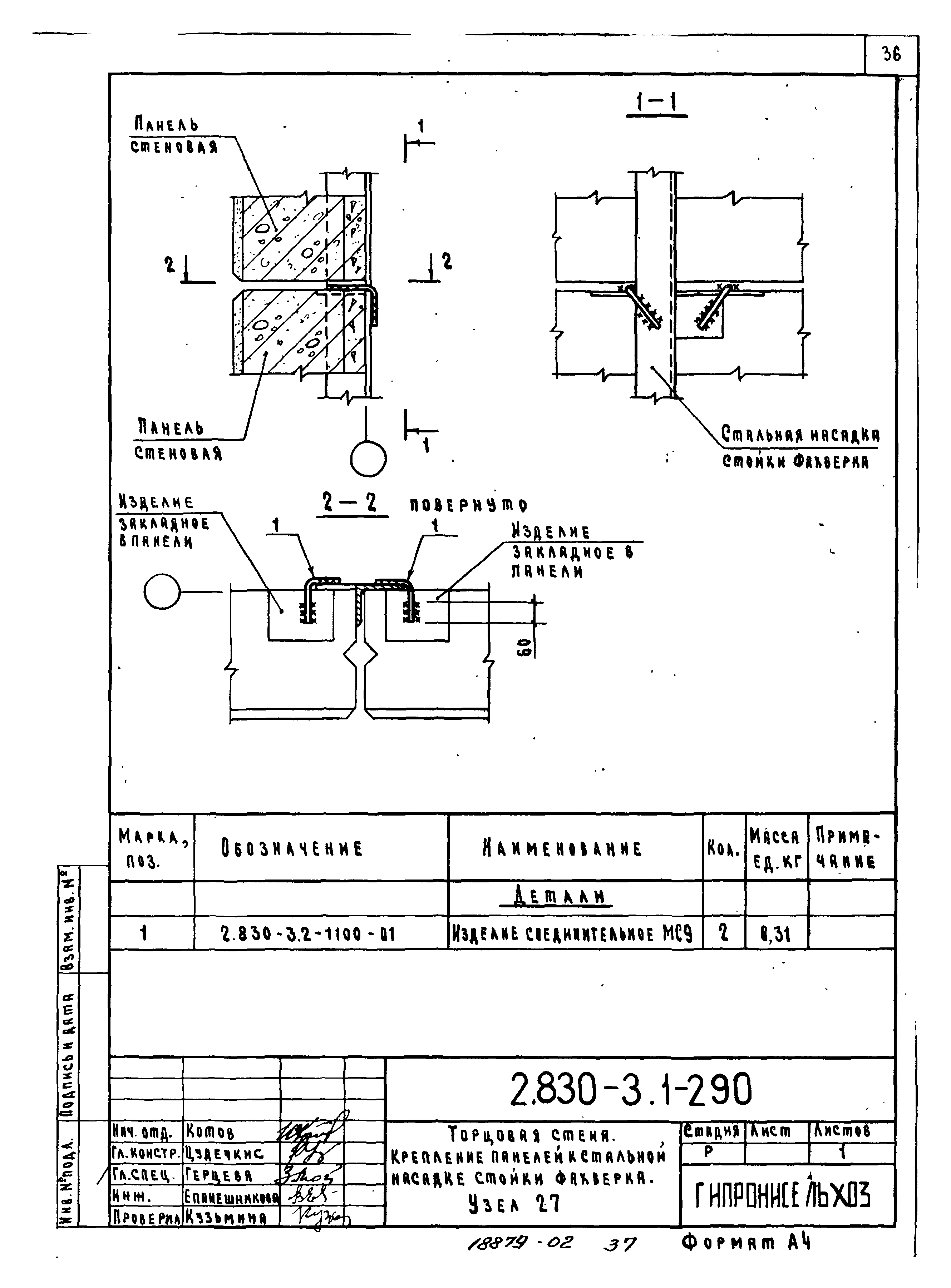
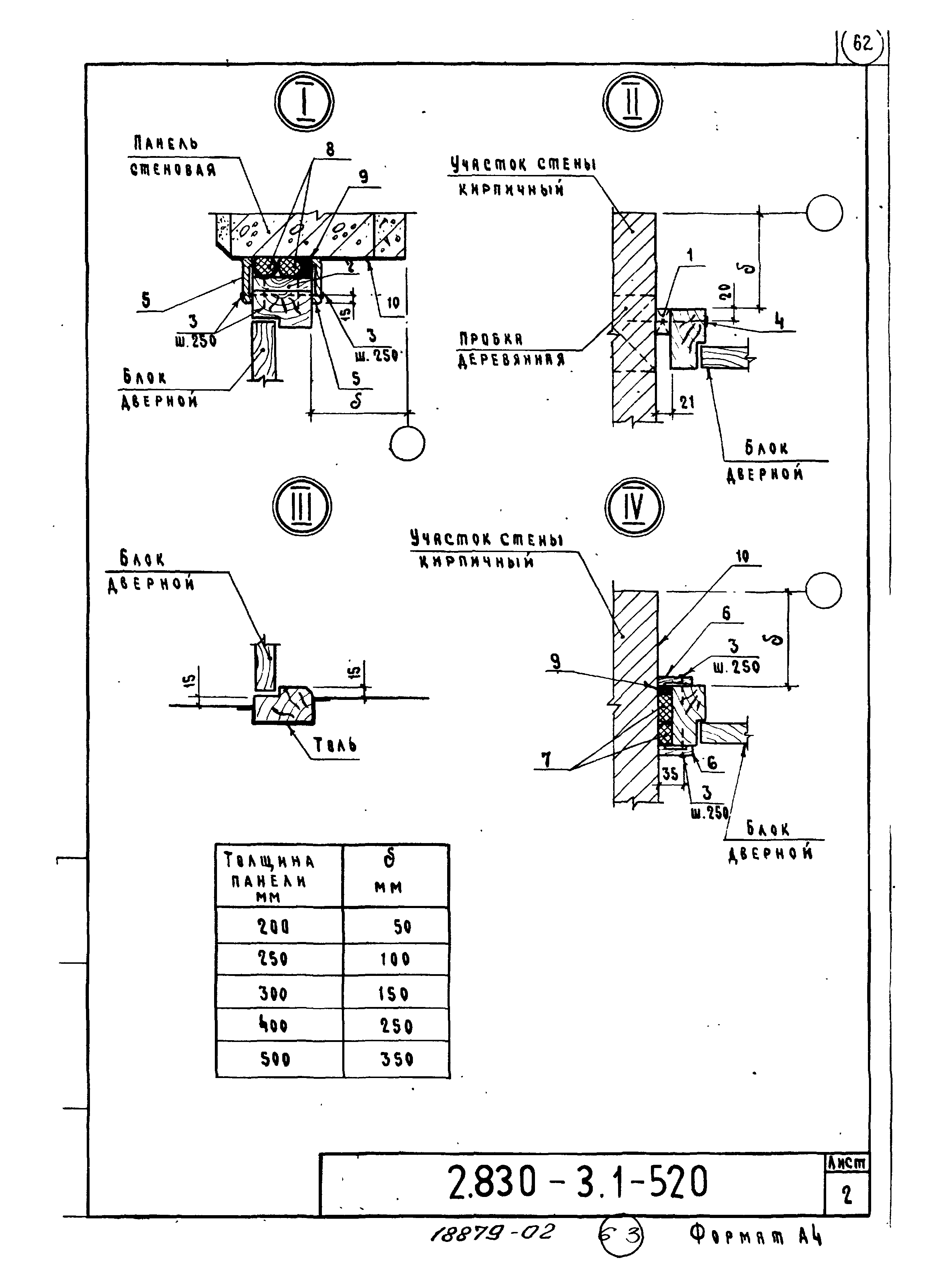
| Оглавление: | 2.830-3.1-000 ПЗ Пояснительная записка 2.830-3.1-010 Заполнения швов между панелями. Шов вертикальный 2.830-3.1-020 Заполнения швов между панелями. Шов горизонтальный. Заделка выемки для монтажной петли. Шов температурный 2.830-3.1-030 Заполнение шва между панелями и балками фундаментными. Узел 1 2.830-3.1-040 Продольная стена. Крепление панели к колонне или раме крайнего ряда. Узел 2 2.830-3.1-050 Продольная стена. Крепление простеночной панели к колонне или раме крайнего ряда. Узел 3 2.830-3.1-060 Продольная стена. Крепление простеночной панели. Узел 4 2.830-3.1-070 Продольная стена. Крепление панели к железобетонной стропильной конструкции крайнего ряда. Узел 5 2.830-3.1-080 Продольная стена. Крепление панели к колонне крайнего ряда. Узел 6 2.830-3.1-090 Продольная стена. Крепление панели к стальной ферме крайнего ряда. Узел 7 2.830-3.1-100 Продольная стена. Крепление панелей к колонне или раме. Узел 8 2.830-3.1-110 Продольная стена. Крепление простеночной панели к колонне или раме. Узел 9 2.830-3.1-120 Продольная стена. Крепление панели к железобетонной стропильной конструкции. Узел 10 2.830-3.1-130 Продольная стена. Крепление панели к колонне. Узел 11 2.830-3.1-140 Продольная стена. Крепление панелей к стальной ферме. Узел 12 2.830-3.1-150 Продольная стена. Крепление панели к колонне или раме у температурного шва. Узел 13 2.830-3.1-160 Продольная стена. Крепление простеночной панели к колонне или раме у температурного шва. Узел 14 2.830-3.1-170 Продольная стена. Крепление панели к железобетонной стропильной конструкции у температурного шва. Узел 15 2.830-3.1-180 Продольная стена. Крепление панели к колонне у температурного шва. Узел 16 2.830-3.1-190 Продольная стена. Крепление панели к стальной ферме у температурного шва. Узел 17 2.830-3.1-200 Торцовая стена. Крепление угловой панели к продольной стене. Узел 18 2.830-3.1-210 Торцовая стена. Крепление угловой стойки фахверка к панели продольной стены. Узел 19 2.830-3.1-220 Торцовая стена. Крепление панели к угловой стойке фахверка. Узел 20 2.830-3.1-230 Торцовая стена. Крепление панели к угловой стойке. Узел 21 2.830-3.1-240 Торцовая стена. Крепление панели к угловой стойке. Узел 22 2.830-3.1-250 Торцовая стена. Крепление панели к стальной насадке стойки фахверка. Узел 23 2.830-3.1-260 Торцовая стена. Крепление угловой стойки фахверка. Узел 24 2.830-3.1-270 Торцовая стена. Крепление угловой стойки фахверка и угловой панели к стойке. Узел 25 2.830-3.1-280 Торцовая стена. Крепление панели к стойке фахверка. Узел 26 2.830-3.1-290 Торцовая стена. Крепление панелей к стальной насадке стойки фахверка. Узел 27 2.830-3.1-300 Торцовая стена. Крепление панелей к стальной насадке стойки фахверка. Узел 28 2.830-3.1-310 Торцовая стена. Крепление панелей к стальной насадке стойки фахверка. Узел 29 2.830-3.1-320 Торцовая стена. Крепление панелей к стальной насадке стойки фахверка. Узел 30 2.830-3.1-330 Торцовая стена. Крепление панелей к стальной насадке стойки фахверка. Узел 31 2.830-3.1-340 Крепление панелей над дверным проемом. Узел 32 2.830-3.1-350 Торцовая стена. Крепление угловой стойки фахверка и панели к стойке. Узел 33 2.830-3.1-360 Установка изделий соединительных для крепления ворот. Узлы 34; 34А 2.830-3.1-370 Установка изделий соединительных для крепления дверных блоков. Узел 35 2.830-3.1-380 Крепление панели у дверного проема. Узел 36 2.830-3.1-390 Торцовая стена. Примыкание панели к кровле. Узел 37 2.830-3.1-400 Крепление кирпичного участка стены. Узел 38 2.830-3.1-410 Крепление кирпичного участка стены. Узел 39 2.830-3.1-420 Соединение панелей длиной 3,0 м. Узел 40 2.830-3.1-430 Крепление кирпичного участка стены. Узел 41 2.830-3.1-440 Обрамление кирпичного участка стены. Узел 42 2.830-3.1-450 Установка изделий соединительных для крепления оконных переплетов. Узлы 43; 44 2.830-3.1-460 Установка изделий соединительных для крепления ворот и дверей. Узлы 45; 46 2.830-3.1-470 Крепление стойки фахверка к стропильной конструкции. Узел 48 2.830-3.1-480 Крепление насадок и стоек фахверка. Узлы 49; 50 2.830-3.1-490 Крепление стойки фахверка к стропильной конструкции. Узел 51 2.830-3.1-500 Заполнение оконного проема 2.830-3.1-510 Заполнение дверного проема H = 3,0 м 2.830-3.1-520 Заполнение дверного проема H = 2,4 м |
| Разработан: | ГипроНИсельхоз (Институт Гипронисельхоз ) |
| Утверждён: | 08.06.1983 Госстрой СССР (Государственный комитет Совета Министров СССР по делам строительства) (USSR Gosstroy 113) |































































