Скачать Типовой проект 902-1-101.85 Альбом 6. Подземная часть. ИзделияДата актуализации: 01.01.2021
|
| Обозначение: | Типовой проект 902-1-101.85 |
| Обозначение англ: | 902-1-101.85 |
| Статус: | действует |
| Название рус.: | Альбом 6. Подземная часть. Изделия |
| Дата добавления в базу: | 01.09.2013 |
| Дата актуализации: | 01.01.2021 |
| Дата введения: | 18.09.1985 |
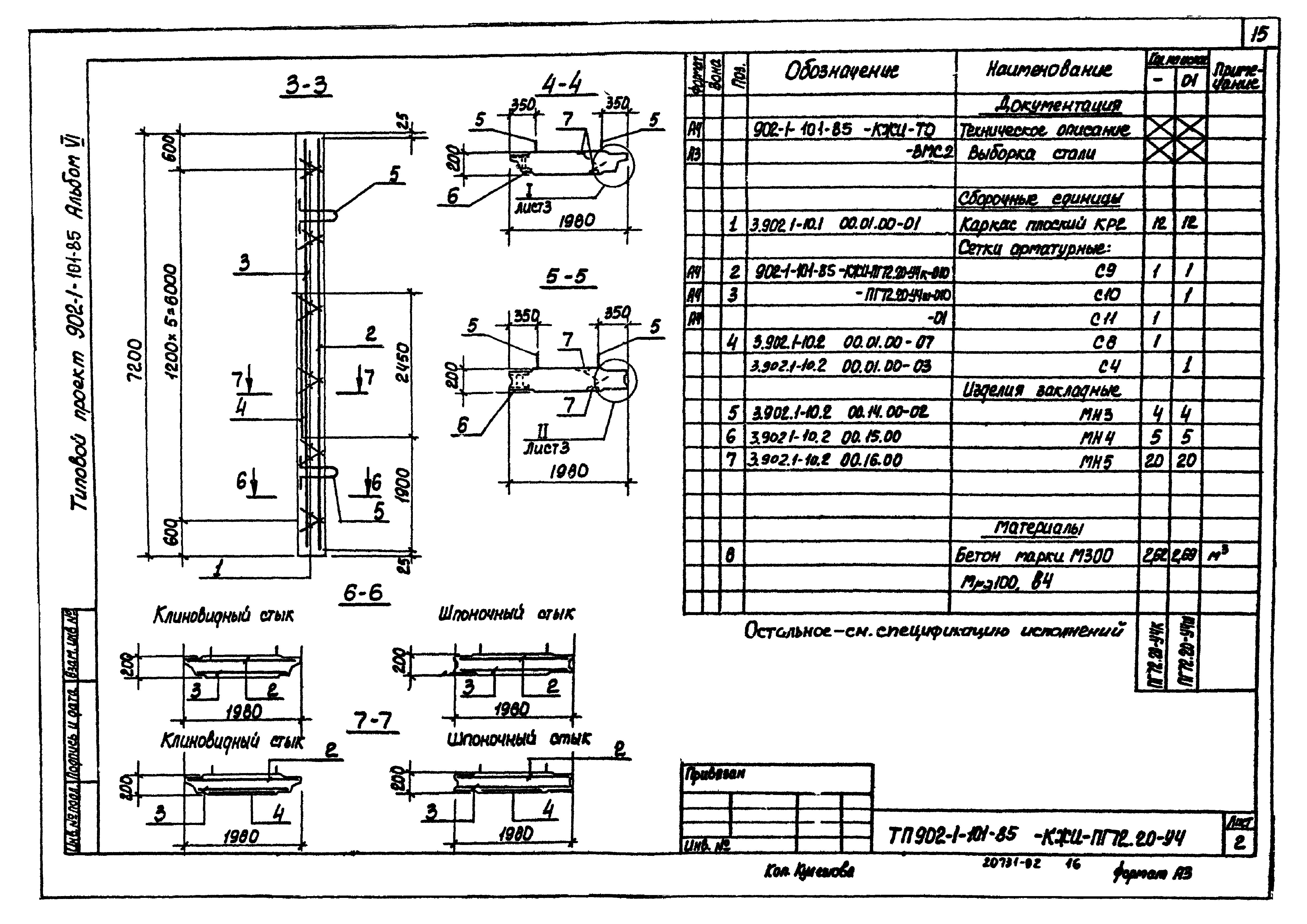
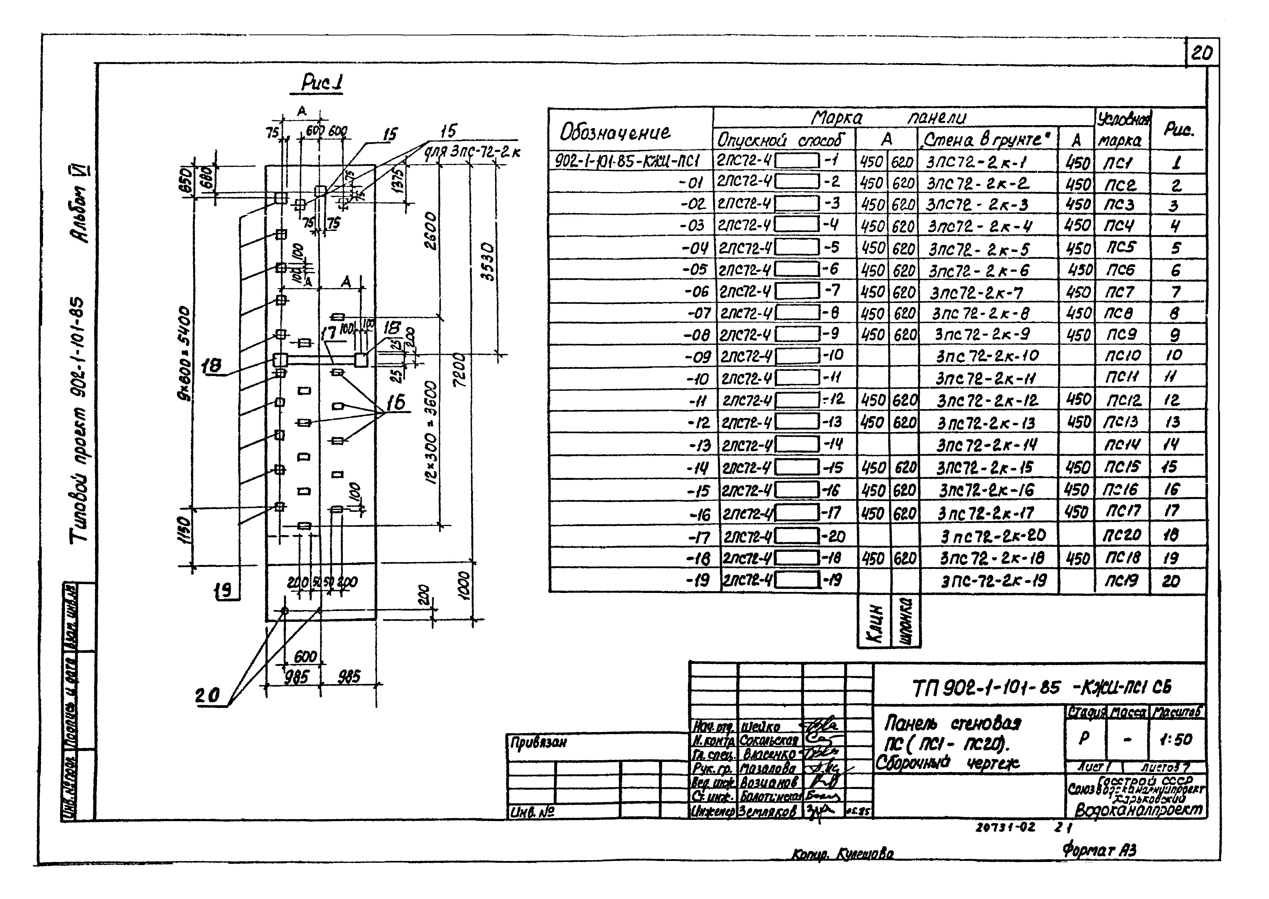
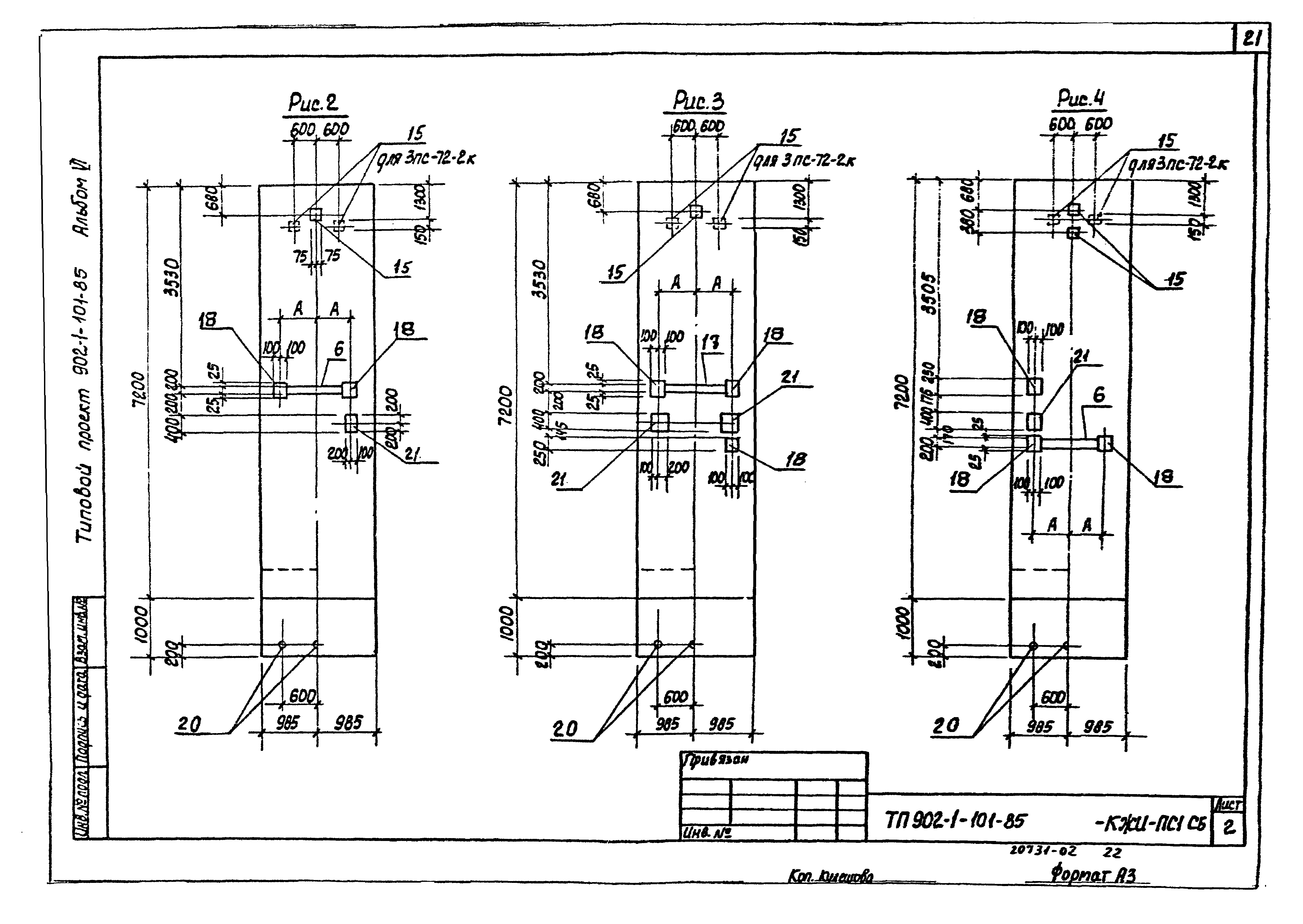
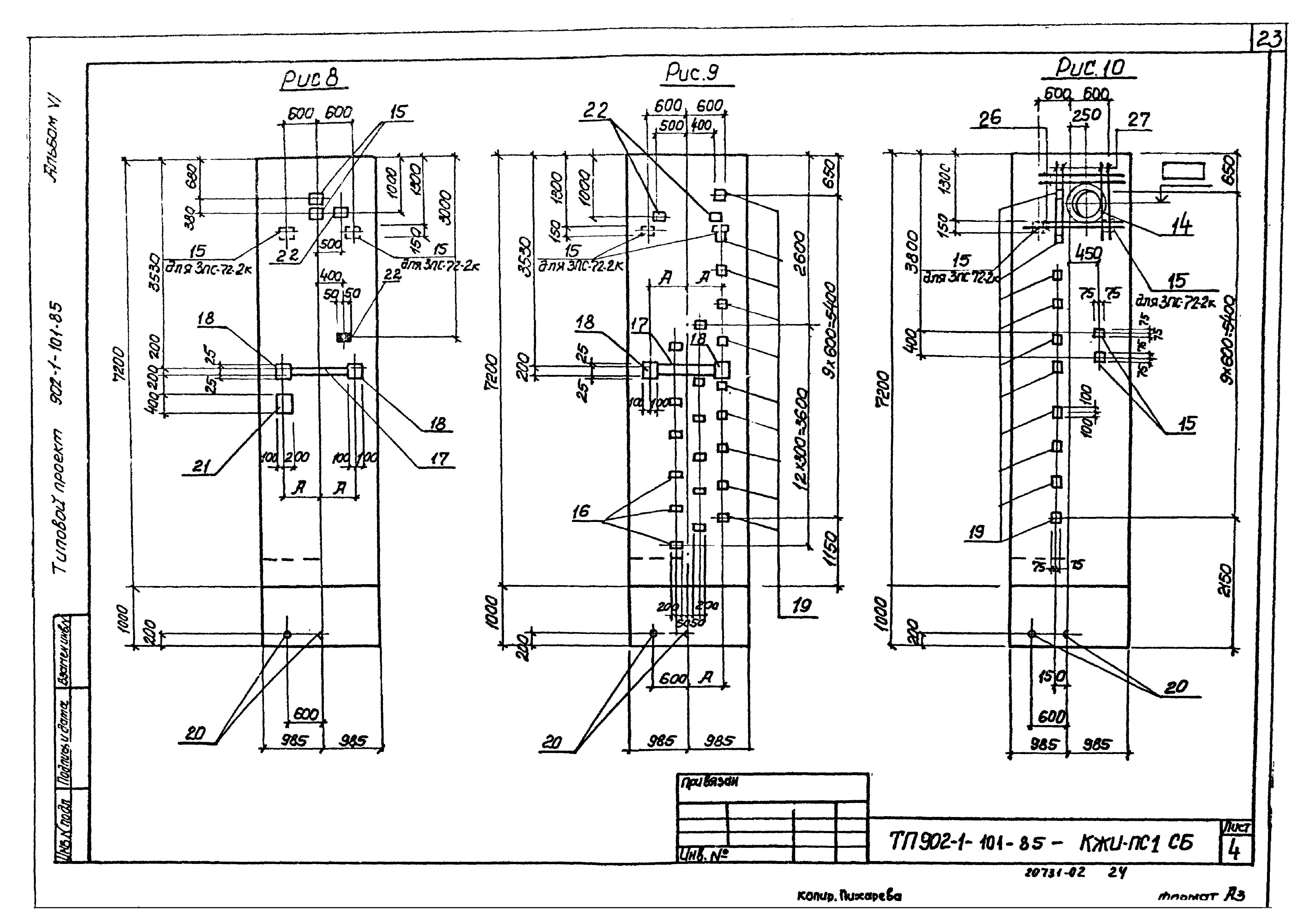
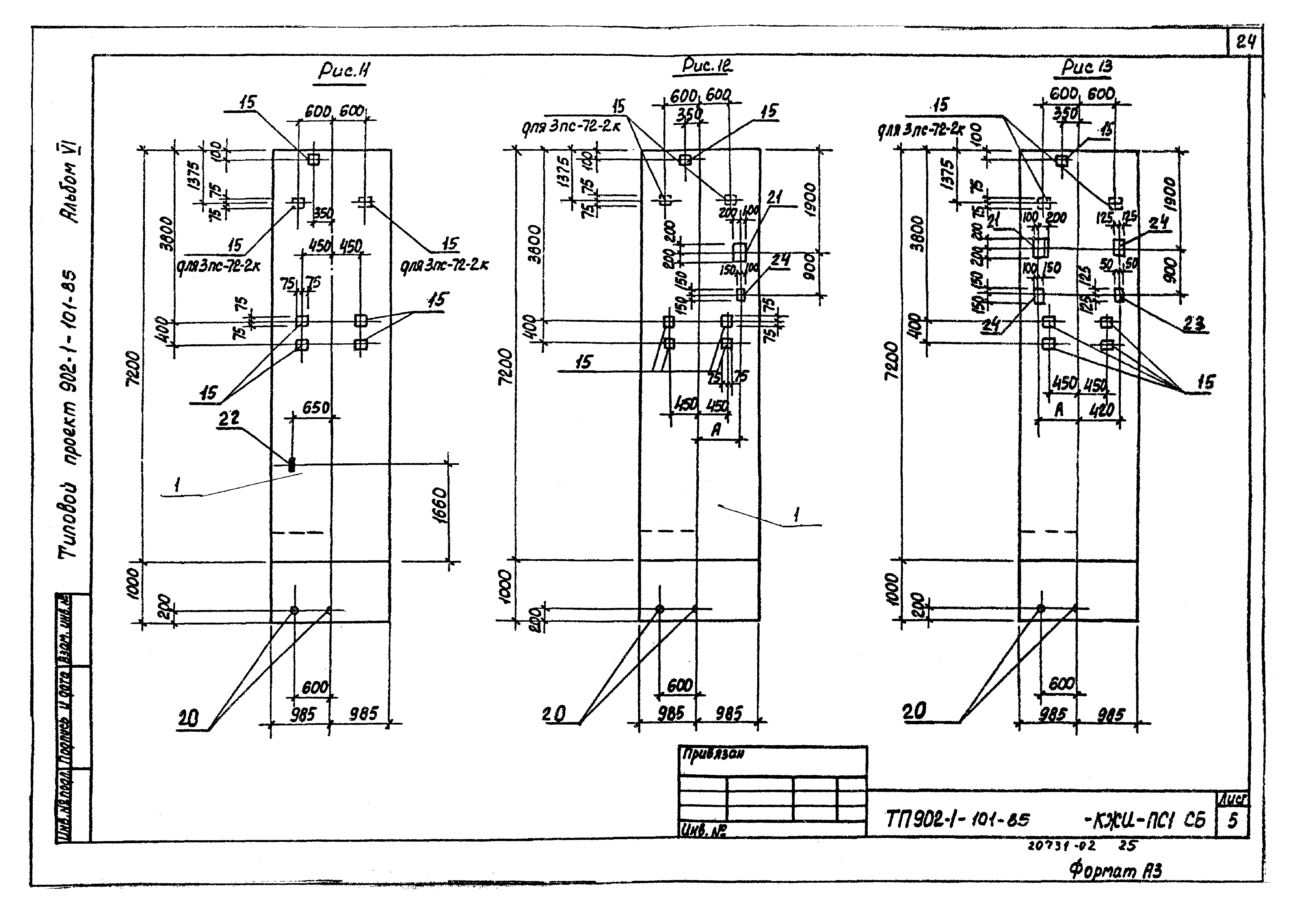
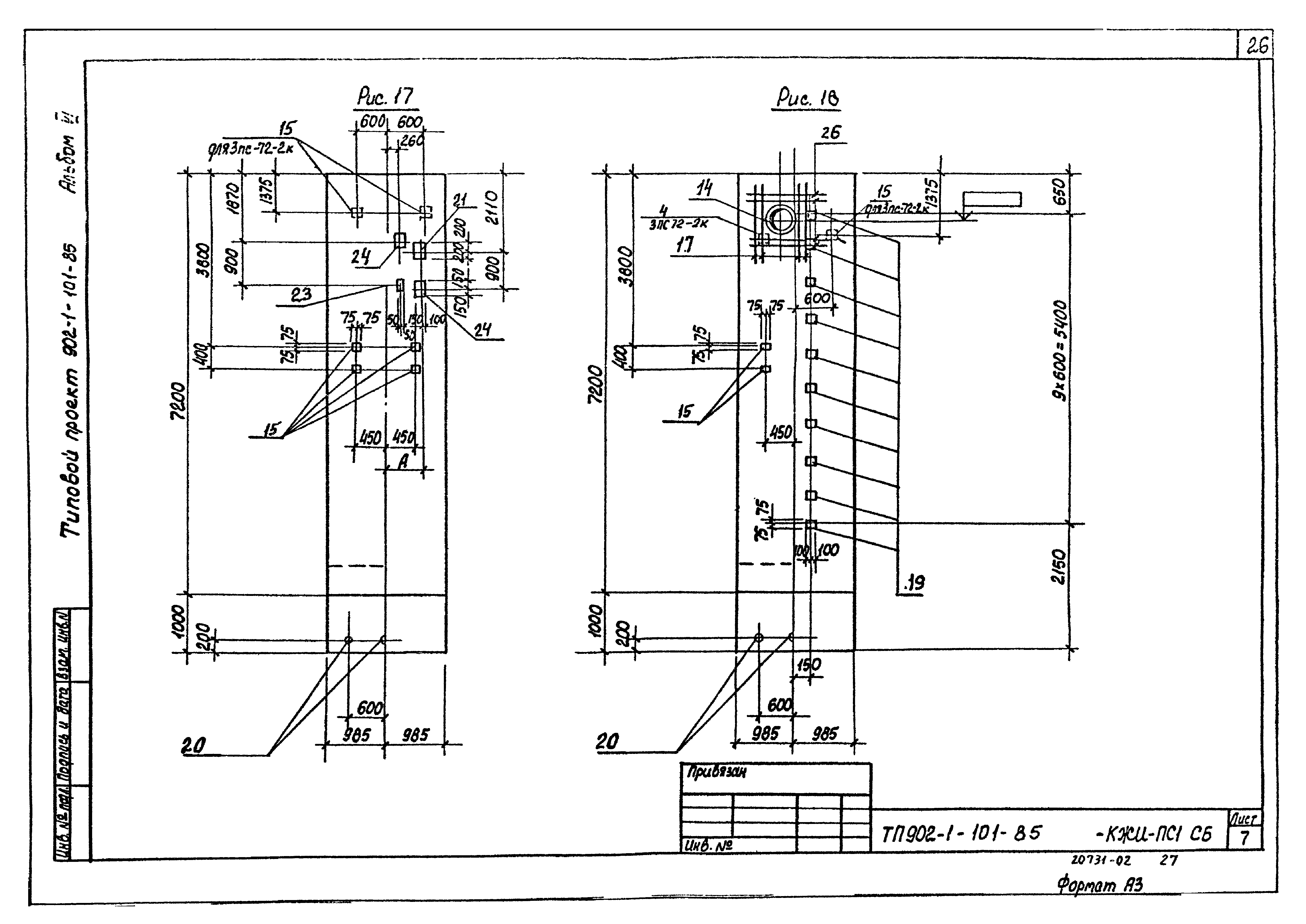
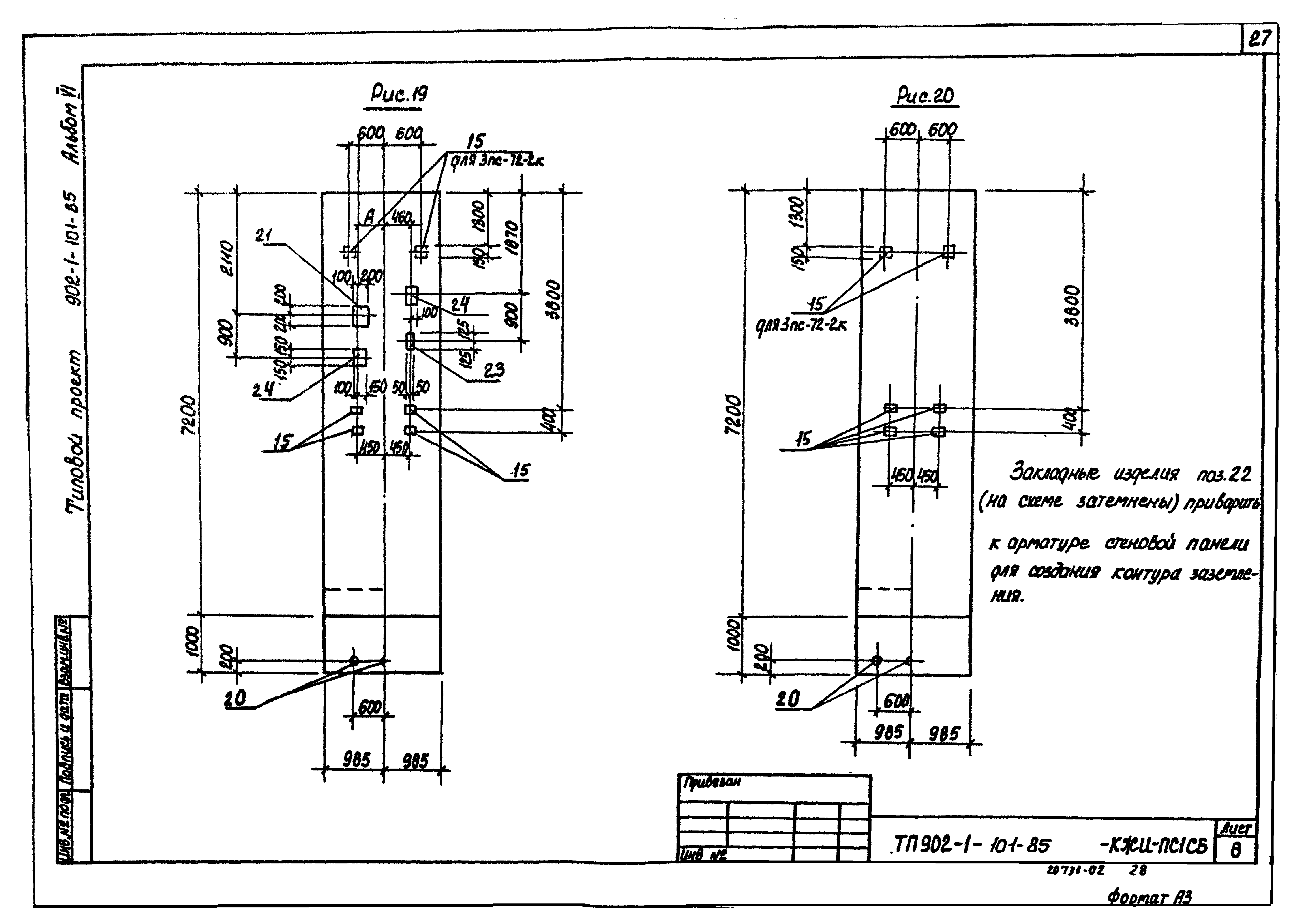
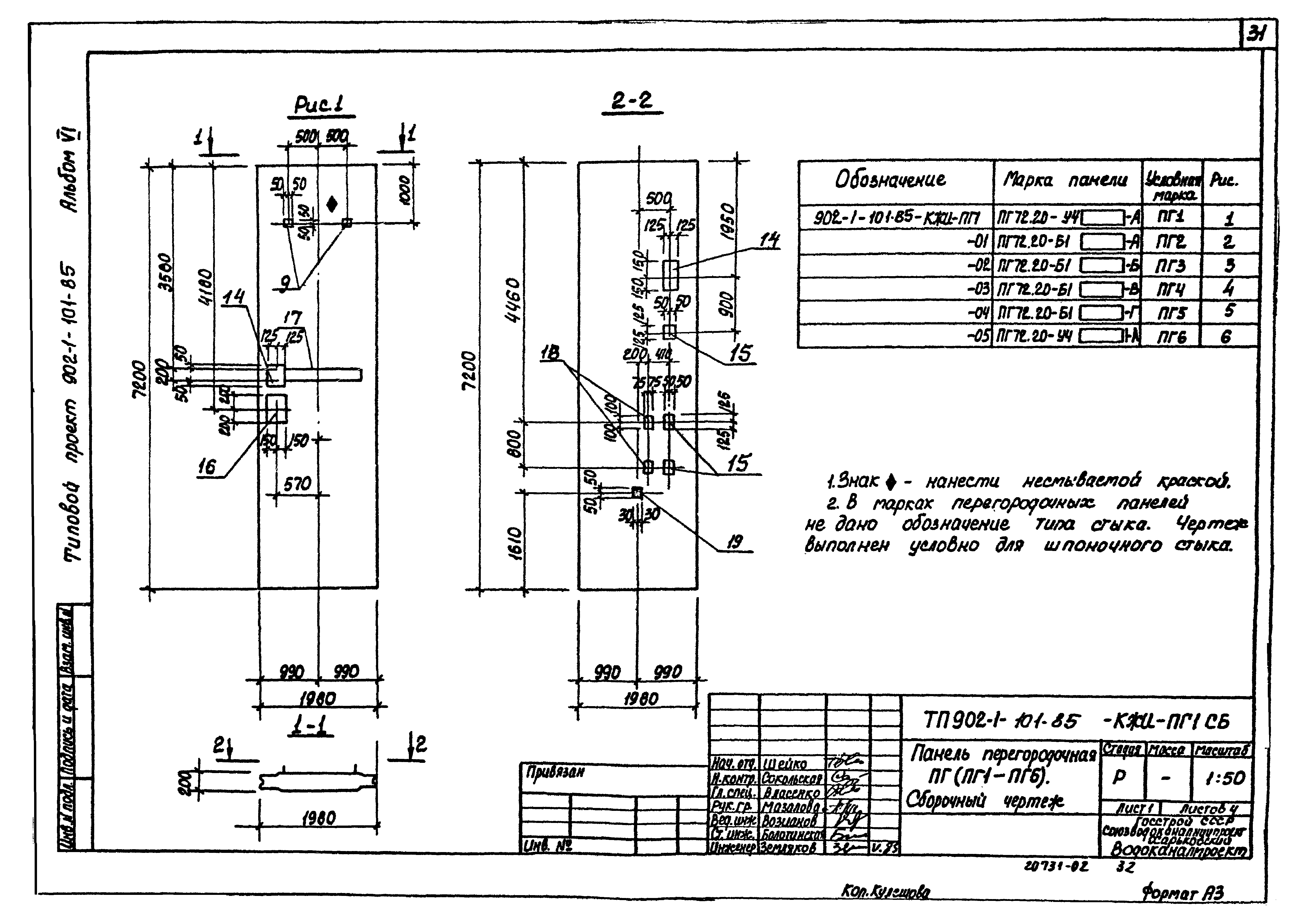
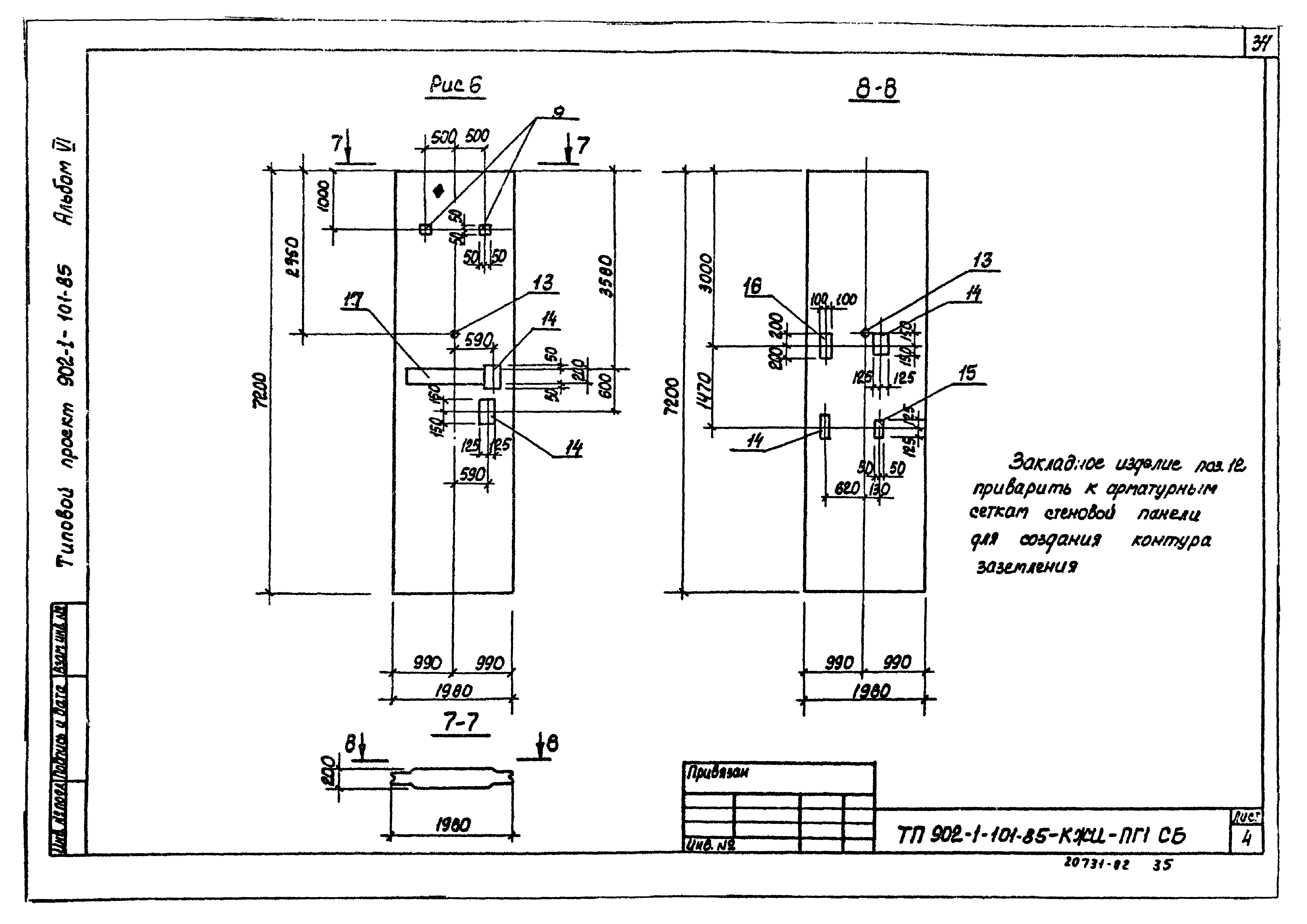
| Оглавление: | Опись документов Техническое описание Панель стеновая 2ПС72-4 Панель стеновая 3ПС72-2к Ведомость расхода стали 2ПС72-4к, 2ПС72-4ш, 3ПС72-2к Панель перегородочная ПГ72.20-Б1 Панель перегородочная ПГ72.20-УЧ Ведомость расхода стали ПГ72.20-Б1, ПГ72.20-УЧ Панель стеновая ПС (ПС1…ПС20) Панель стеновая ПС (ПС1…ПС20. Сборочный чертеж Ведомость расхода стали ПС (ПС1…ПС20). Опускной способ Ведомость расхода стали ПС (ПС1…ПС20). "Стена в грунте" Панель перегородочная ПГ (ПГ1…ПГ6) Панель перегородочная ПГ (ПГ1…ПГ6). Сборочный чертеж Ведомость расхода стали ПГ (ПГ1…ПГ6) Опорный блок ОП1 Каркас плоский Кр1 Каркас плоский Кр (Кр2, Кр3) Изделие закладное МН5 Изделие закладное МН5. Сборочный чертеж Каркас плоский Кр (Кр4…Кр11) Каркас плоский Кр (Кр4…Кр11). Сборочный чертеж Каркас плоский Кр12 Изделие соединительное МС1 Изделие соединительное МС2 Изделие закладное МН (МН1, МН2) Изделие закладное МН (МН3, МН4) Изделие соединительное МС3 Сетка арматурная С1 Сетка арматурная С2 Сетка арматурная С3 Сетка арматурная С4 Сетка арматурная С5 Сетка арматурная С6 Сетка арматурная С (С7, С8) Сетка арматурная С9 Сетка арматурная С (С10, С11) |
| Разработан: | Харьковский Водоканалпроект |
| Утверждён: | 21.06.1985 Госстрой СССР (Государственный комитет Совета Министров СССР по делам строительства) (USSR Gosstroy А4-23) |

















































