Скачать РД 39-0004-90 Руководство по проектированию и эксплуатации сепарационных узлов нефтяных месторождений, выбору и компоновке сепарационного оборудованияДата актуализации: 01.01.2021
|
| Обозначение: | РД 39-0004-90 |
| Обозначение англ: | RD 39-0004-90 |
| Статус: | не действует |
| Название рус.: | Руководство по проектированию и эксплуатации сепарационных узлов нефтяных месторождений, выбору и компоновке сепарационного оборудования |
| Дата добавления в базу: | 01.09.2013 |
| Дата актуализации: | 01.01.2021 |
| Дата введения: | 01.05.1990 |
| Дата окончания срока действия: | 01.05.1995 |
| Область применения: | Руководящий документ распространяется на технологические схемы и оборудование сепарационных узлов систем сбора и установок подготовки нефти и предназначен для работников проектных организаций и нефтедобывающих предприятий. |
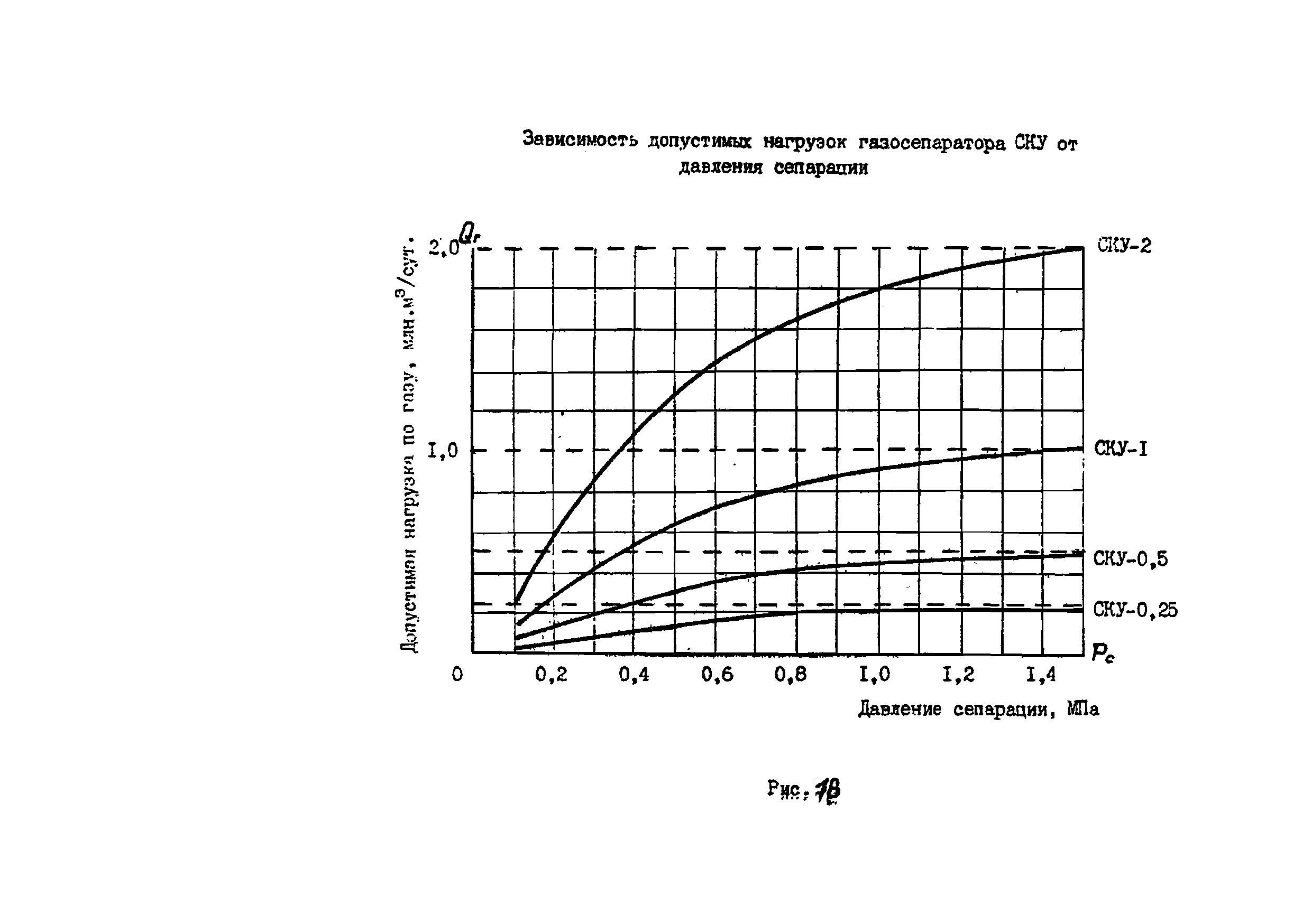
| Оглавление: | 1 Общие положения 2 Основные принципы, определяющие работы газонефтяных сепараторов 3 Требования к технологической схеме и компоновке сепарационного узла 4 Выбор оборудования для сепарационных узлов 5 Требования к системе автоматики и контролю технологического процесса Литература Приложение |
| Разработан: | Гипровостокнефть Миннефтепрома (Giprovostokneft, Minnefteprom ) ВНИИСПТнефть СиоНИИНП КБ ПО Саратовнефтегаз |
| Утверждён: | 21.03.1990 Миннефтегазпром СССР (USSR Minneftegazprom ) |
| Заменяет собой: |
|
| Нормативные ссылки: |





































































