Скачать Типовой проект 902-2-377.83 Альбом VI. Часть 1. Нестандартизированное оборудование. ИлососДата актуализации: 01.01.2021
|
| Обозначение: | Типовой проект 902-2-377.83 |
| Обозначение англ: | 902-2-377.83 |
| Статус: | заменен |
| Название рус.: | Альбом VI. Часть 1. Нестандартизированное оборудование. Илосос |
| Дата добавления в базу: | 01.09.2013 |
| Дата актуализации: | 01.01.2021 |
| Дата введения: | 27.07.1983 |
| Дата окончания срока действия: | 01.03.1990 |
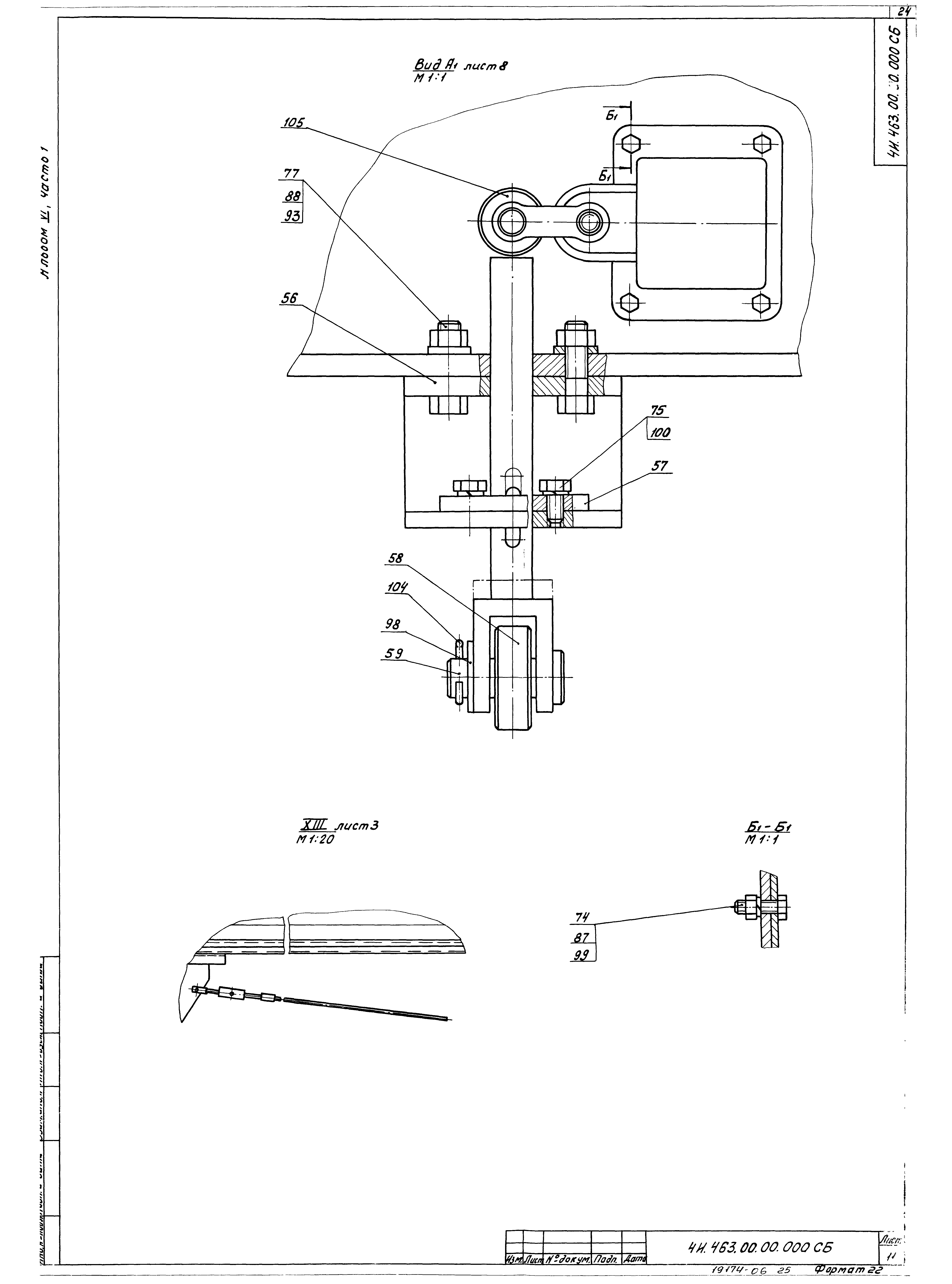
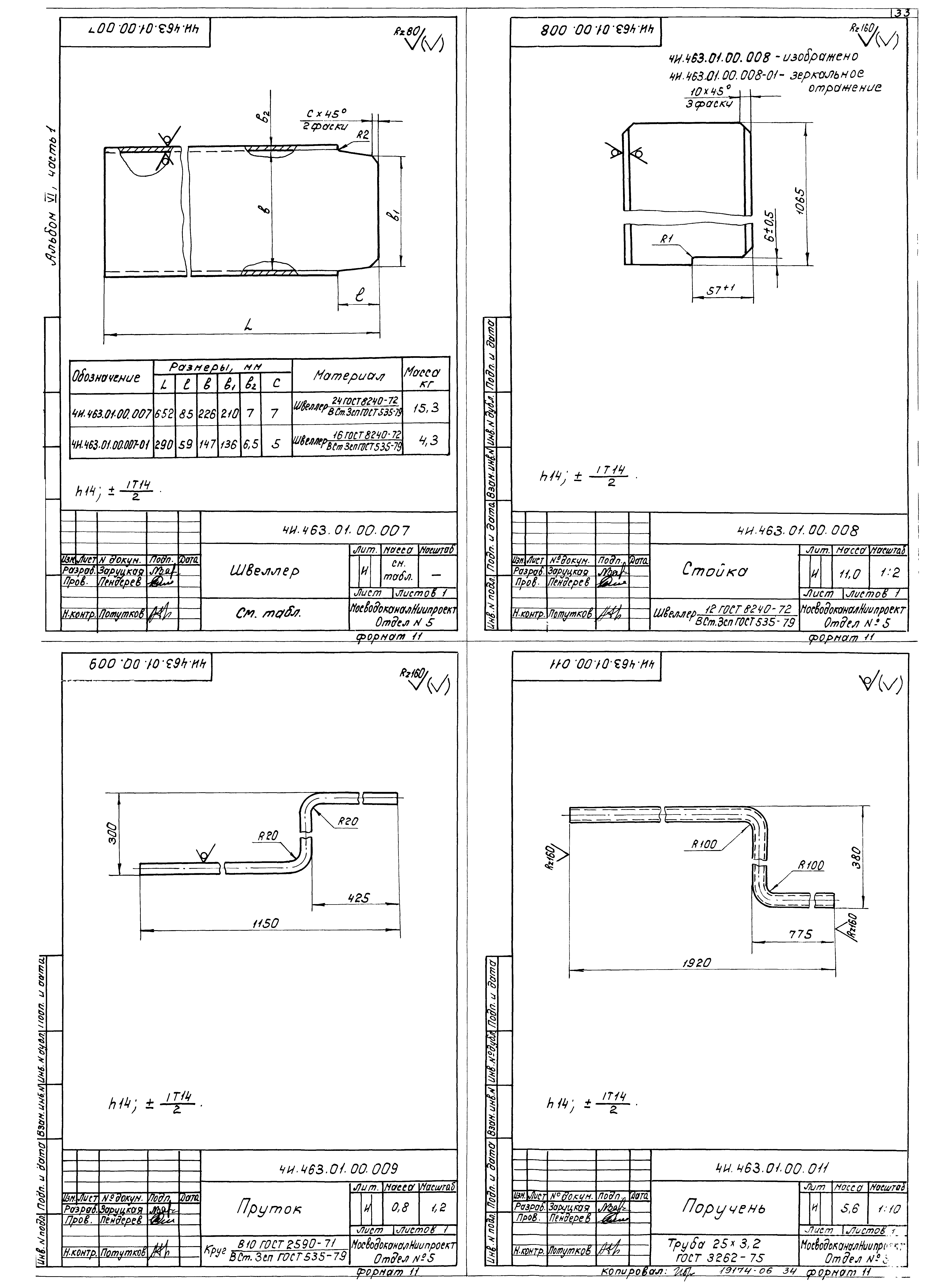
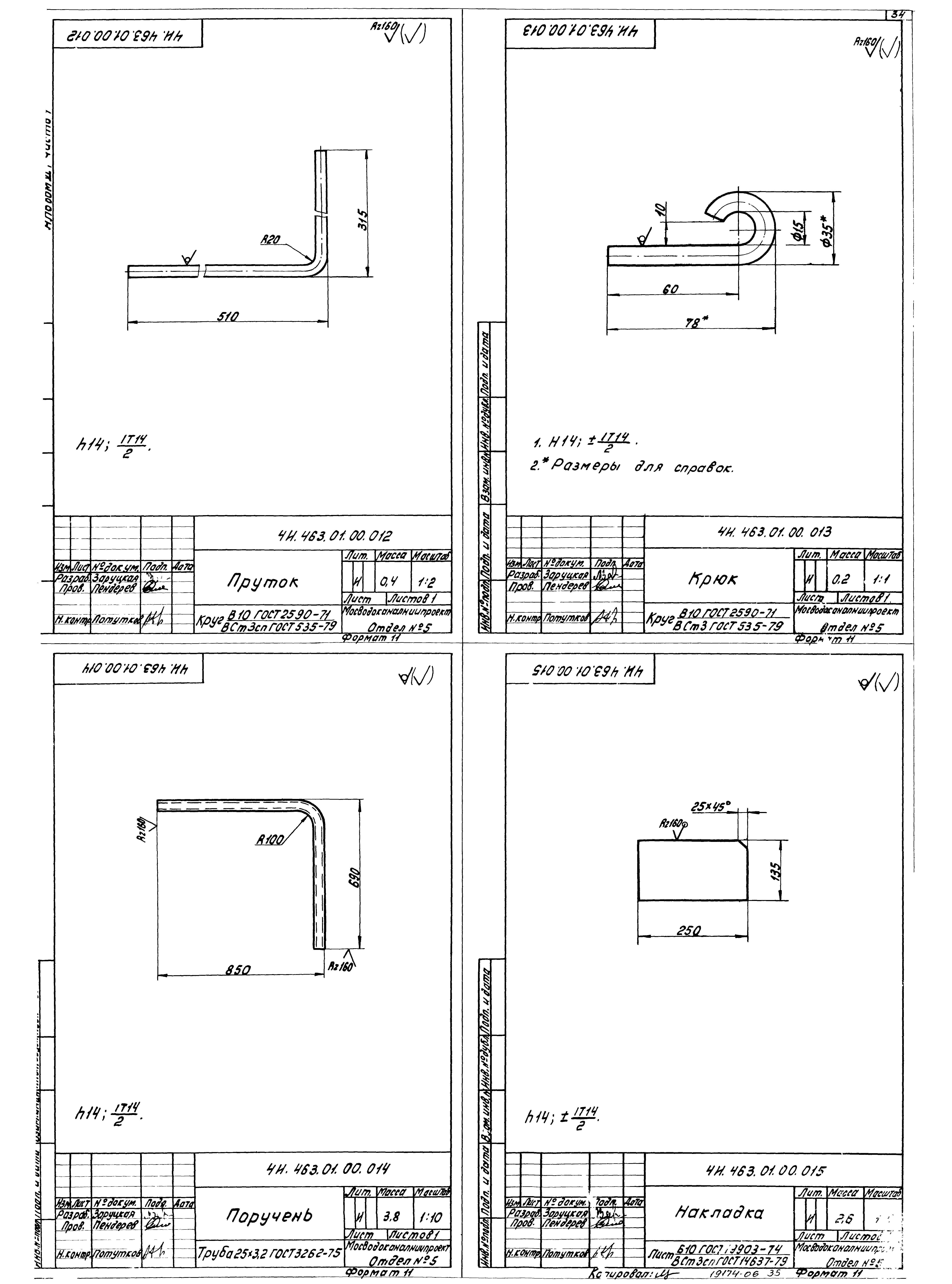
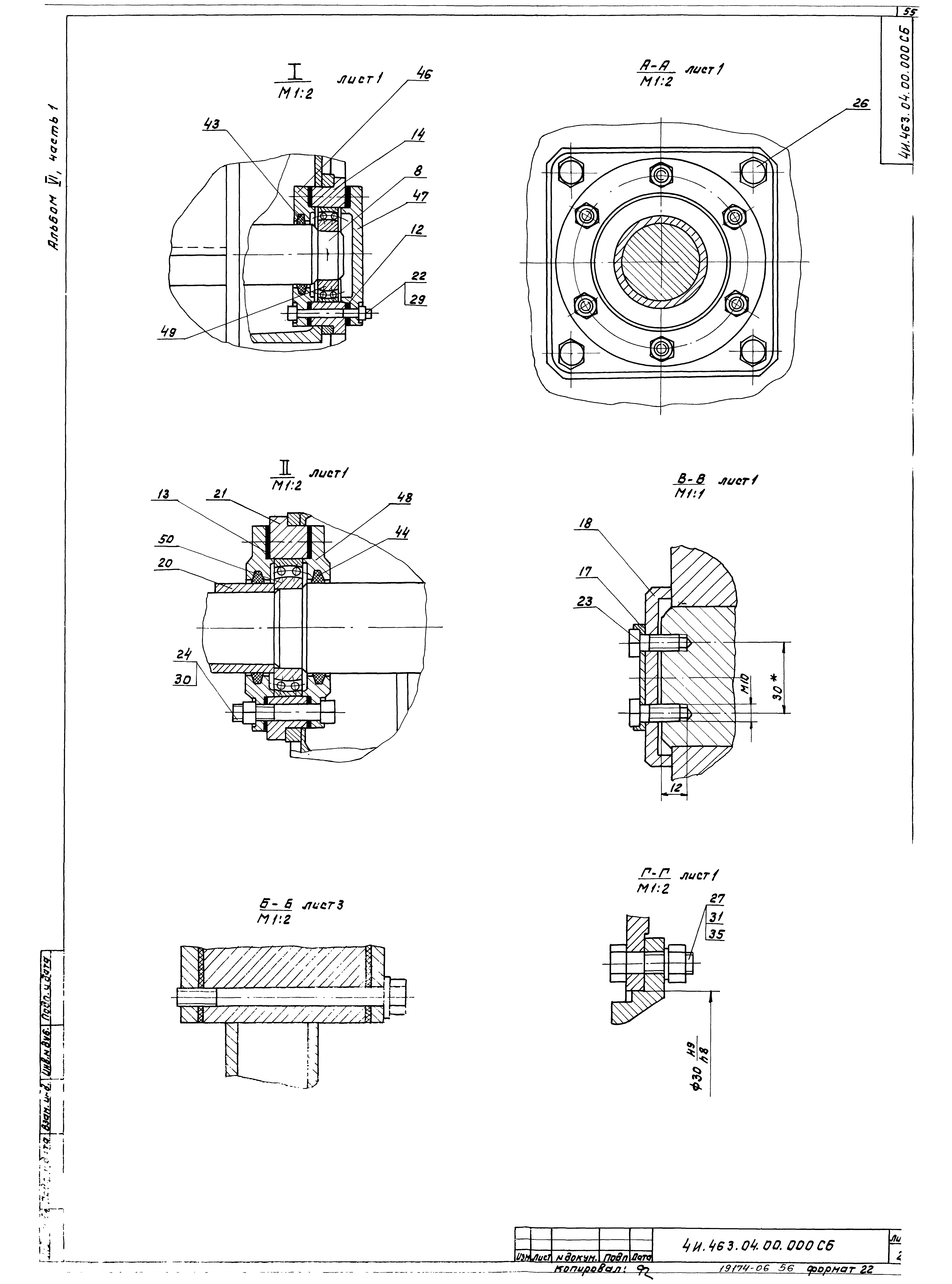
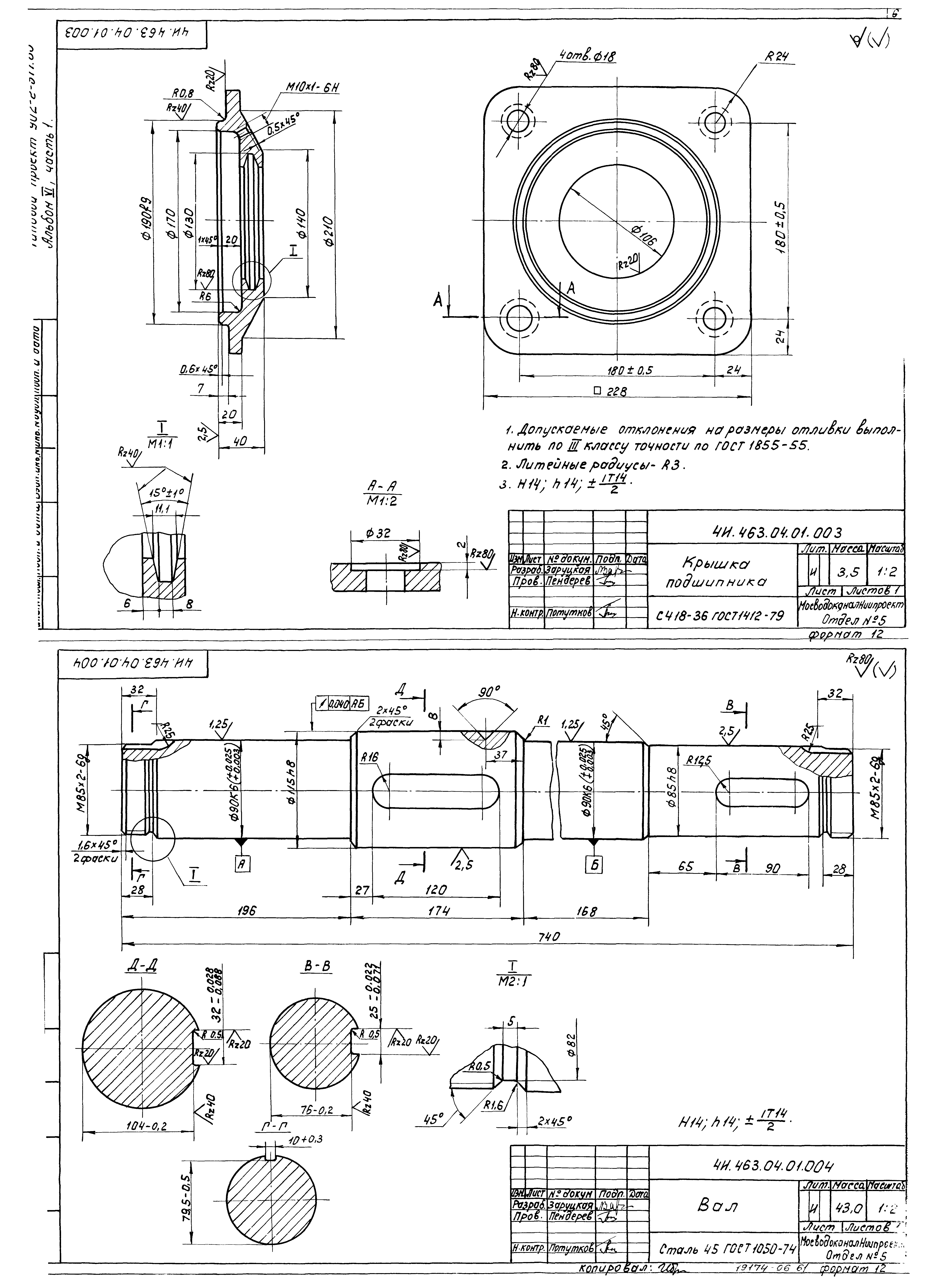
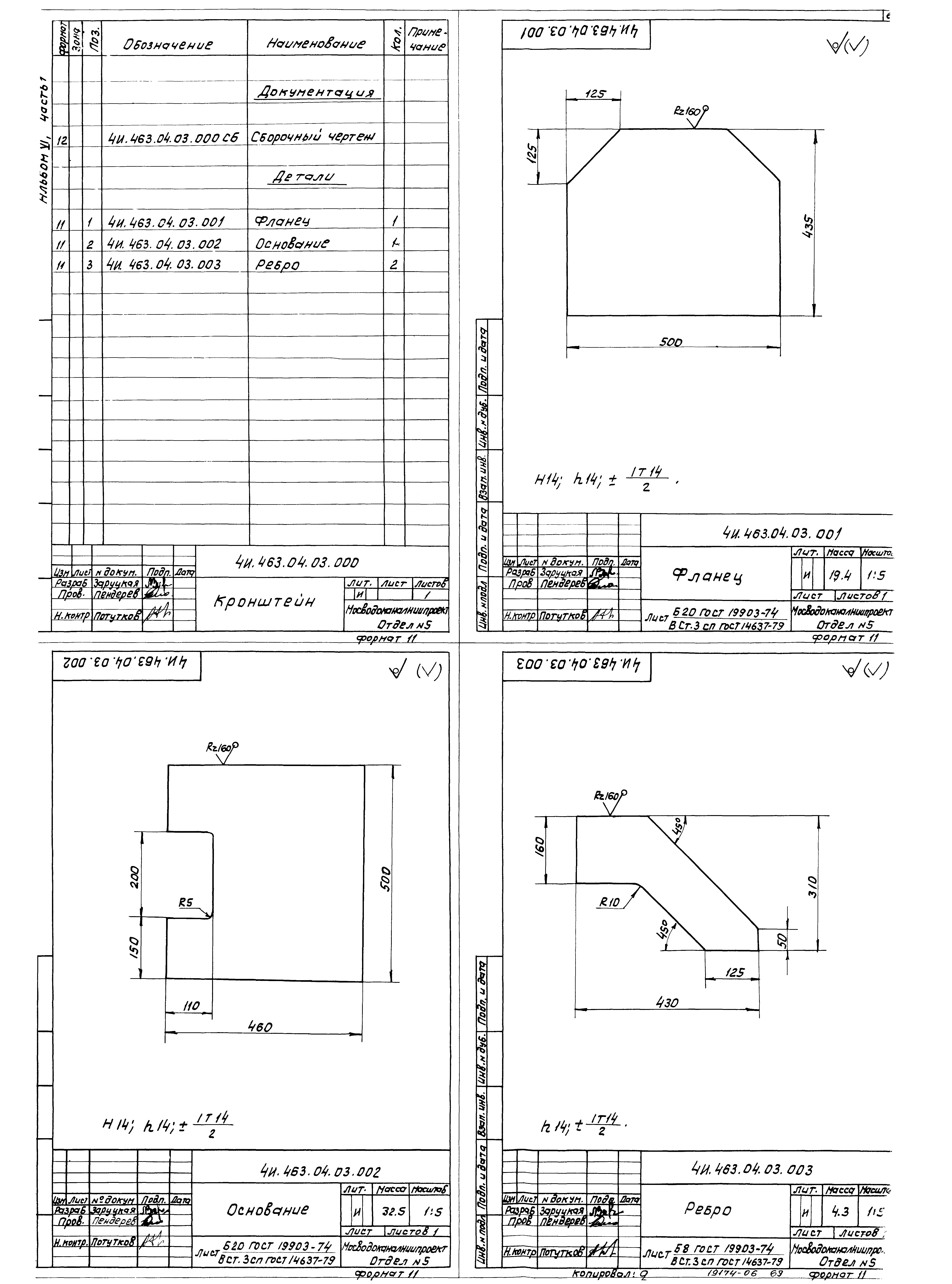
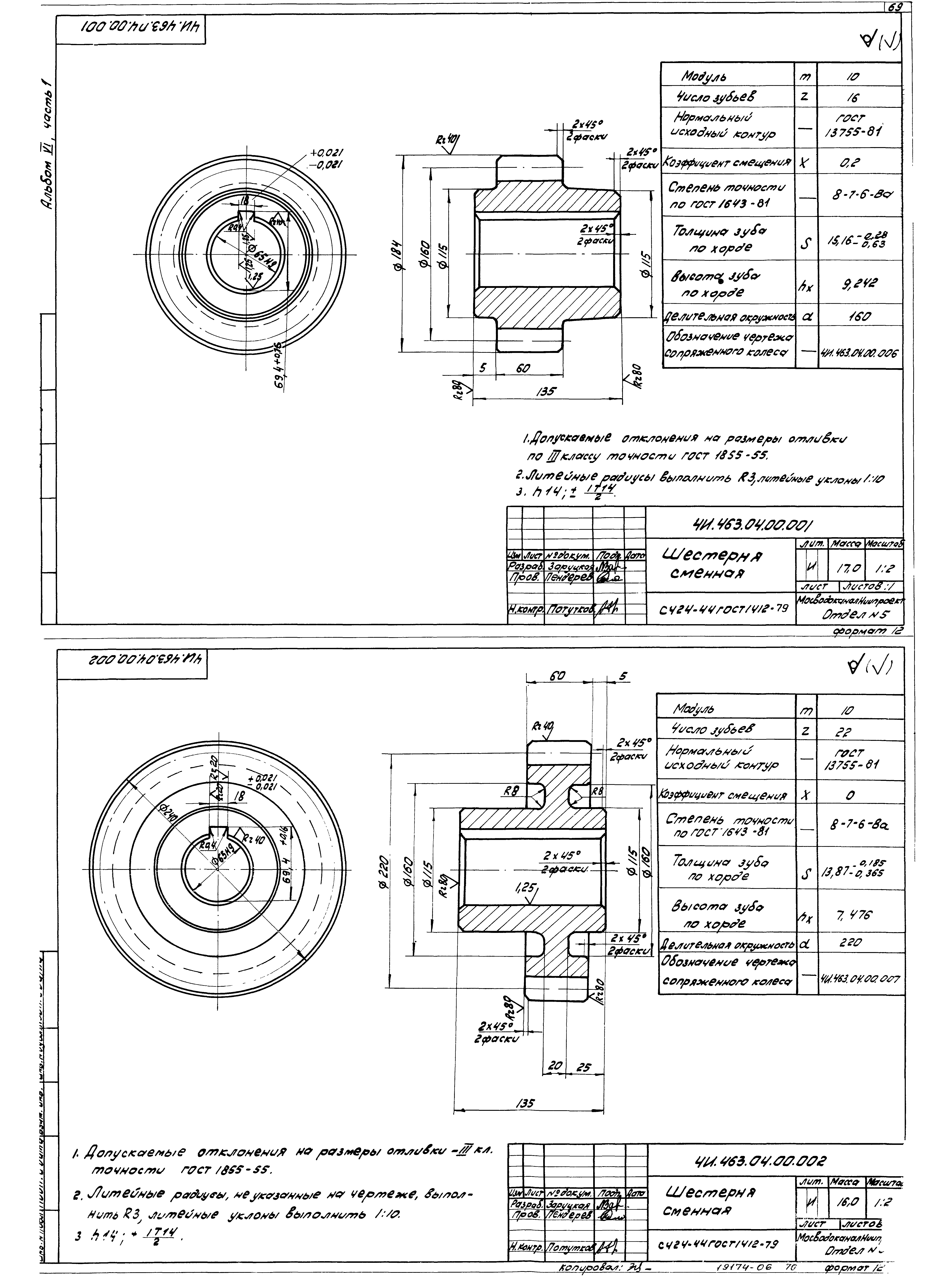
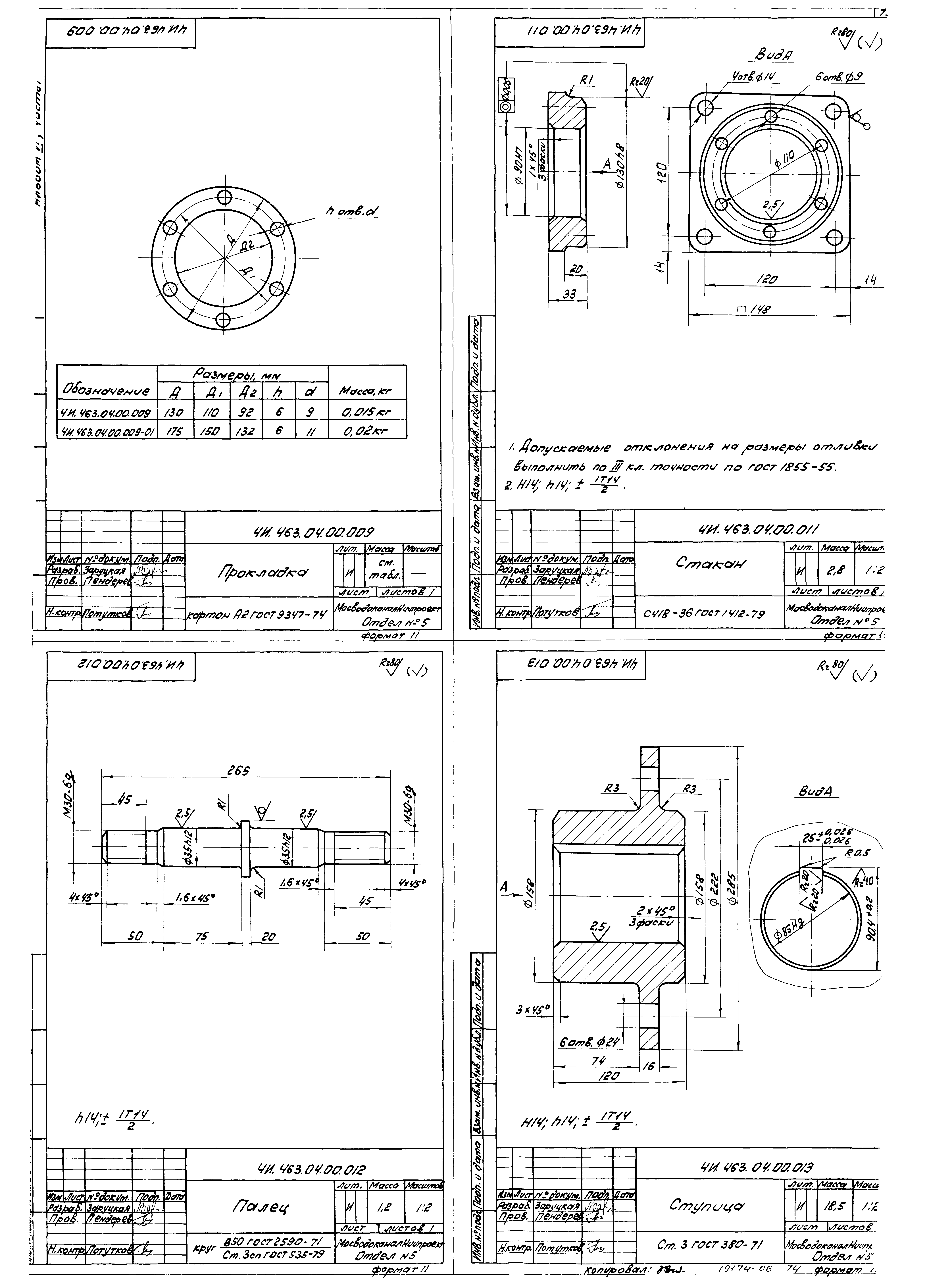
| Оглавление: | Часть 1 ТП 902-2-377.83 Титульный лист ТП 902-2-377.83 Содержание альбома ТП 902-2-377.83 Илосос ИВР-40 ТП 902-2-377.83 4И.463.00.00.000 ТУ Технические условия ТП 902-2-377.83 4И.463.00.00.000 ВП Илосос ИВР-40. Ведомость покупных изделий. Лист 1-2 ТП 902-2-377.83 4И.463.00.00.000 ВП Илосос ИВР-40. Ведомость покупных изделий. Лист 3-4 ТП 902-2-377.83 4И.463.00.00.000 СБ Илосос ИВР-40. Лист 1 ТП 902-2-377.83 4И.463.00.00.000 СБ Илосос ИВР-40. Лист 2 ТП 902-2-377.83 4И.463.00.00.000 СБ Илосос ИВР-40. Лист 3 ТП 902-2-377.83 4И.463.00.00.000 СБ Илосос ИВР-40. Лист 4 ТП 902-2-377.83 4И.463.00.00.000 СБ Илосос ИВР-40. Лист 5 ТП 902-2-377.83 4И.463.00.00.000 СБ Илосос ИВР-40. Лист 6 ТП 902-2-377.83 4И.463.00.00.000 СБ Илосос ИВР-40. Лист 7 ТП 902-2-377.83 4И.463.00.00.000 СБ Илосос ИВР-40. Лист 8 ТП 902-2-377.83 4И.463.00.00.000 СБ Илосос ИВР-40. Лист 9 ТП 902-2-377.83 4И.463.00.00.000 СБ Илосос ИВР-40. Лист 10 ТП 902-2-377.83 4И.463.00.00.000 СБ Илосос ИВР-40. Лист 11 ТП 902-2-377.83 4И.463.00.00.000 Илосос ИВР-40. Спецификация. Лист 1-4 ТП 902-2-377.83 4И.463.00.00.000 Илосос ИВР-40. Спецификация. Лист 5-8 ТП 902-2-377.83 4И.463.01.00.000 СБ Ферма моста. Лист 1 ТП 902-2-377.83 4И.463.01.00.000 СБ Ферма моста. Лист 2 ТП 902-2-377.83 4И.463.01.00.000 СБ Ферма моста. Лист 3 ТП 902-2-377.83 4И.463.01.00.000 Ферма моста. Спецификация. Лист 1-4 ТП 902-2-377.83 4И.463.01.00.000 Ферма моста. Спецификация. Лист 5 ТП 902-2-377.83 4И.463.01.00.001 Уголок ТП 902-2-377.83 4И.463.01.00.002 Накладка ТП 902-2-377.83 4И.463.01.00.003 Уголок ТП 902-2-377.83 4И.463.01.00.004 Накладка ТП 902-2-377.83 4И.463.01.00.005 Уголок ТП 902-2-377.83 4И.463.01.00.006 Лист ТП 902-2-377.83 4И.463.00.00.019 Фиксатор ТП 902-2-377.83 4И.463.01.00.007 Швеллер ТП 902-2-377.83 4И.463.01.00.008 Стойка ТП 902-2-377.83 4И.463.01.00.009 Пруток ТП 902-2-377.83 4И.463.01.00.011 Поручень ТП 902-2-377.83 4И.463.01.00.012 Пруток ТП 902-2-377.83 4И.463.01.00.013 Крюк ТП 902-2-377.83 4И.463.01.00.014 Поручень ТП 902-2-377.83 4И.463.01.00.015 Накладка ТП 902-2-377.83 4И.463.01.00.016 Упор ТП 902-2-377.83 4И.463.01.00.017 Уголок ТП 902-2-377.83 4И.463.01.00.018 Накладка ТП 902-2-377.83 4И.463.01.00.019 Поперечина ТП 902-2-377.83 4И.463.02.00.000 СБ Звезда ТП 902-2-377.83 4И.463.02.00.000 Звезда. Спецификация. Лист 1-2 ТП 902-2-377.83 4И.463.02.00.001 Домкрат ТП 902-2-377.83 4И.463.02.01.000 Луч звезды. Спецификация. Лист 1 ТП 902-2-377.83 4И.463.02.01.000 СБ Луч звезды ТП 902-2-377.83 4И.463.02.01.001 Балка ТП 902-2-377.83 4И.463.02.01.002 Ушко ТП 902-2-377.83 4И.463.02.01.003 Ушко ТП 902-2-377.83 4И.463.02.01.004 Накладка ТП 902-2-377.83 4И.463.02.02.000 СБ Основание звезды. Лист 1 ТП 902-2-377.83 4И.463.02.02.000 СБ Основание звезды. Лист 2 ТП 902-2-377.83 4И.463.02.02.000 Основание звезды. Спецификация. Лист 1-2 ТП 902-2-377.83 4И.463.02.02.001 Балка ТП 902-2-377.83 4И.463.02.02.002 Ушко ТП 902-2-377.83 4И.463.02.02.003 Плита ТП 902-2-377.83 4И.463.02.02.004 Поперечина ТП 902-2-377.83 4И.463.02.02.005 Бобышка ТП 902-2-377.83 4И.463.02.02.006 Ребро ТП 902-2-377.83 4И.463.02.03.000 СБ Стакан ТП 902-2-377.83 4И.463.02.03.000 Стакан. Спецификация. Лист 1 ТП 902-2-377.83 4И.463.02.03.001 Патрубок ТП 902-2-377.83 4И.463.02.03.002 Кольцо ТП 902-2-377.83 4И.463.02.03.003 Фланец ТП 902-2-377.83 4И.463.03.00.000 СБ Камера вращающая ТП 902-2-377.83 4И.463.03.00.000 Камера вращающая. Спецификация. Лист 1-2 ТП 902-2-377.83 4И.463.03.00.001 Прокладка ТП 902-2-377.83 4И.463.03.00.002 Сектор вкладыша ТП 902-2-377.83 4И.463.03.00.003 Сектор вкладыша ТП 902-2-377.83 4И.463.03.01.000 Корпус. Спецификация. Лист 1 ТП 902-2-377.83 4И.463.03.01.100 Обойма ТП 902-2-377.83 4И.463.03.01.101 Воротник ТП 902-2-377.83 4И.463.03.01.000 СБ Корпус ТП 902-2-377.83 4И.463.03.01.100 СБ Обойма ТП 902-2-377.83 4И.463.03.01.102 Полукольцо ТП 902-2-377.83 4И.463.03.01.103 Фланец ТП 902-2-377.83 4И.463.03.01.104 Ребро ТП 902-2-377.83 4И.463.03.01.105 Ребро ТП 902-2-377.83 4И.463.03.01.110 СБ Ввод ТП 902-2-377.83 4И.463.03.01.110 Ввод. Спецификация. Лист 1 ТП 902-2-377.83 4И.463.03.01.111 Кольцо ТП 902-2-377.83 4И.463.03.01.112 Патрубок ТП 902-2-377.83 4И.463.03.01.113 Планка ТП 902-2-377.83 4И.463.04.00.000 Привод. Спецификация. Лист 1-2 ТП 902-2-377.83 4И.463.04.00.000 Привод. Спецификация. Лист 3-4 ТП 902-2-377.83 4И.463.04.01.000 Вал в сборе. Спецификация. Лист 1-2 ТП 902-2-377.83 4И.463.04.00.000 СБ Привод. Лист 1 ТП 902-2-377.83 4И.463.04.00.000 СБ Привод. Лист 2 ТП 902-2-377.83 4И.463.04.00.100 СБ Привод. Лист 3 ТП 902-2-377.83 4И.463.04.01.000 СБ Вал в сборе ТП 902-2-377.83 4И.463.04.01.100 СБ Траверса ТП 902-2-377.83 4И.463.04.01.100 Траверса. Спецификация. Лист 1 ТП 902-2-377.83 4И.463.04.01.101 Полоса верхняя ТП 902-2-377.83 4И.463.04.01.102 Стенка ТП 902-2-377.83 4И.463.04.01.003 Полоса нижняя ТП 902-2-377.83 4И.463.04.01.004 Обойма ТП 902-2-377.83 4И.463.04.01.001 Втулка ТП 902-2-377.83 4И.463.04.01.002 Колесо зубчатое ТП 902-2-377.83 4И.463.04.01.003 Крышка подшипника ТП 902-2-377.83 4И.463.04.01.004 Вал ТП 902-2-377.83 4И.463.04.01.005 Кольцо дистанционное ТП 902-2-377.83 4И.463.04.01.006 Прокладка ТП 902-2-377.83 4И.463.04.01.007 Кольцо уплотнительное ТП 902-2-377.83 4И.463.04.01.008 Полукольцо ТП 902-2-377.83 4И.463.04.01.009 Крышка подшипника ТП 902-2-377.83 4И.463.04.04.011 Крышка подшипника ТП 902-2-377.83 4И.463.04.02.000 СБ Рама. Лист 1 ТП 902-2-377.83 4И.463.04.02.000 СБ Рама. Лист 2 ТП 902-2-377.83 4И.463.04.02.000 СБ Рама. Лист 3 ТП 902-2-377.83 4И.463.04.02.000 Рама. Спецификация. Лист 1-2 ТП 902-2-377.83 4И.463.04.02.001 Накладка ТП 902-2-377.83 4И.463.04.02.002 Швеллер ТП 902-2-377.83 4И.463.04.02.003 Ребро ТП 902-2-377.83 4И.463.04.02.004 Лапа ТП 902-2-377.83 4И.463.04.03.000 СБ Кронштейн ТП 902-2-377.83 4И.463.04.03.000 Кронштейн. Спецификация. Лист 1 ТП 902-2-377.83 4И.463.04.03.001 Фланец ТП 902-2-377.83 4И.463.04.03.002 Основание ТП 902-2-377.83 4И.463.04.03.003 Ребро ТП 902-2-377.83 4И.463.04.00.001 Шестерня сменная ТП 902-2-377.83 4И.463.04.00.002 Шестерня сменная ТП 902-2-377.83 4И.463.04.00.003 Шестерня сменная ТП 902-2-377.83 4И.463.04.00.004 Шестерня ТП 902-2-377.83 4И.463.04.00.005 Вал промежуточный ТП 902-2-377.83 4И.463.04.00.006 Колесо зубчатое сменное ТП 902-2-377.83 4И.463.04.00.007 Колесо зубчатое сменное ТП 902-2-377.83 4И.463.04.00.008 Колесо зубчатое ТП 902-2-377.83 4И.463.04.00.009 Прокладка ТП 902-2-377.83 4И.463.04.00.011 Стакан ТП 902-2-377.83 4И.463.04.00.012 Палец ТП 902-2-377.83 4И.463.04.00.013 Ступица ТП 902-2-377.83 4И.463.04.00.014 Шайба стопорная ТП 902-2-377.83 4И.463.04.00.015 Шайба глухая ТП 902-2-377.83 4И.463.04.00.016 Втулка дистанционная ТП 902-2-377.83 4И.463.04.00.017 Стакан |
| Разработан: | МосводоканалНИИпроект |
| Утверждён: | 27.07.1983 МосводоканалНИИпроект (169) |
| Заменяет собой: |
|
| Чем заменён: |











































































