Скачать МИ 2566-99 Рекомендация. Государственная система обеспечения единства измерений. Нефть. Потери от испарения в резервуарах. Методика выполнения измеренийДата актуализации: 01.01.2021
|
| Обозначение: | МИ 2566-99 |
| Обозначение англ: | MI 2566-99 |
| Статус: | действует |
| Название рус.: | Рекомендация. Государственная система обеспечения единства измерений. Нефть. Потери от испарения в резервуарах. Методика выполнения измерений |
| Дата добавления в базу: | 01.09.2013 |
| Дата актуализации: | 01.01.2021 |
| Дата введения: | 01.01.2000 |
| Область применения: | Рекомендация устанавливает методику выполнения измерений (МВИ) потерь выделяющихся в резервуарах углеводородов и потерь нефти, предотвращаемых при эксплуатации систем улавливания легких фракций (УЛФ), в диапазоне 0,1…1 % от общей массы испаряемой нефти. |
| Оглавление: | 1 Нормы погрешности измерений 2 Средства измерений и вспомогательные устройства 3 Метод измерений 4 Требования безопасности 5 Требования к квалификации операторов 6 Условия измерений 7 Подготовка к выполнению измерений 8 Выполнение измерений 9 Контроль погрешности МВИ Приложение А 1. Прибор АЛП - 01ДП Приложение А 2. Индивидуальный пробоотборник Приложение А 3. Испарительная камера Приложение Б Приложение В |
| Разработан: | НПЦ СКПнефть |
| Утверждён: | 01.10.1999 ГНМЦ ВНИИР |
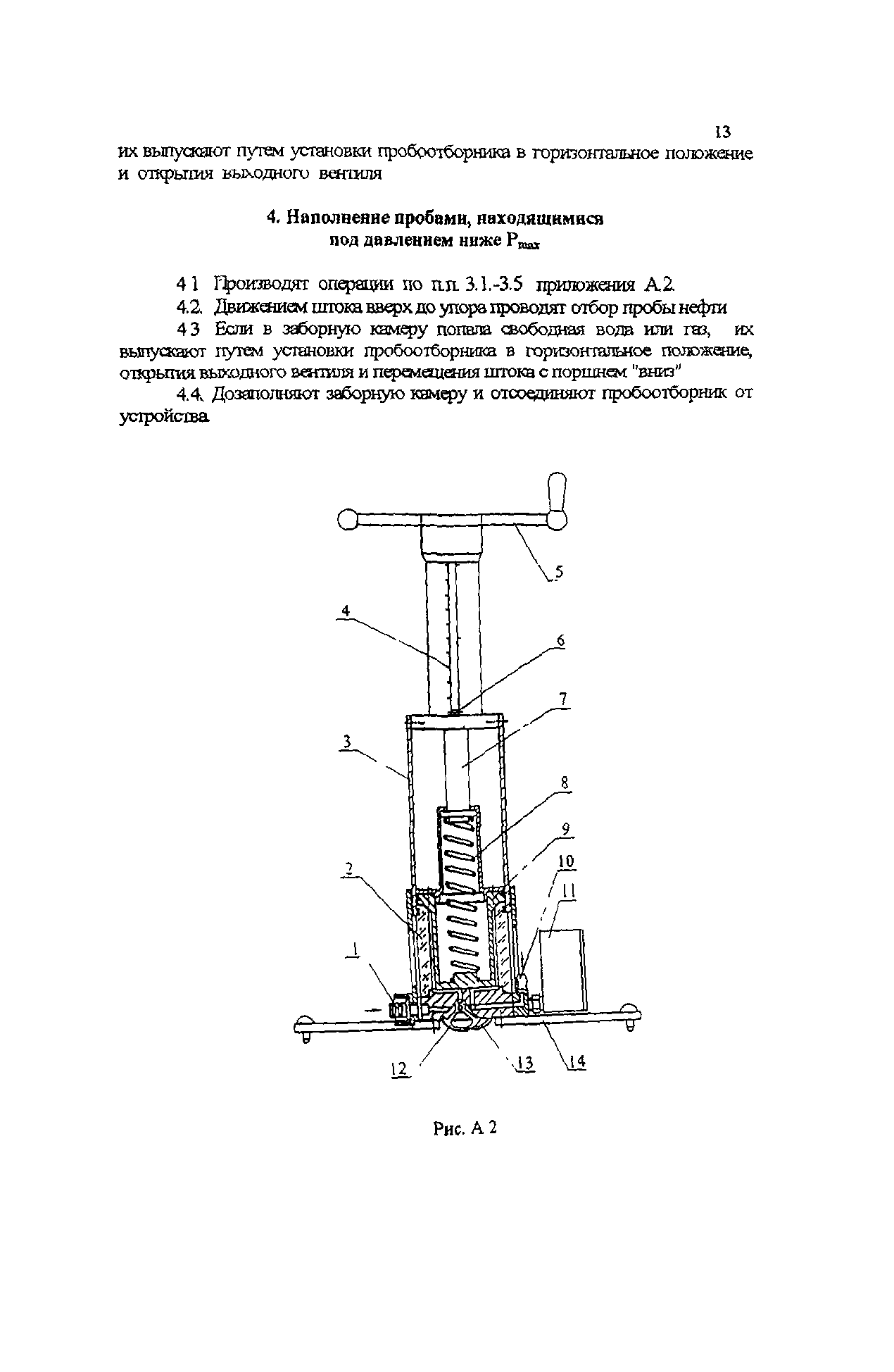
| Нормативные ссылки: |
















