Скачать Типовой проект 902-1-82.83 Альбом V. Подземная часть. ИзделияДата актуализации: 01.01.2021
|
| Обозначение: | Типовой проект 902-1-82.83 |
| Обозначение англ: | 902-1-82.83 |
| Статус: | действует |
| Название рус.: | Альбом V. Подземная часть. Изделия |
| Дата добавления в базу: | 01.09.2013 |
| Дата актуализации: | 01.01.2021 |
| Дата введения: | 06.02.1984 |
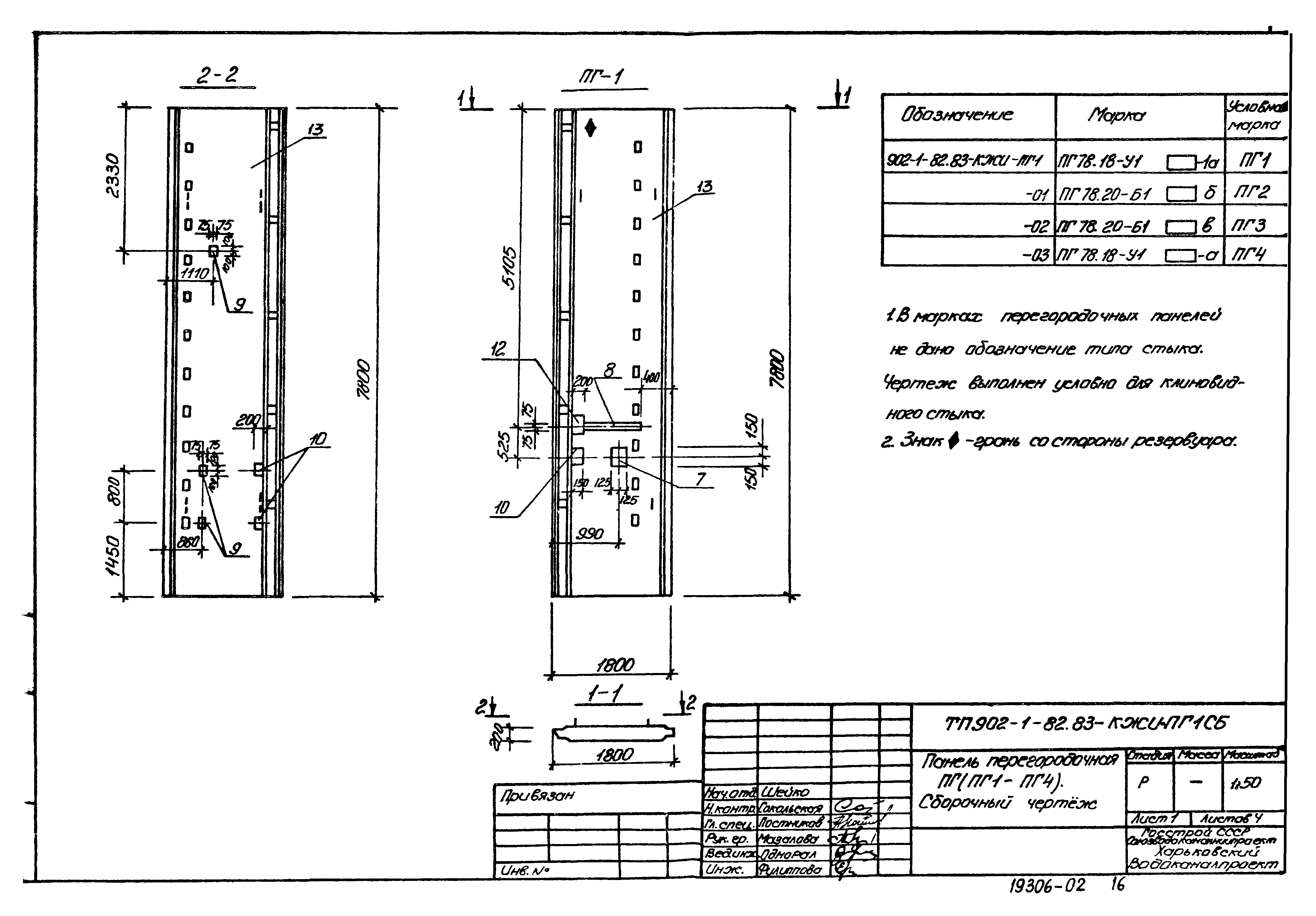
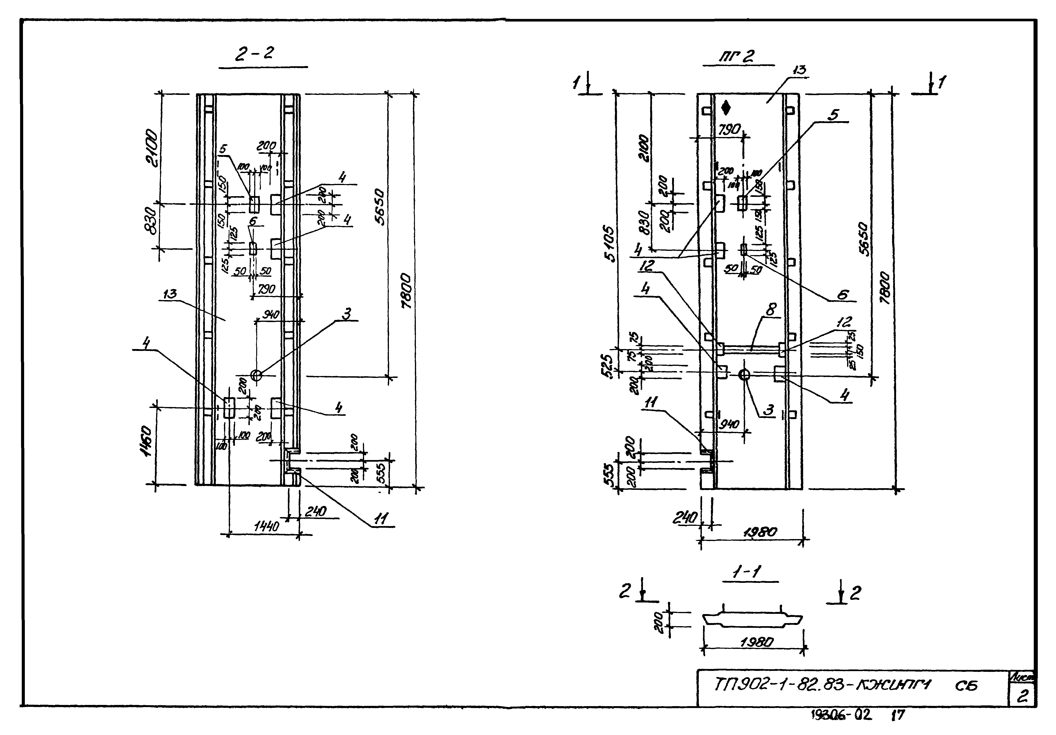
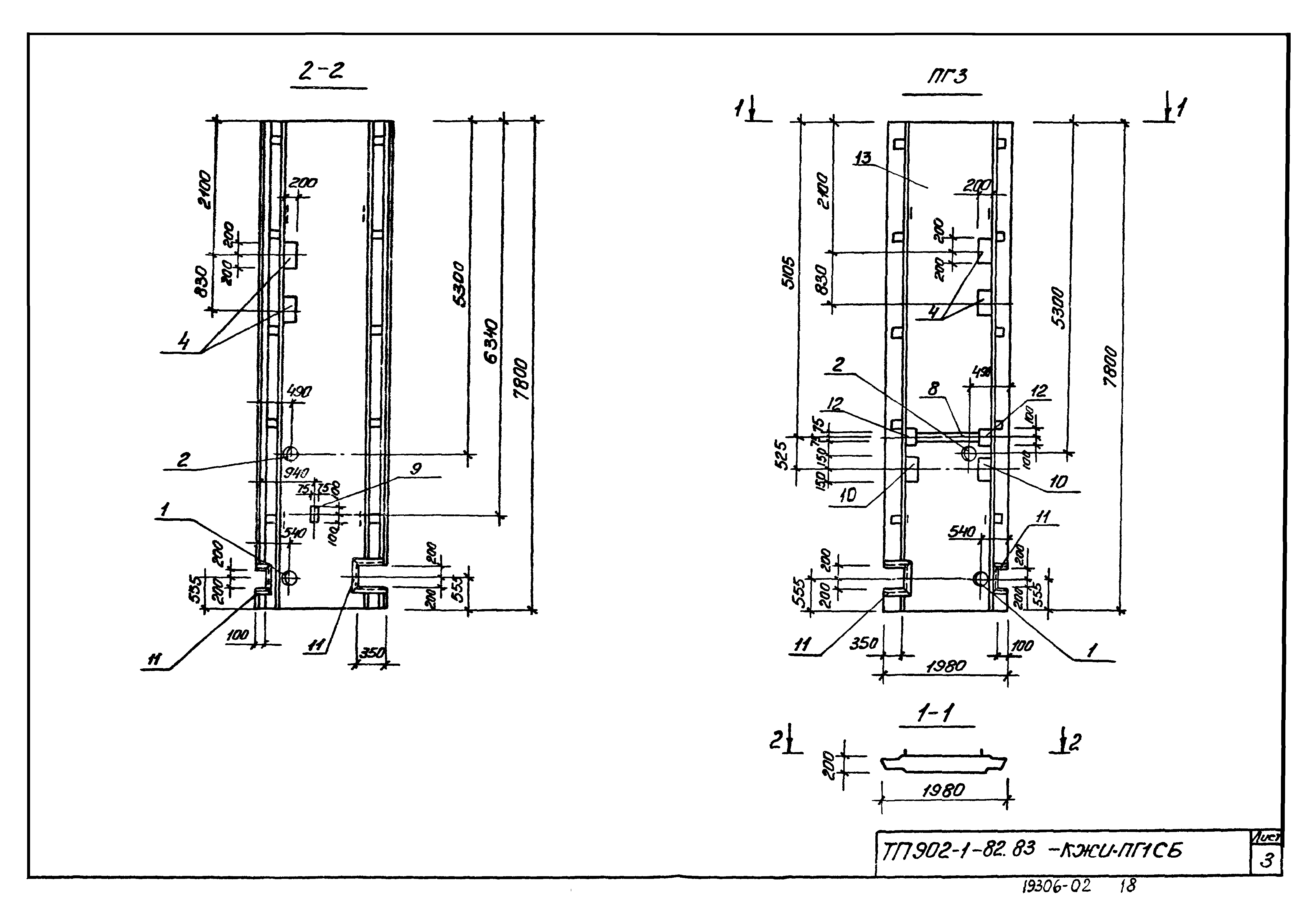
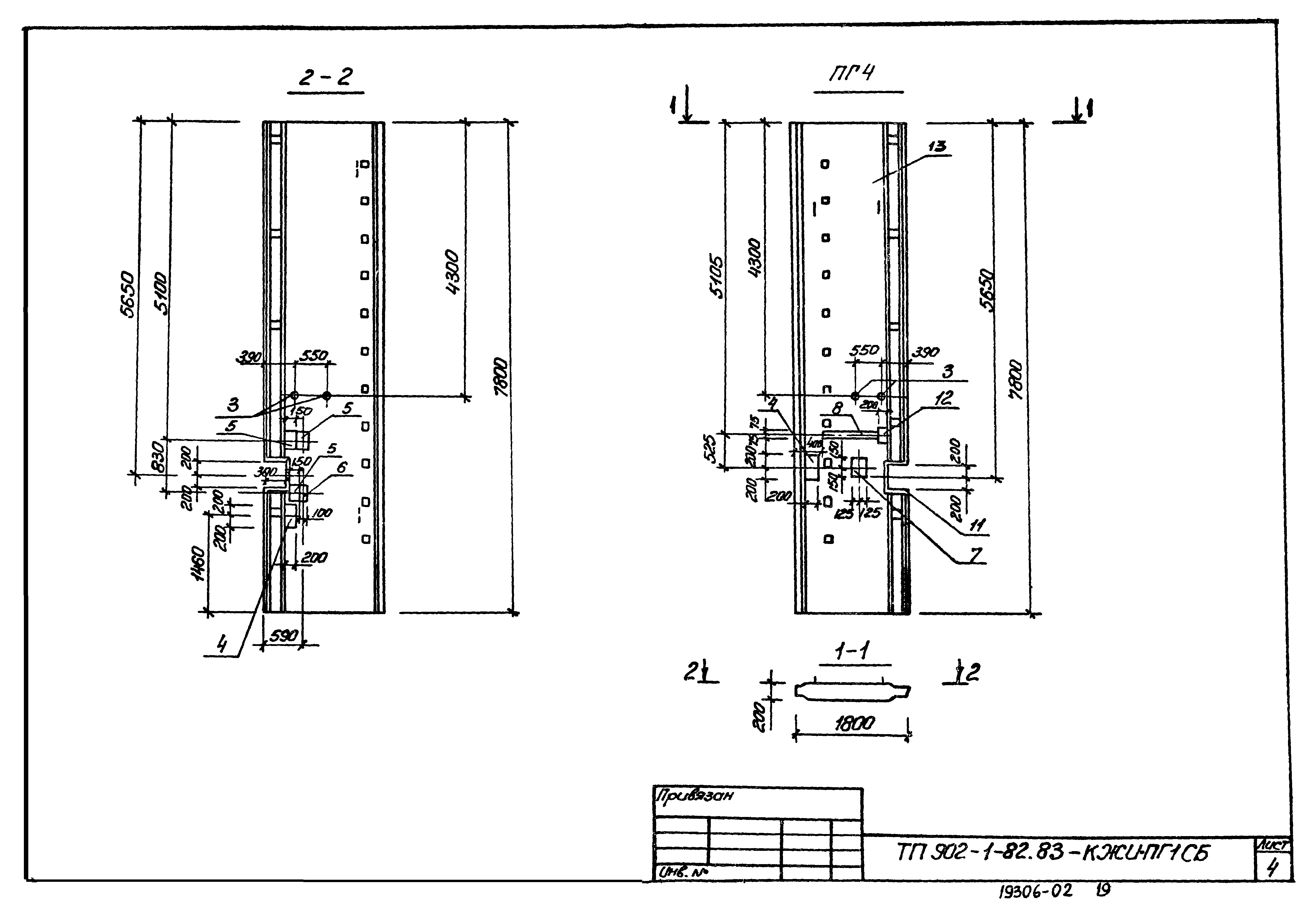
| Оглавление: | ТП 902-1-82.83-КЖИ-ДО Опись документов ТП 902-1-82.83-КЖИ-ТО Техническое описание ТП 902-1-82.83-КЖИ-ОП1 Опорный блок ОП1 ТП 902-1-82.83-КЖИ-ПС1 Панель стеновая ПС(ПС1-ПС13) ТП 902-1-82.83-КЖИ-ПС1 СБ Панель стеновая ПС(ПС1-ПС13). Сборочный чертеж ТП 902-1-82.83-КЖИ-ВМС1 Ведомость расхода стали (ПС1-ПС13) ТП 902-1-82.83-КЖИ-ПГ1 Панель перегородочная ПГ(ПГ1-ПГ4) ТП 902-1-82.83-КЖИ-ПГ1 СБ Панель перегородочная ПГ(ПГ1-ПГ4). Сборочный чертеж ТП 902-1-82.83-КЖИ-ВМС2 Ведомость расхода стали (ПГ1-ПГ4) ТП 902-1-82.83-КЖИ-С1 Сетка арматурная С(С1-С3) ТП 902-1-82.83-КЖИ-С1 СБ Сетка арматурная С(С1-С3). Сборочный чертеж ТП 902-1-82.83-КЖИ-С4 Сетка арматурная С4,С5 ТП 902-1-82.83-КЖИ-С4 СБ Сетка арматурная С4,С5. Сборочный чертеж ТП 902-1-82.83-КЖИ-КР1 Каркас плоский КР(КР1,КР2) ТП 902-1-82.83-КЖИ-КР1 СБ Каркас плоский КР(КР1,КР2). Сборочный чертеж ТП 902-1-82.83-КЖИ-КР3 Каркас плоский КР13 ТП 902-1-82.83-КЖИ-КР5 Каркас плоский КР(КР5-КР12) ТП 902-1-82.83-КЖИ-КР5 СБ Каркас плоский КР(КР5-КР12). Сборочный чертеж ТП 902-1-82.83-КЖИ-МН1 Изделие закладное МН1 ТП 902-1-82.83-КЖИ-МН2 Изделие закладное МН2 ТП 902-1-82.83-КЖИ-МН3 Изделие закладное МН3 ТП 902-1-82.83-КЖИ-МС1 Изделие соединительное МС1 ТП 902-1-82.83-КЖИ-КР4 Каркас плоский КР4 ТП 902-1-82.83-КЖИ-МН4 Изделие закладное МН4 ТП 902-1-82.83-КЖИ-МН4 СБ Изделие закладное МН4. Сборочный чертеж ТП 902-1-82.83-КЖИ-МС2 Изделие соединительное МС2 ТП 902-1-82.83-КЖИ-МС3 Изделие соединительное МС3 ТП 902-1-82.83-КЖИ-МС5 Изделие соединительное МС(МС5-МС8) ТП 902-1-82.83-КЖИ-МС5 СБ Изделие соединительное МС(МС5-МС8). Сборочный чертеж ТП 902-1-82.83-КЖИ-МС9 Изделие соединительное МС(МС9,МС10) ТП 902-1-82.83-КЖИ-МС9 СБ Изделие соединительное МС(МС9,МС10). Сборочный чертеж ТП 902-1-82.83-КЖИ-МС11 Изделие соединительное МС11 ТП 902-1-82.83-КЖИ-МС4 Изделие соединительное МС4 ТП 902-1-82.83-КЖИ-МС12 Изделие соединительное МС12 |
| Разработан: | Харьковский Водоканалпроект |
| Утверждён: | 27.10.1983 СоюзводоканалНИИпроект (SoyuzvodokanalNIIproject 59) |


































