Скачать ОСТ 108.101.103-76 Подогреватели пароводяные. Камеры водяные передние четырехходовые с плоскими днищами. Конструкция и размерыДата актуализации: 01.01.2021
|
| Обозначение: | ОСТ 108.101.103-76 |
| Обозначение англ: | OST 108.101.103-76 |
| Статус: | не определен законодательством |
| Название рус.: | Подогреватели пароводяные. Камеры водяные передние четырехходовые с плоскими днищами. Конструкция и размеры |
| Дата добавления в базу: | 01.09.2013 |
| Дата актуализации: | 01.01.2021 |
| Дата введения: | 01.01.1978 |
| Дата окончания срока действия: | 30.06.2003 |
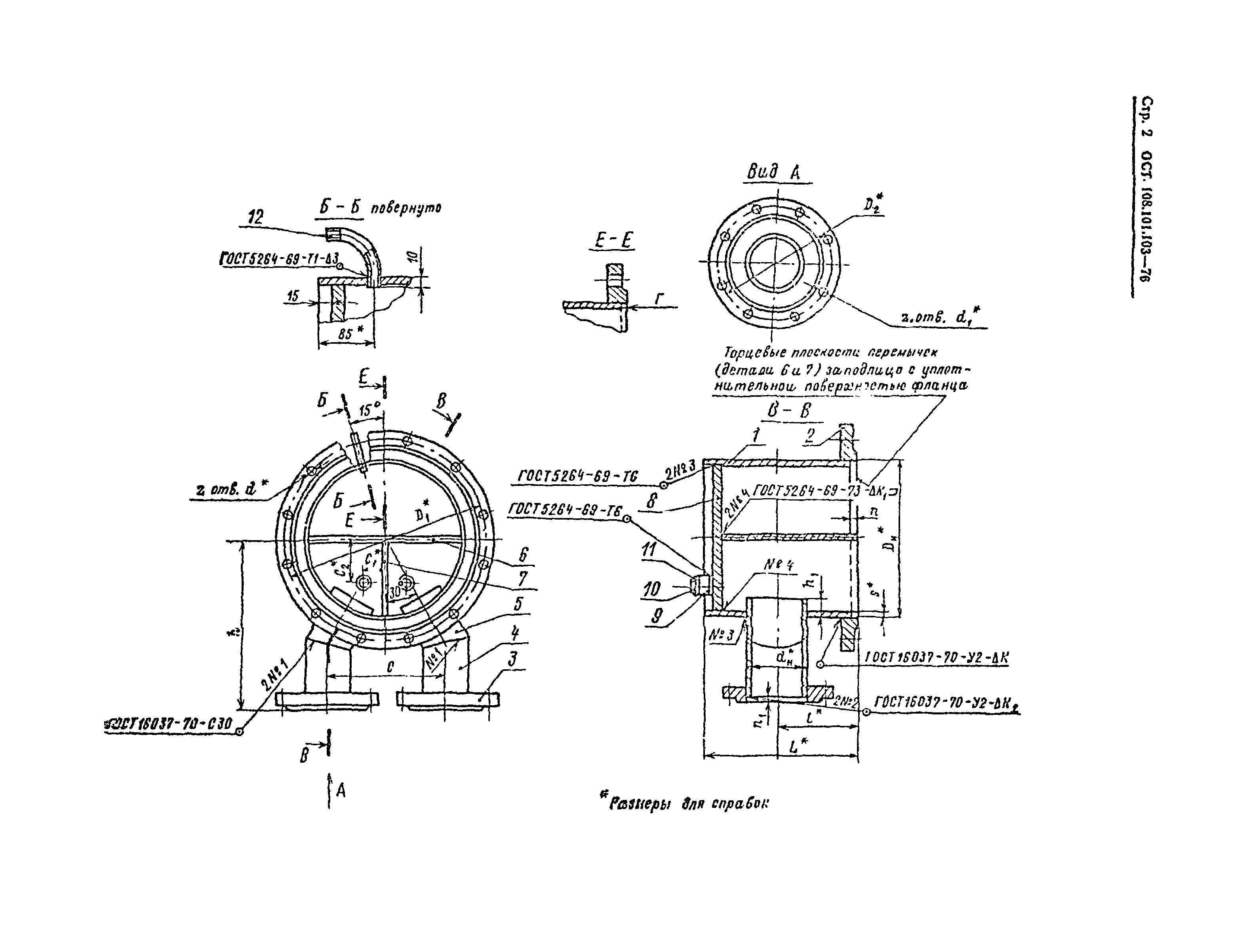
| Область применения: | Стандарт распространяется на передние водяные камеры пароводяных подогревателей. |
| Разработан: | Ленинградский филиал института Энергомонтажпроект НПО ЦКТИ |
| Утверждён: | 27.12.1976 Министерство энергетического машиностроения (Ministry of Energy Machinery Manufacturing ПС-002/9623) |
| Принят: | Госгортехнадзор СССР (USSR Gosgortekhnadzor ) ЦПКБ Главтехмонтаж Минмонтажспецстроя Трест Союзкотлокомлект |
| Список изменений: | |
| Нормативные ссылки: |
|





Текстовое изменение № 1 от 01.01.1983
Текстовое изменение № 2 от 01.01.1988
Текстовое изменение № 3 от 01.07.1993



Текстовое изменение № от 15.02.1994


