Скачать Серия 1.494-22 Выпуск 4. Рабочие чертежи (ПВМ 20К.00.00.000)Дата актуализации: 01.01.2021
|
| Обозначение: | Серия 1.494-22 |
| Обозначение англ: | Series 1.494-22 |
| Статус: | заменен |
| Название рус.: | Выпуск 4. Рабочие чертежи (ПВМ 20К.00.00.000) |
| Дата добавления в базу: | 01.09.2013 |
| Дата актуализации: | 01.01.2021 |
| Дата окончания срока действия: | 01.09.1984 |
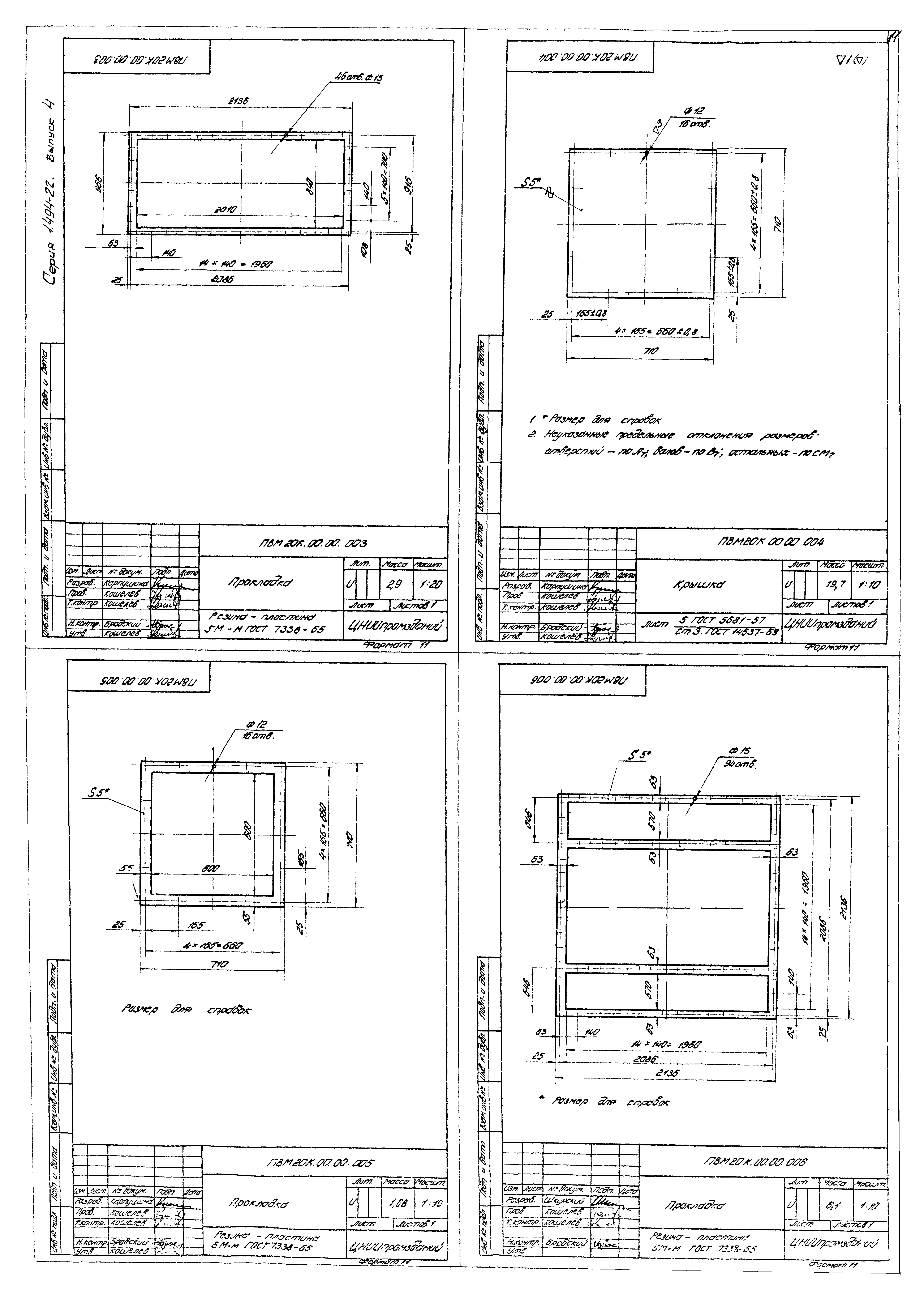
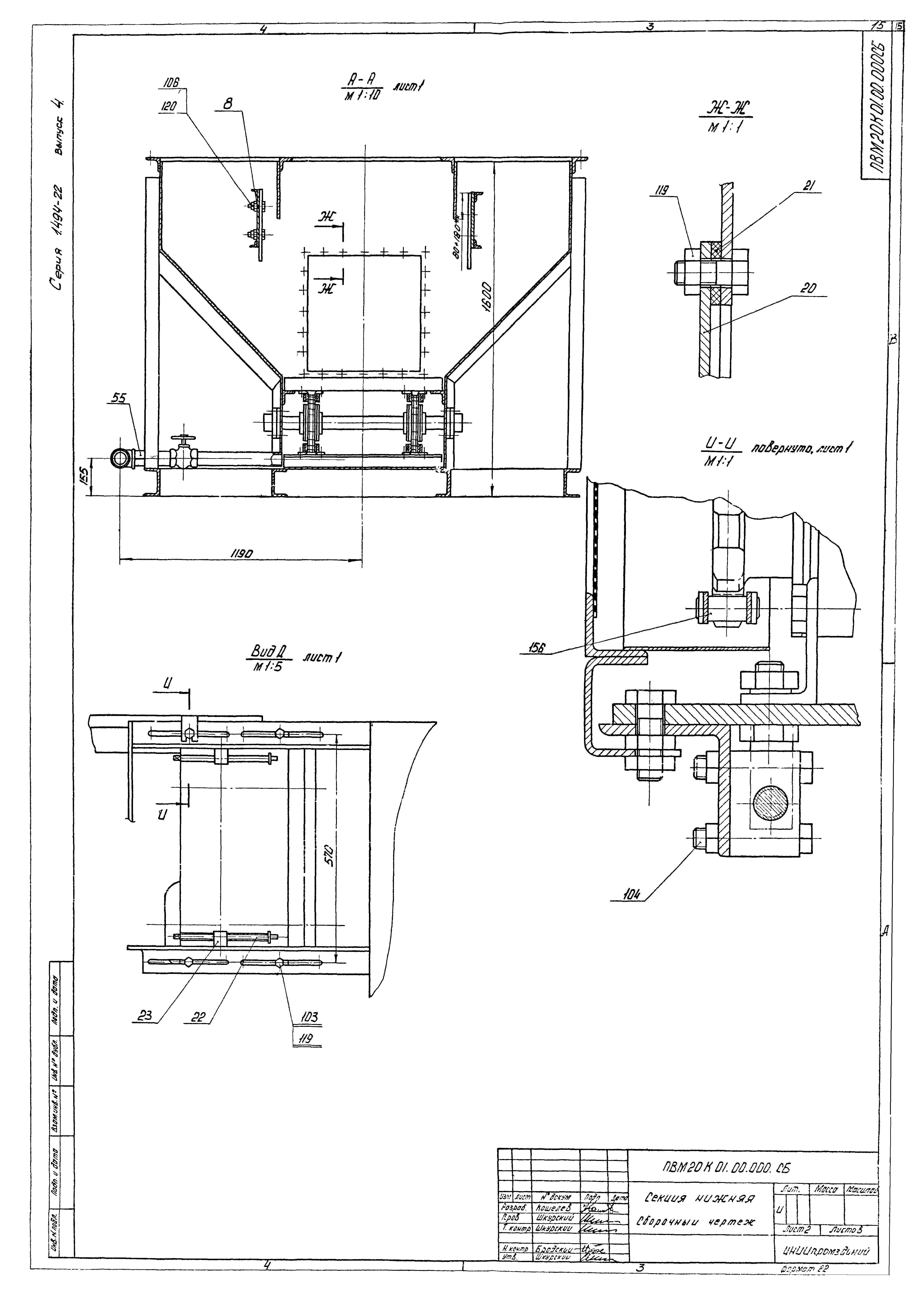
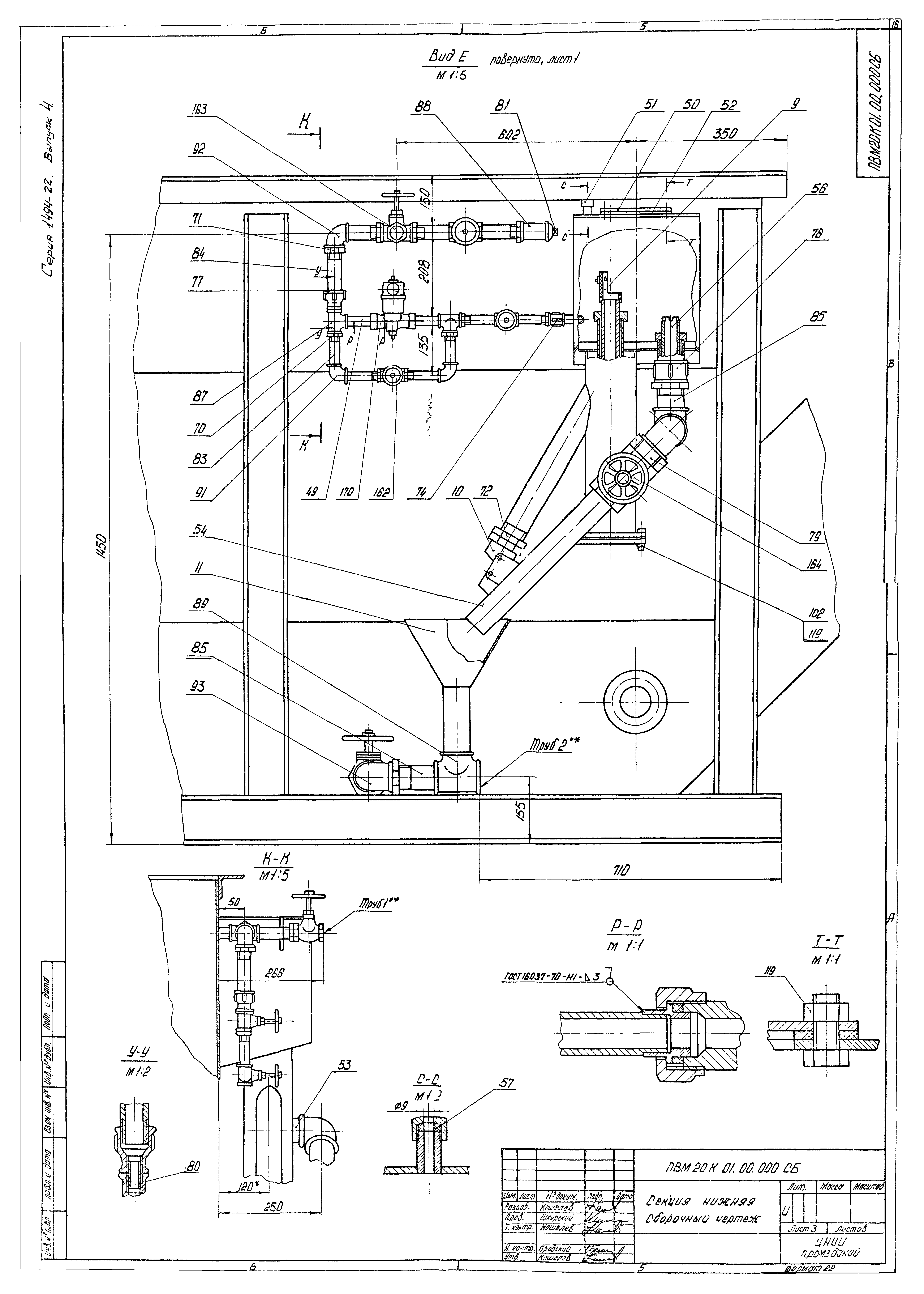
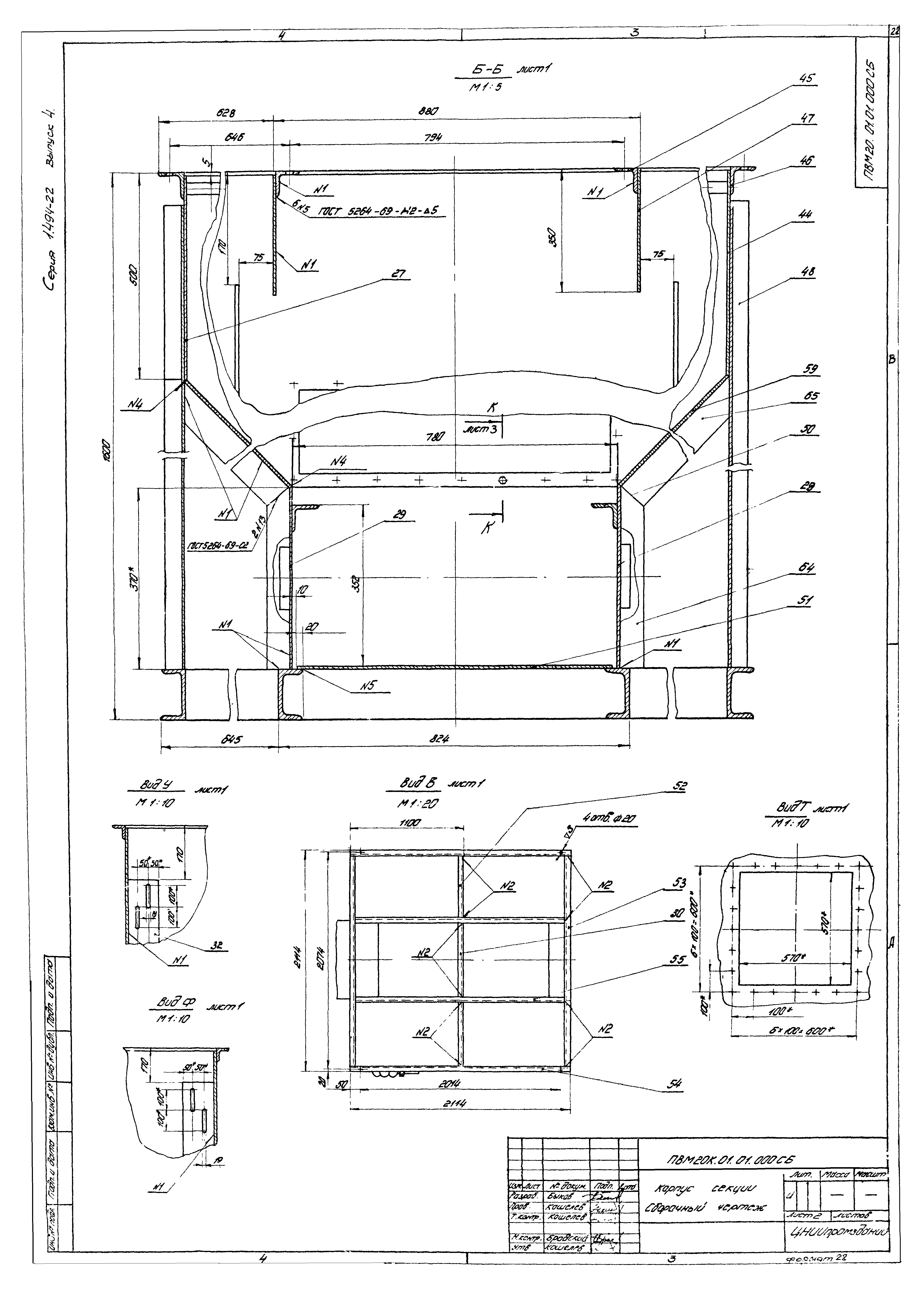
| Оглавление: | 1.494-22 ПВМ20К00.00.000 ВС Пылеуловитель вентиляционный мокрый конвейерный типа ПВМ, производительностью 2000 м³/час. Ведомость спецификаций 1.494-22 ПВМ20К00.00.000 ВП Пылеуловитель вентиляционный мокрый конвейерный типа ПВМ, производительностью 2000 м³/час. Ведомость покупных изделий 1.494-22 ПВМ20К00.00.000 СБ Пылеуловитель вентиляционный мокрый конвейерный типа ПВМ, производительностью 2000 м³/час. Сборочный чертеж 1.494-22 ПВМ20К00.00.000 Пылеуловитель вентиляционный мокрый конвейерный типа ПВМ, производительностью 2000 м³/час 1.494-22 ПВМ20К00.00.001 Заглушка 1.494-22 ПВМ20К00.00.002 Прокладка 1.494-22 ПВМ30К00.00.003 Прокладка 1.494-22 ПВМ20К00.00.004 Крышка 1.494-22 ПВМ20К00.00.005 Прокладка 1.494-22 ПВМ20К00.00.006 Прокладка 1.494-22 ПВМ20К01.00.000 Секция нижняя 1.494-22 ПВМ20К01.00.000 СБ Секция нижняя. Сборочный чертеж 1.494-22 ПВМ20К01.01.000 Корпус секции 1.494-22 ПВМ20К01.01.000 СБ Корпус секции. Сборочный чертеж 1.494-22 ПВМ20К02.00.000 СБ Секция средняя. Сборочный чертеж 1.494-22 ПВМ20К02.00.000 Секция средняя 1.494-22 ПВМ20К02.01.000 Корпус секции средней 1.494-22 ПВМ20К02.01.003 Стенка 1.494-22 ПВМ20К02.01.000 СБ Корпус секции средней. Сборочный чертеж 1.494-22 ПВМ20К00.00.008 Фланец 1.494-22 ПВМ20К01.01.019 Стенка торцевая 1.494-22 ПВМ20К02.01.084 Стенка 1.494-22 ПВМ20К02.01.014 Перегородка 1.494-22 ПВМ20К03.00.000 СБ Воздухосборник. Сборочный чертеж 1.494-22 ПВМ20К03.00.000 Воздухосборник 1.494-22 ПВМ20К03.00.002 Стенка 1.494-22 ПВМ20К03.00.003 Верх воздухосборника 1.494-22 ПВМ20К03.00.004 Стенка |
| Разработан: | ЦНИИпромзданий |
| Утверждён: | Госстрой СССР (Государственный комитет Совета Министров СССР по делам строительства) (USSR Gosstroy ) 28.07.1975 Главпромстройпроект Госстроя СССР (47) |
| Чем заменён: |
































