Скачать Серия 1.464-12 Выпуск 1. Техническое описаниеДата актуализации: 01.01.2021
|
| Обозначение: | Серия 1.464-12 |
| Обозначение англ: | Series 1.464-12 |
| Статус: | заменен |
| Название рус.: | Выпуск 1. Техническое описание |
| Дата добавления в базу: | 01.09.2013 |
| Дата актуализации: | 01.01.2021 |
| Дата введения: | 01.10.1976 |
| Дата окончания срока действия: | 01.12.1993 |
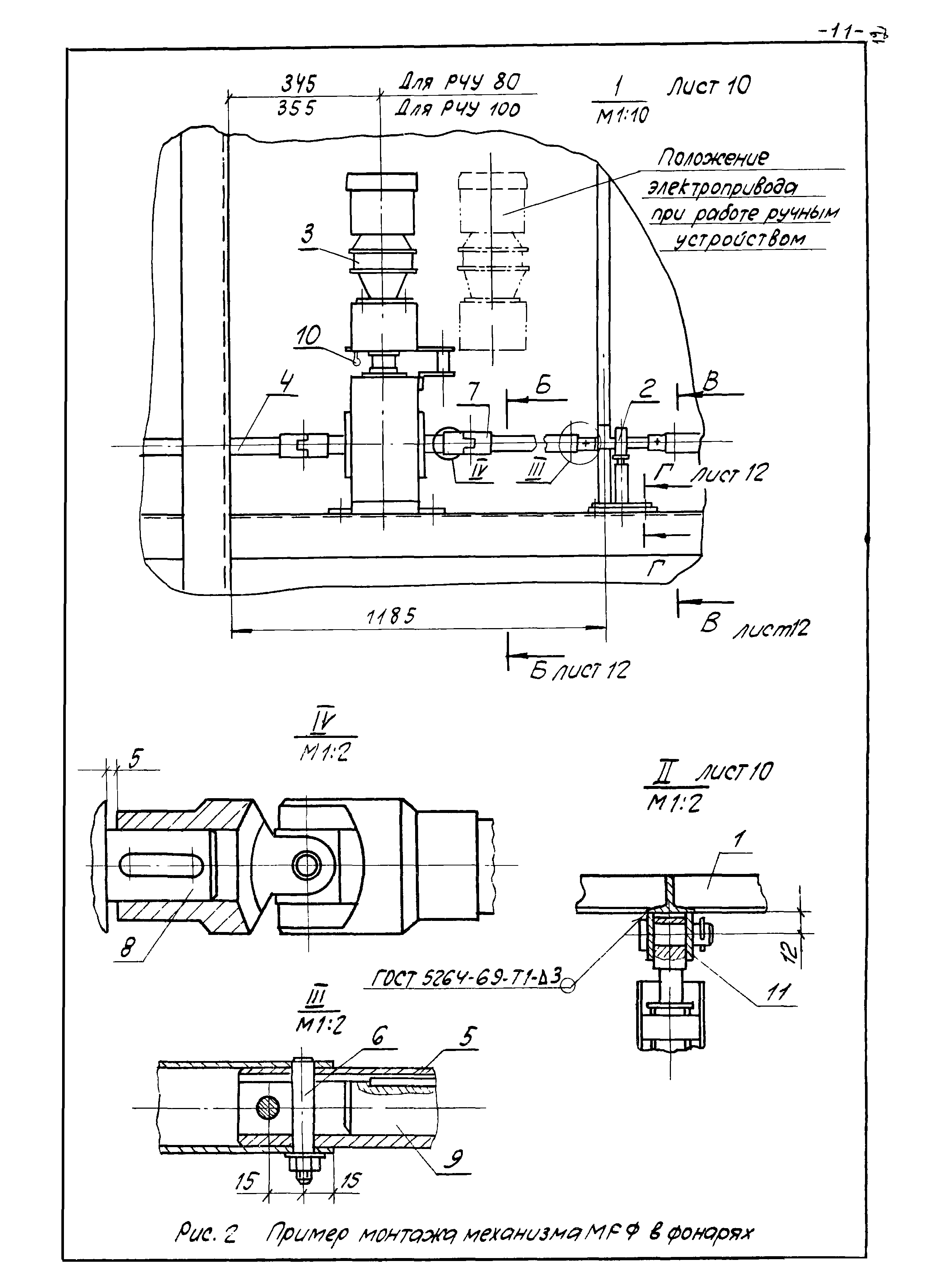
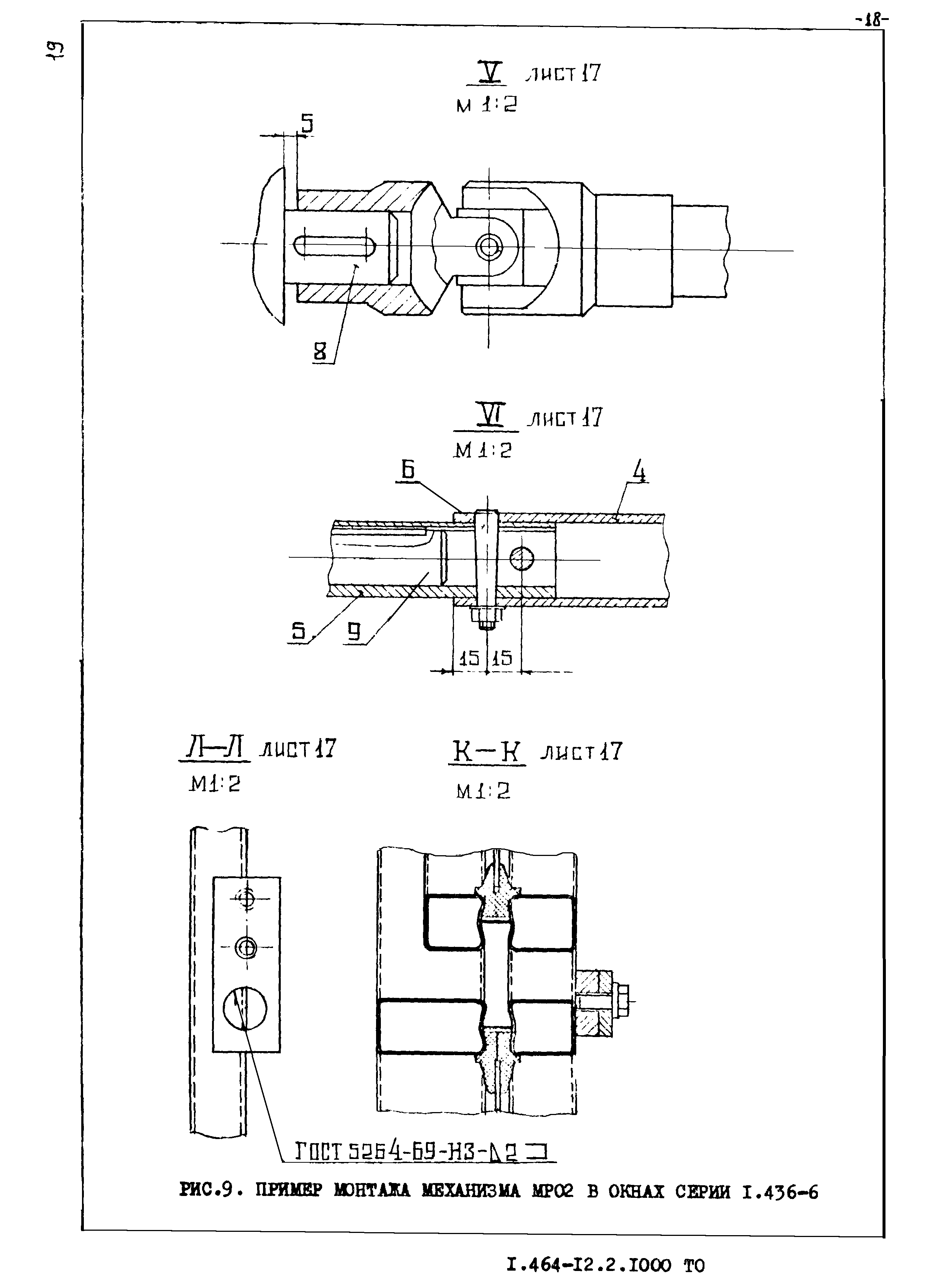
| Оглавление: | 1. Введение 2. Назначение и область применения 5. Технические данные 4. Описание 5. Монтаж 6. Опробование, обкатка и сдача в эксплуатацию 7. Проверка технического состояния 8. Характерные неисправности и меры их устранения 9. Техническое обслуживание 10. Изобретения |
| Разработан: | ЦНИИпромзданий |
| Утверждён: | 30.06.1976 Госстрой СССР (Государственный комитет Совета Министров СССР по делам строительства) (USSR Gosstroy 98) Госстрой СССР (Государственный комитет Совета Министров СССР по делам строительства) (USSR Gosstroy ) |
| Чем заменён: |



























