Скачать СН 460-74 Раздел 3. Архитектурно-строительные решенияДата актуализации: 01.01.2021
|
| Обозначение: | СН 460-74 |
| Обозначение англ: | SN 460-74 |
| Статус: | не действует |
| Название рус.: | Раздел 3. Архитектурно-строительные решения |
| Дата добавления в базу: | 01.09.2013 |
| Дата актуализации: | 01.01.2021 |
| Дата введения: | 01.11.1974 |
| Дата окончания срока действия: | 12.08.1986 |
| Область применения: | Документ устанавливает состав и правила оформления архитектурно-строительных рабочих чертежей зданий и сооружений |
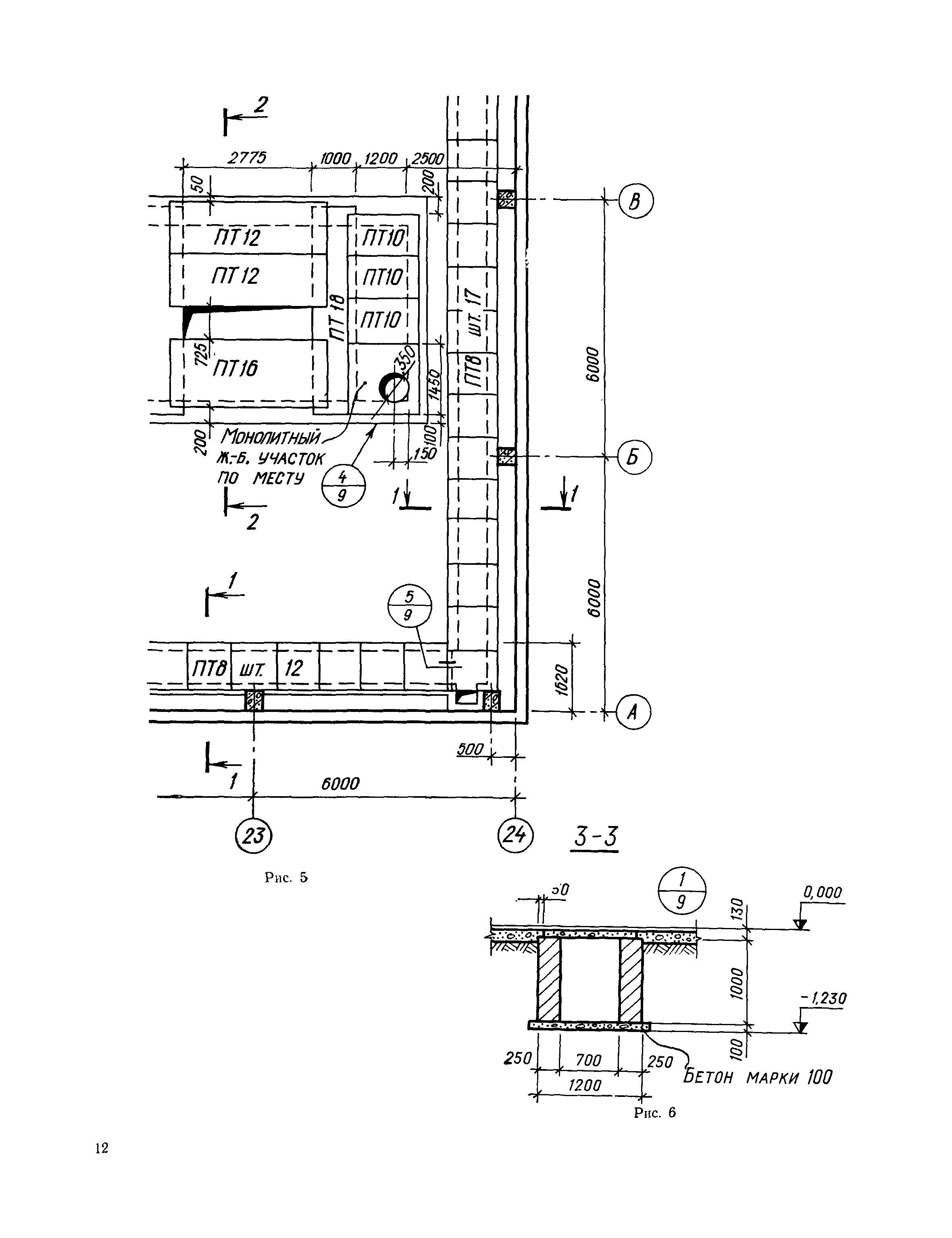
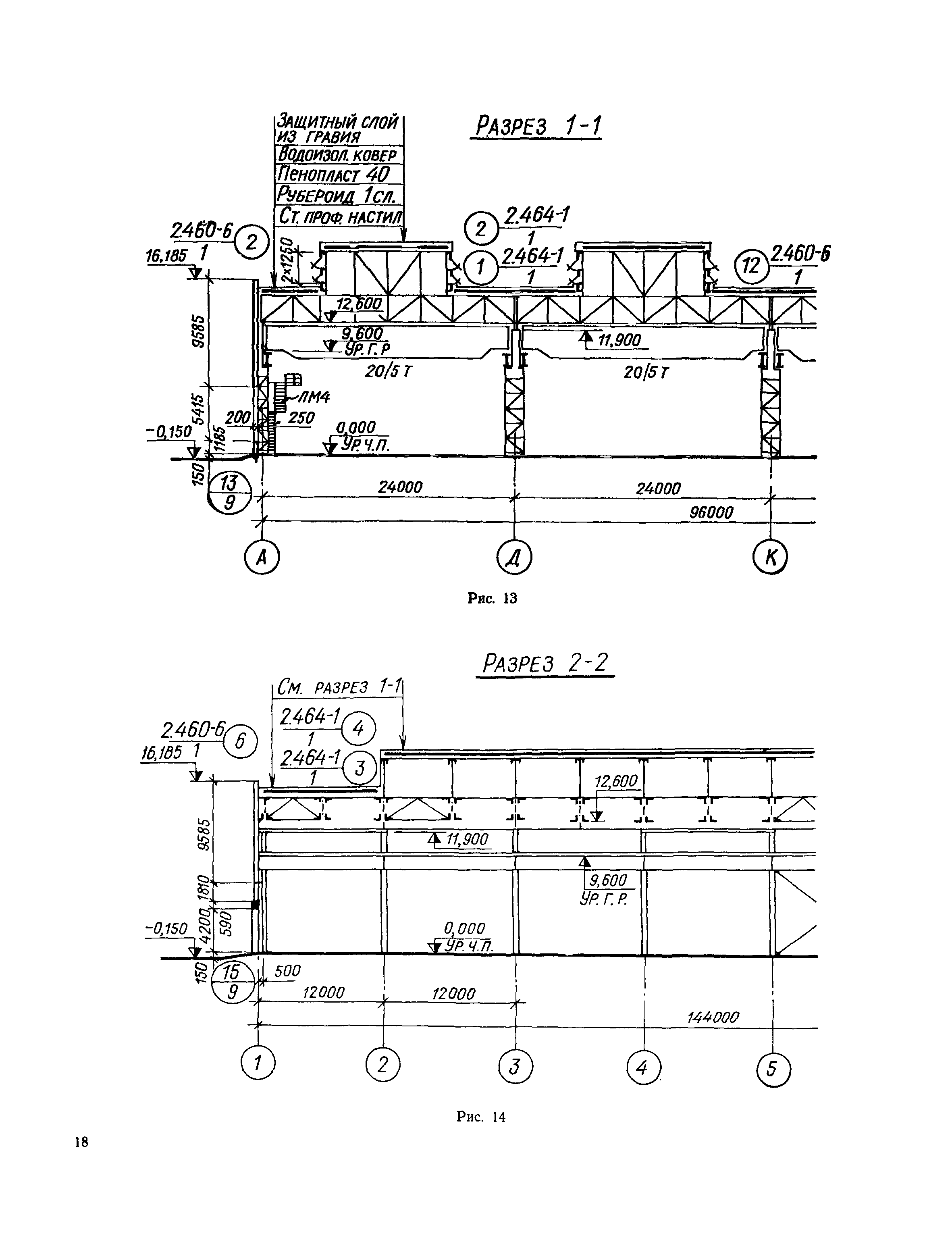
| Оглавление: | 1. Область применения 2. Состав основного комплекта рабочих чертежей и общие правила их оформления 3. Общие данные (заглавный лист) 4. Чертежи подземных конструкций здания (сооружения) 5. Планы 6. Разрезы 7. Фасады 8. План кровли 9. План полов 10. Маркировочные схемы сборных перегородок и заполнения оконных проемов |
| Разработан: | Промстройпроект Проектный институт № 2 Госстроя СССР |
| Утверждён: | 29.05.1974 Госстрой СССР (Государственный комитет Совета Министров СССР по делам строительства) (USSR Gosstroy 111) |
| Издан: | Стройиздат (1975 г. ) |
| Чем заменён: |
|


























