Скачать ГОСТ Р 53617-2009 Щетки электрических машин. Конструкция. Типы и размеры

Дата актуализации: 01.01.2021

ГОСТ Р 53617-2009

Щетки электрических машин. Конструкция. Типы и размеры

Обозначение: ГОСТ Р 53617-2009
Обозначение англ: GOST R 53617-2009
Статус:введен впервые
Название рус.:Щетки электрических машин. Конструкция. Типы и размеры
Название англ.:Carbon brushes for electrical machines. Construction. Types and dimensions
Дата добавления в базу:01.09.2013
Дата актуализации:01.01.2021
Дата введения:01.01.2011
Область применения:Стандарт распространяется на щетки, применяемые для подвода и отвода тока на коллекторах и контактных кольцах электрических машин, а также на накладки и наконечники, применяемые для армирования щеток. Стандарт устанавливает конструкции, типы и размеры щеток, накладок и наконечников. Стандарт не распространяется на щетки, накладки и наконечники, применяемые в электрических машинах военной техники.
Оглавление:1 Область применения
2 Нормативные ссылки
3 Термины и определения
4 Обозначения
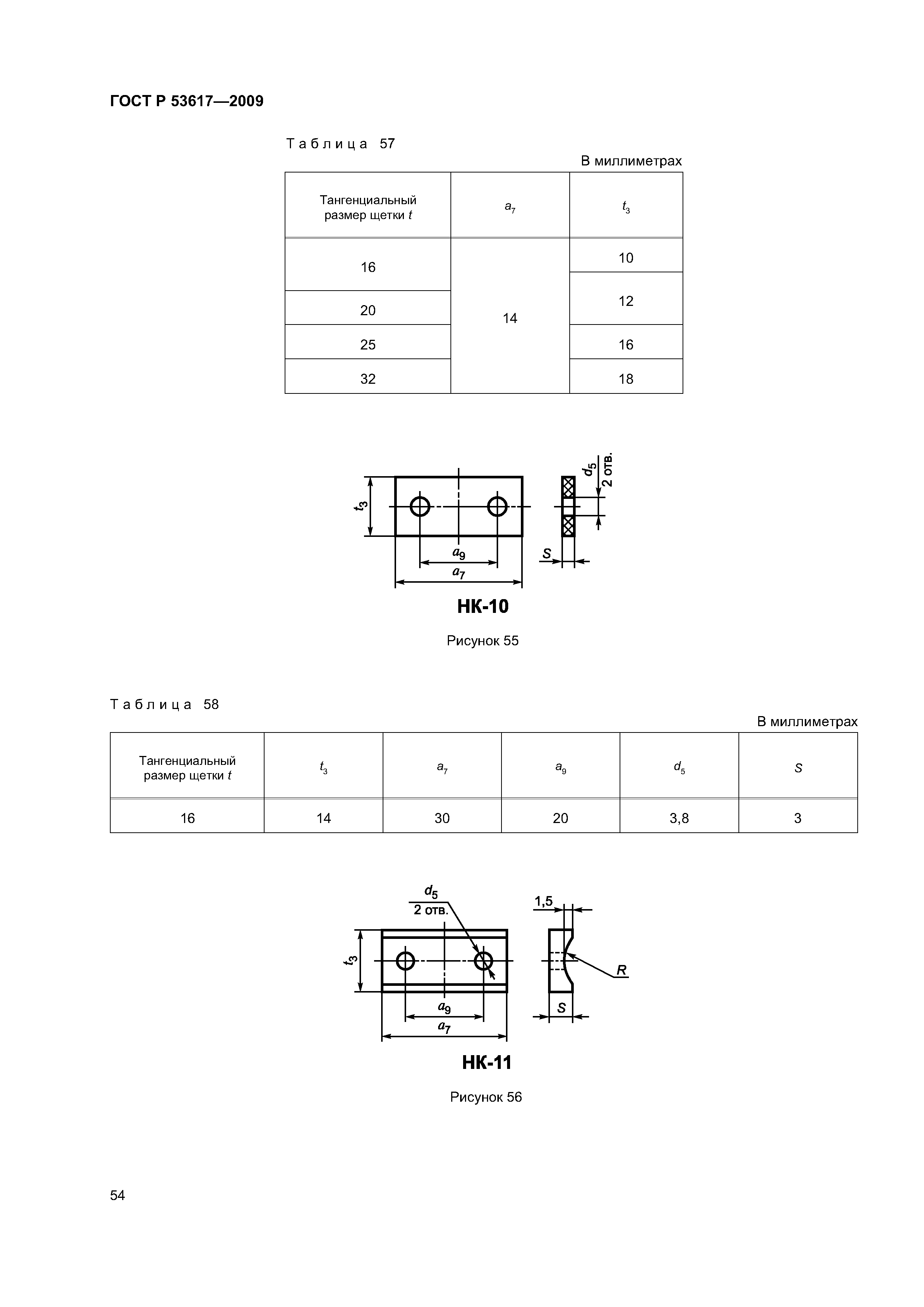
5 Щетки. Конструкция, типы и размеры
6 Накладки. Конструкция, типы и размеры
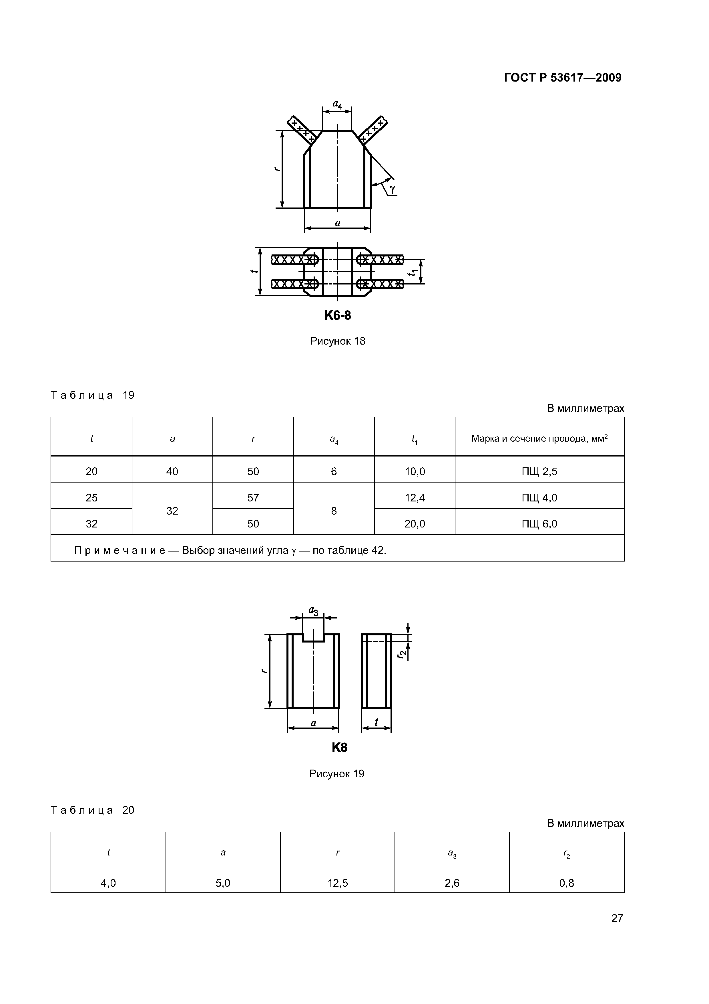
7 Наконечники. Конструкция, типы и размеры
Разработан: ФГУП НИИЭИ
Утверждён:15.12.2009 Федеральное агентство по техническому регулированию и метрологии (952-ст)
Издан: Стандартинформ (2011 г. )
Нормативные ссылки:
ГОСТ Р 53617-2009ГОСТ Р 53617-2009ГОСТ Р 53617-2009ГОСТ Р 53617-2009ГОСТ Р 53617-2009ГОСТ Р 53617-2009ГОСТ Р 53617-2009ГОСТ Р 53617-2009ГОСТ Р 53617-2009ГОСТ Р 53617-2009ГОСТ Р 53617-2009ГОСТ Р 53617-2009ГОСТ Р 53617-2009ГОСТ Р 53617-2009ГОСТ Р 53617-2009ГОСТ Р 53617-2009ГОСТ Р 53617-2009ГОСТ Р 53617-2009ГОСТ Р 53617-2009ГОСТ Р 53617-2009ГОСТ Р 53617-2009ГОСТ Р 53617-2009ГОСТ Р 53617-2009ГОСТ Р 53617-2009ГОСТ Р 53617-2009ГОСТ Р 53617-2009ГОСТ Р 53617-2009ГОСТ Р 53617-2009ГОСТ Р 53617-2009ГОСТ Р 53617-2009ГОСТ Р 53617-2009ГОСТ Р 53617-2009ГОСТ Р 53617-2009ГОСТ Р 53617-2009ГОСТ Р 53617-2009ГОСТ Р 53617-2009ГОСТ Р 53617-2009ГОСТ Р 53617-2009ГОСТ Р 53617-2009ГОСТ Р 53617-2009ГОСТ Р 53617-2009ГОСТ Р 53617-2009ГОСТ Р 53617-2009ГОСТ Р 53617-2009ГОСТ Р 53617-2009ГОСТ Р 53617-2009ГОСТ Р 53617-2009ГОСТ Р 53617-2009ГОСТ Р 53617-2009ГОСТ Р 53617-2009ГОСТ Р 53617-2009ГОСТ Р 53617-2009ГОСТ Р 53617-2009ГОСТ Р 53617-2009ГОСТ Р 53617-2009ГОСТ Р 53617-2009ГОСТ Р 53617-2009ГОСТ Р 53617-2009ГОСТ Р 53617-2009ГОСТ Р 53617-2009ГОСТ Р 53617-2009ГОСТ Р 53617-2009ГОСТ Р 53617-2009ГОСТ Р 53617-2009ГОСТ Р 53617-2009ГОСТ Р 53617-2009ГОСТ Р 53617-2009ГОСТ Р 53617-2009ГОСТ Р 53617-2009ГОСТ Р 53617-2009