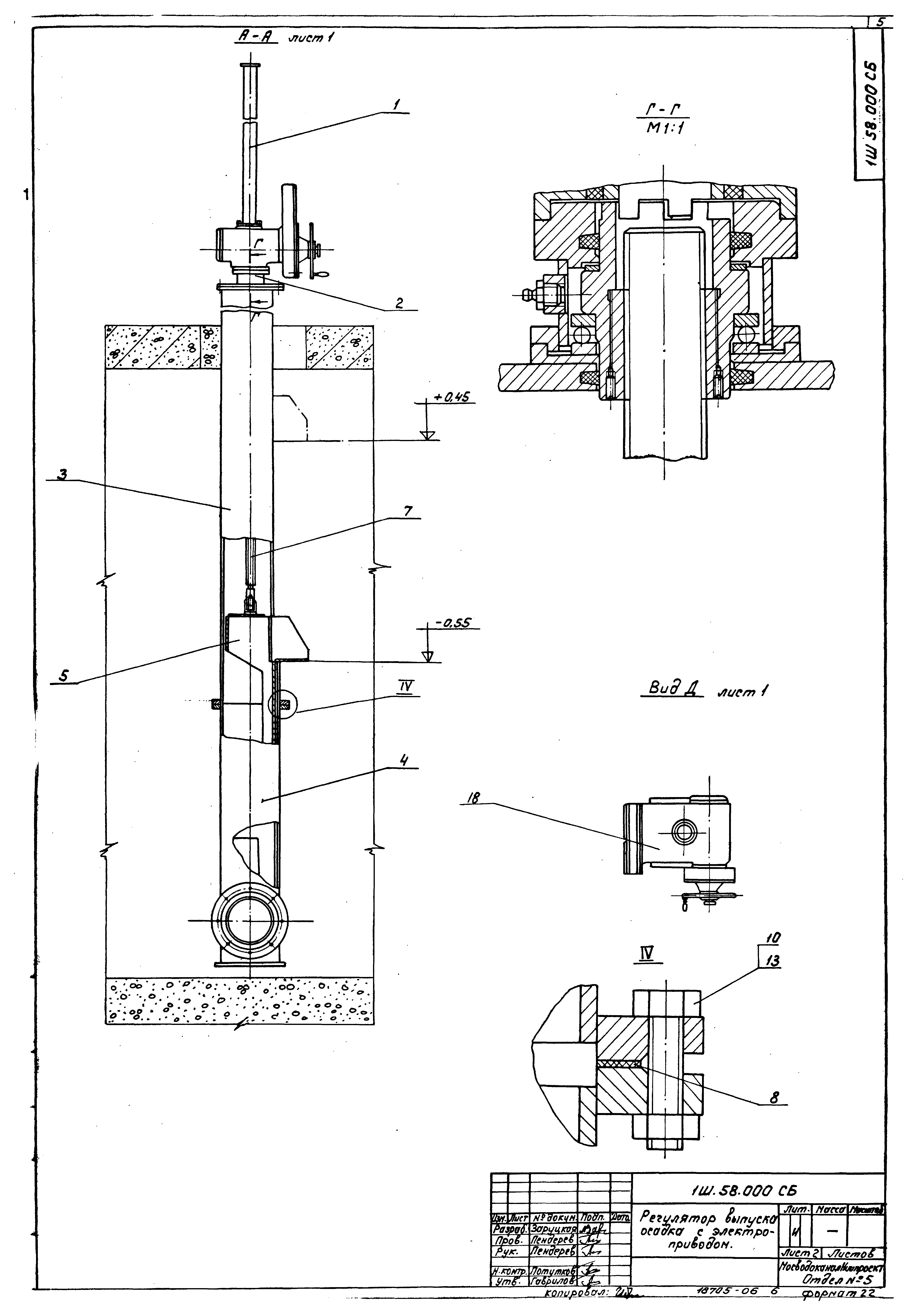
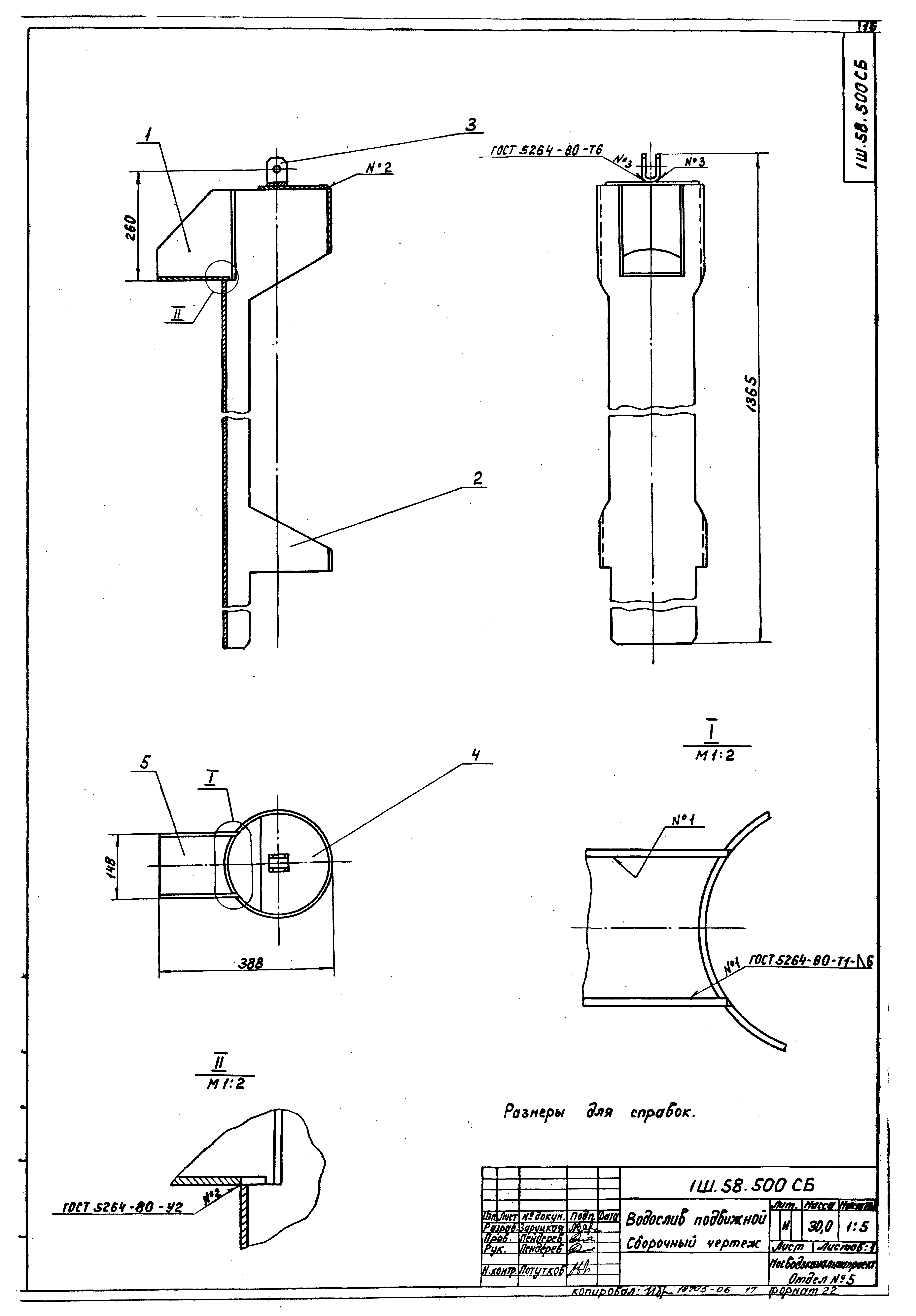
Скачать Типовой проект 902-2-364.83 Альбом X. Нестандартизированное оборудование. Регулятор выпуска осадка с электроприводомДата актуализации: 01.01.2021 Типовой проект 902-2-364.83
Альбом X. Нестандартизированное оборудование. Регулятор выпуска осадка с электроприводом| Обозначение: | Типовой проект 902-2-364.83 | | Обозначение англ: | 902-2-364.83 | | Статус: | не действует | | Название рус.: | Альбом X. Нестандартизированное оборудование. Регулятор выпуска осадка с электроприводом | | Дата добавления в базу: | 01.09.2013 | | Дата актуализации: | 01.01.2021 | | Разработан: | МосводоканалНИИпроект
| | Утверждён: | 14.12.1982 МосводоканалНИИпроект (213)
|
                  
|