Скачать Серия Г-903 Раздел V. Выпуск 53. Перегородки. Перегородки из стальных щитовДата актуализации: 01.01.2021
|
| Обозначение: | Серия Г-903 |
| Обозначение англ: | Series Г-903 |
| Статус: | не действует |
| Название рус.: | Раздел V. Выпуск 53. Перегородки. Перегородки из стальных щитов |
| Дата добавления в базу: | 01.09.2013 |
| Дата актуализации: | 01.01.2021 |
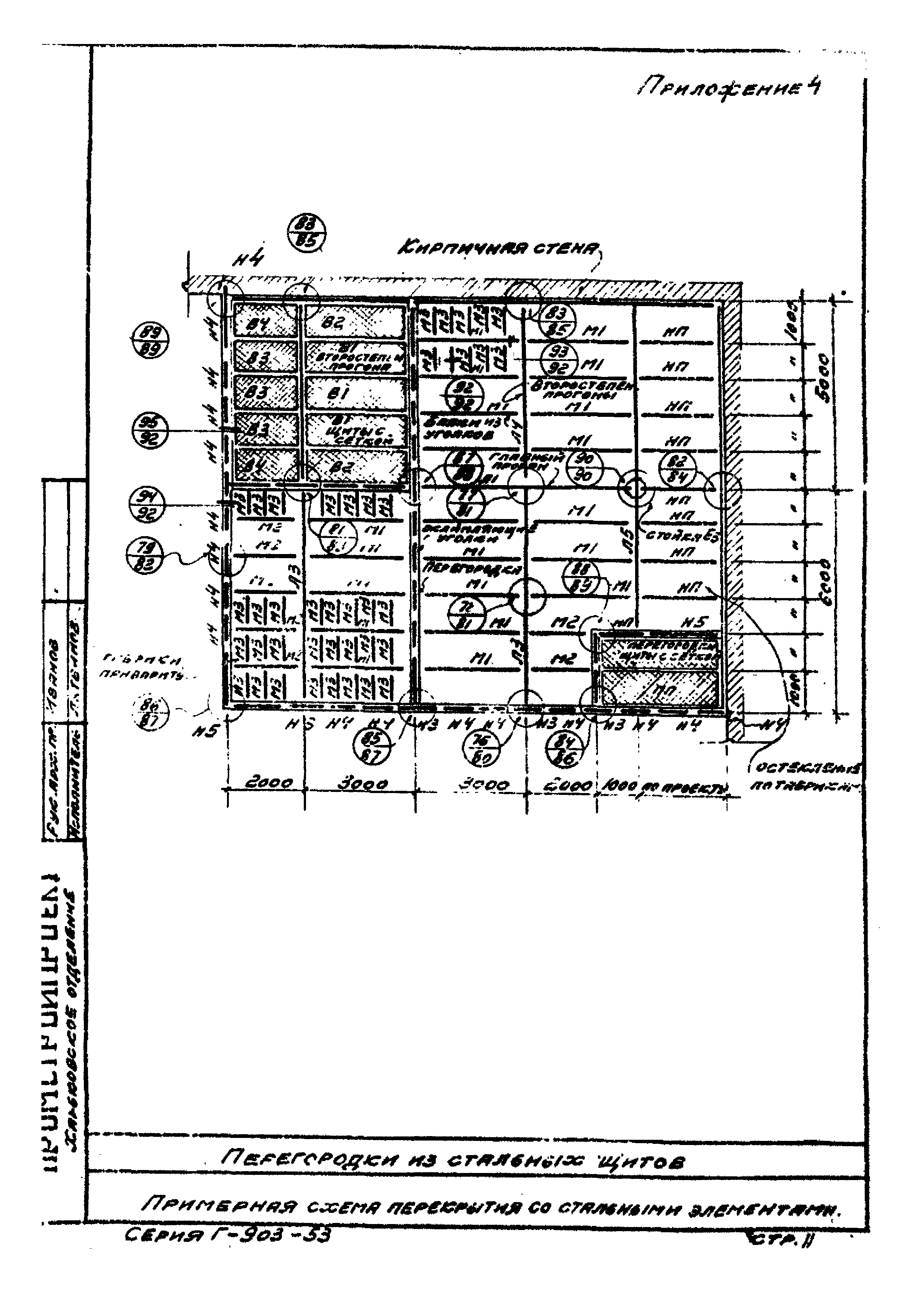
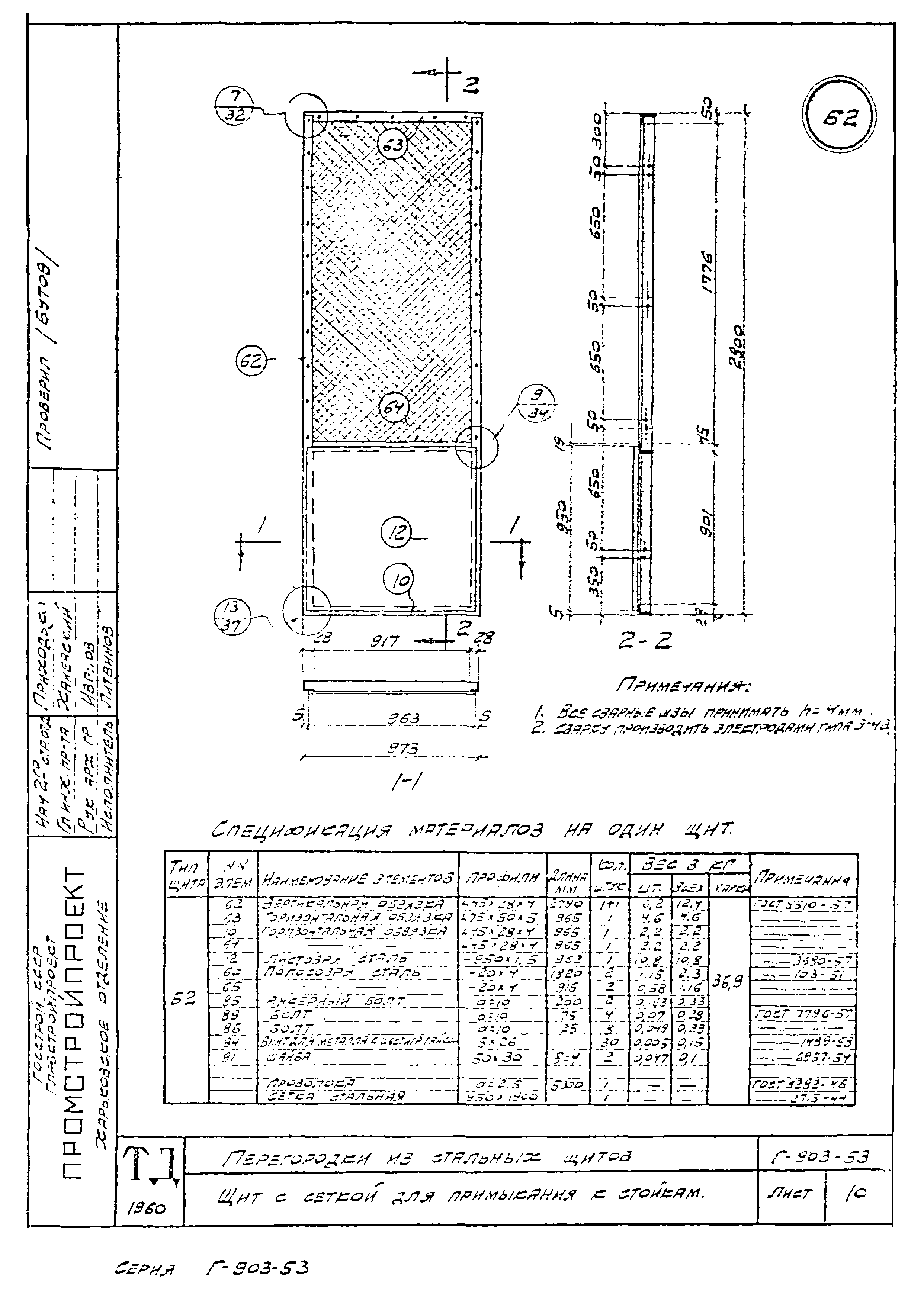
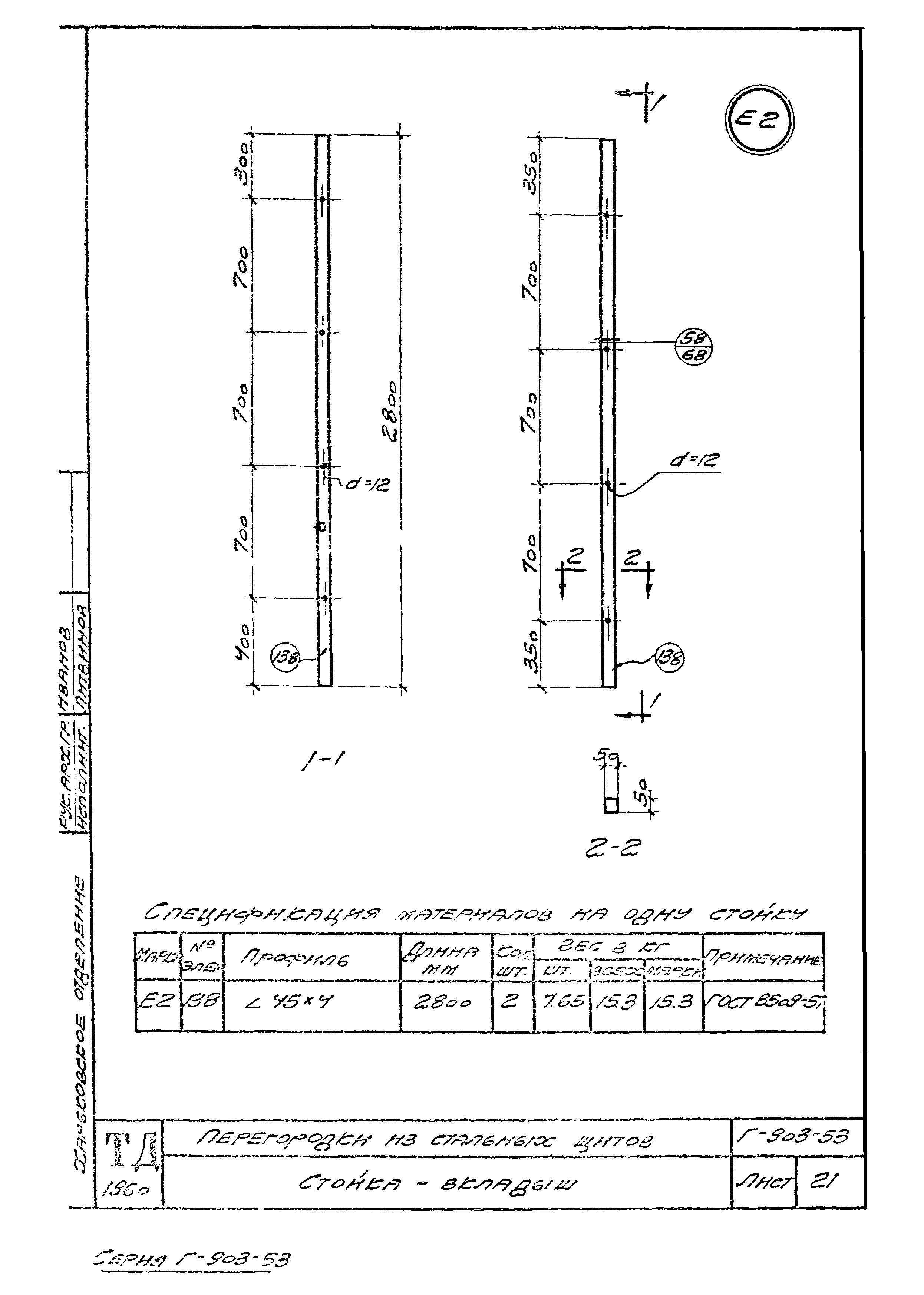
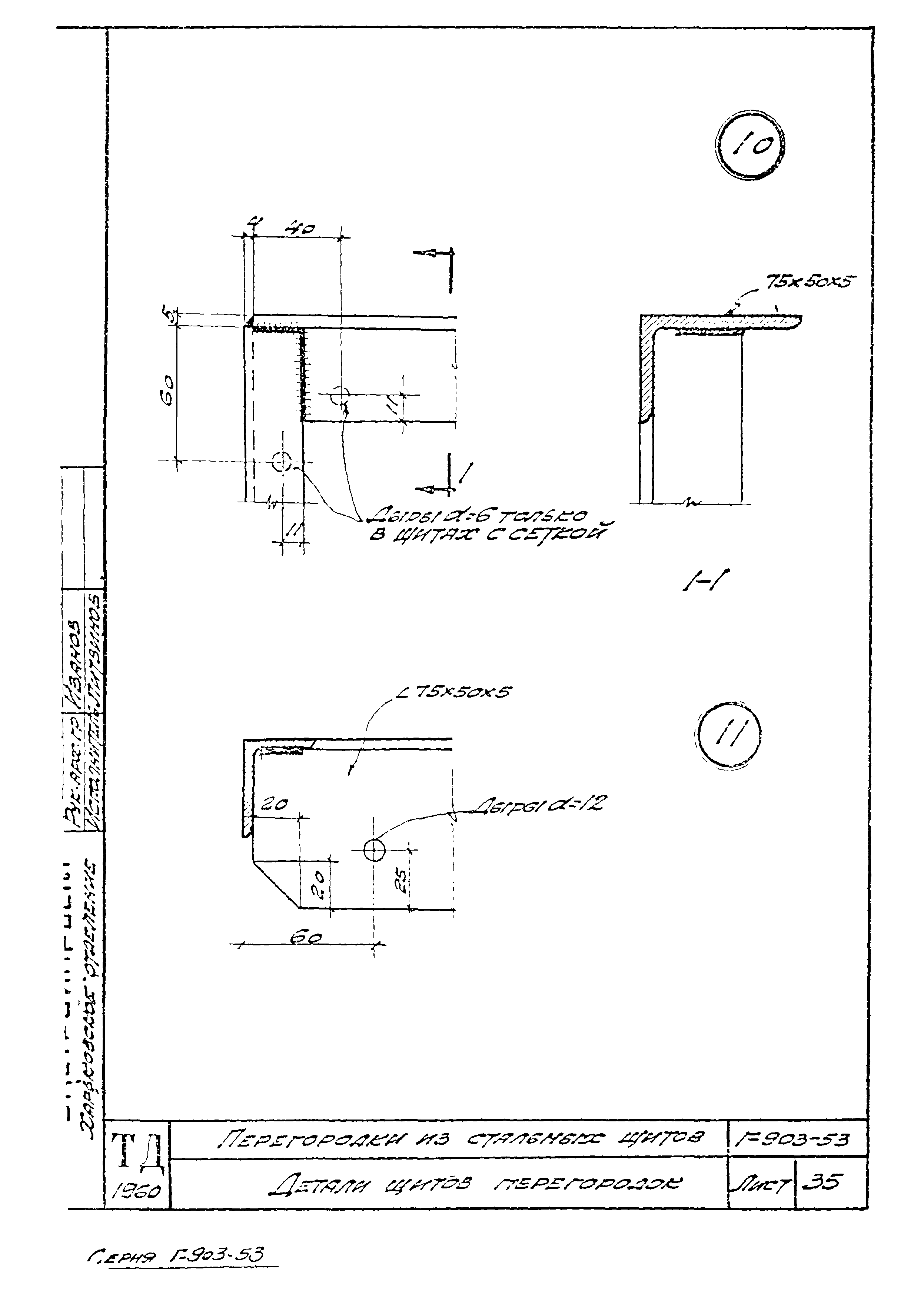
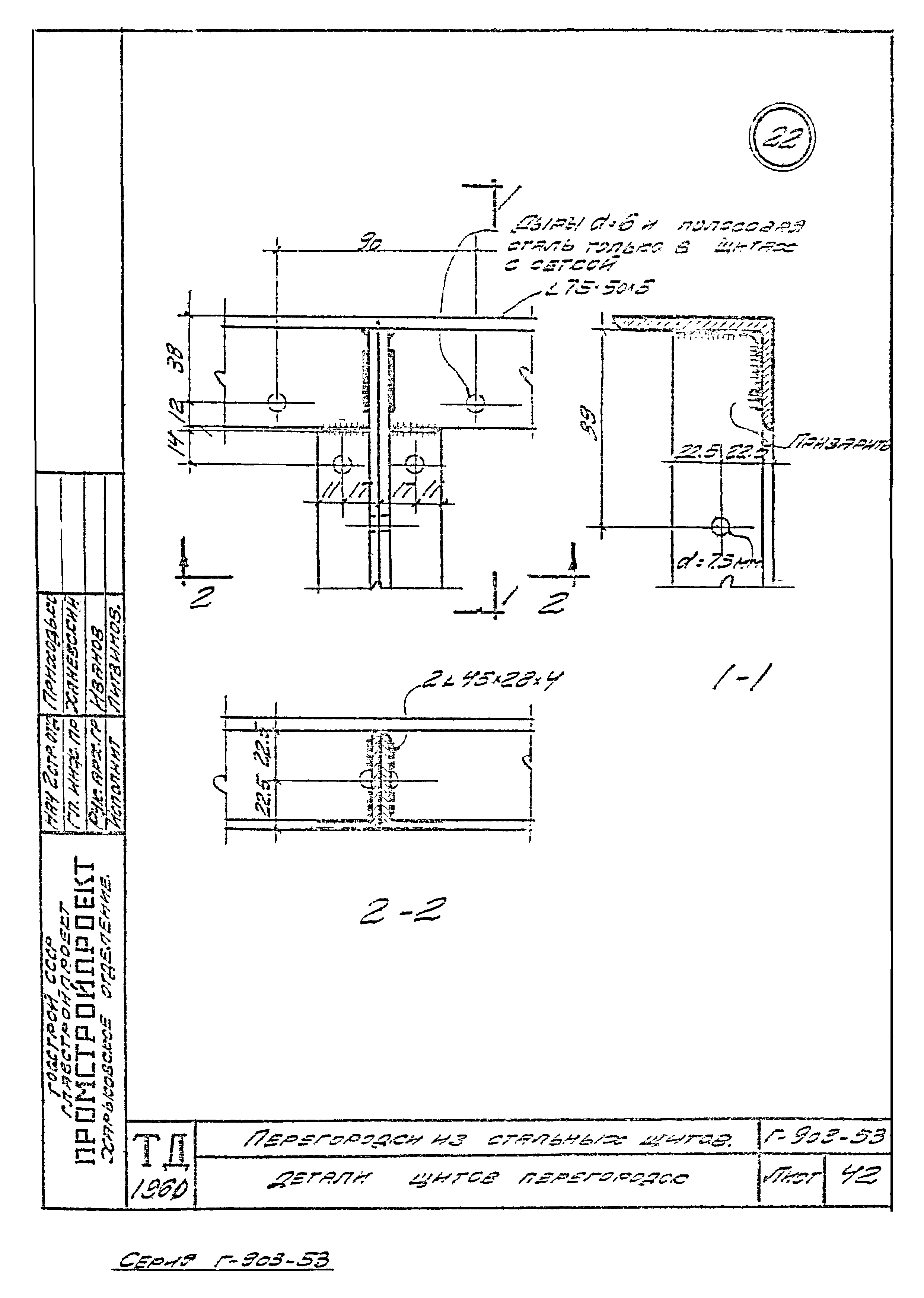
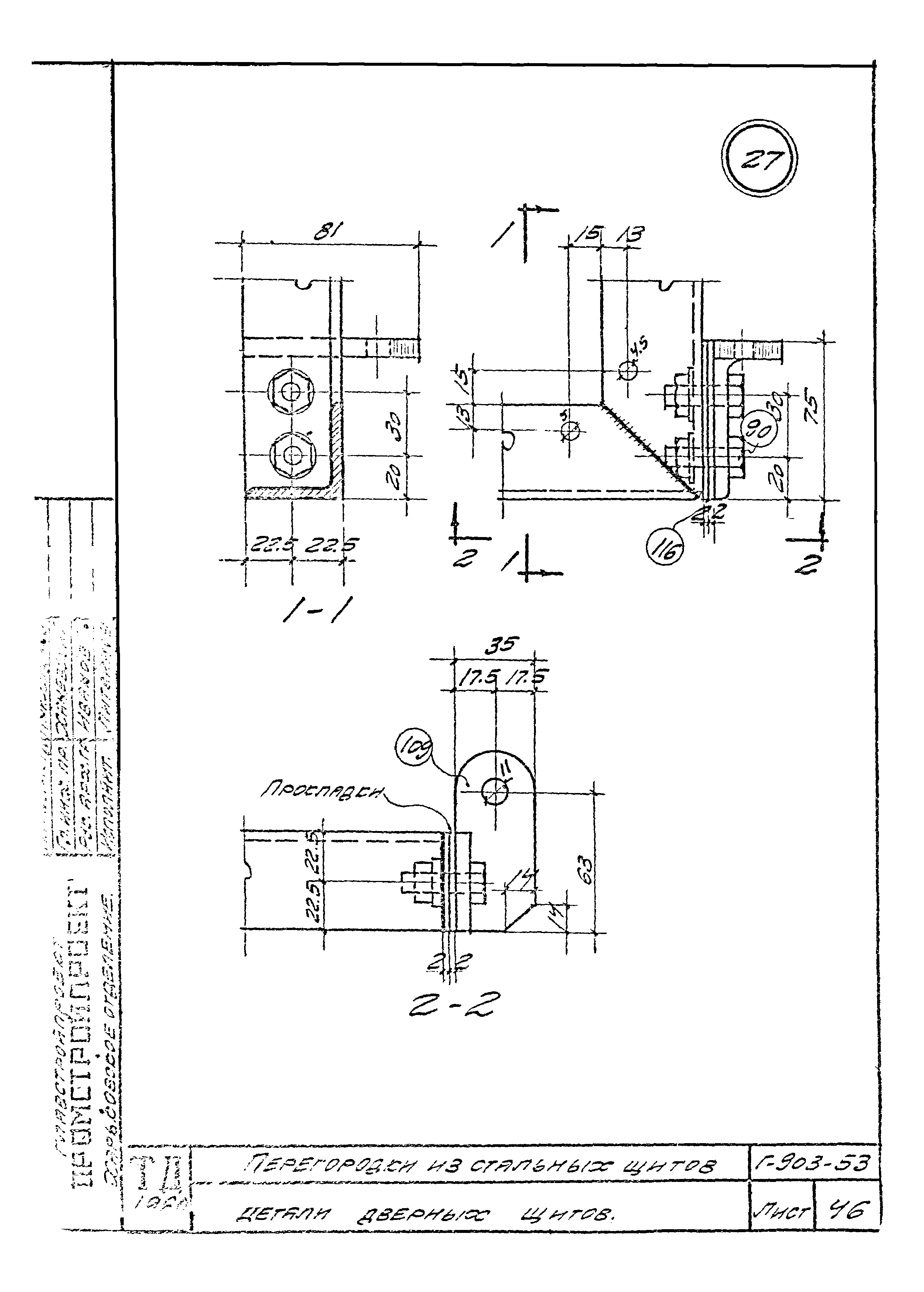
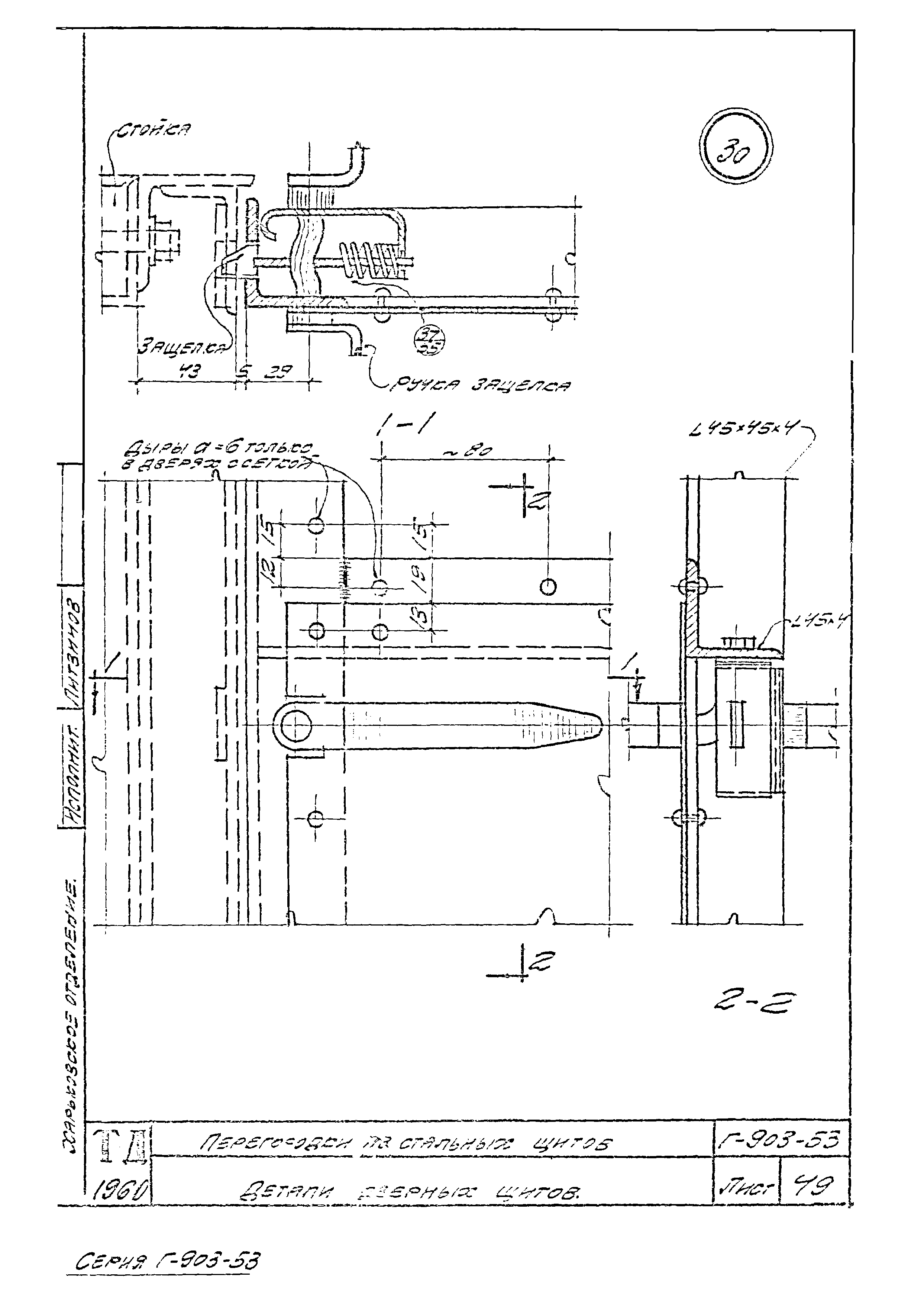
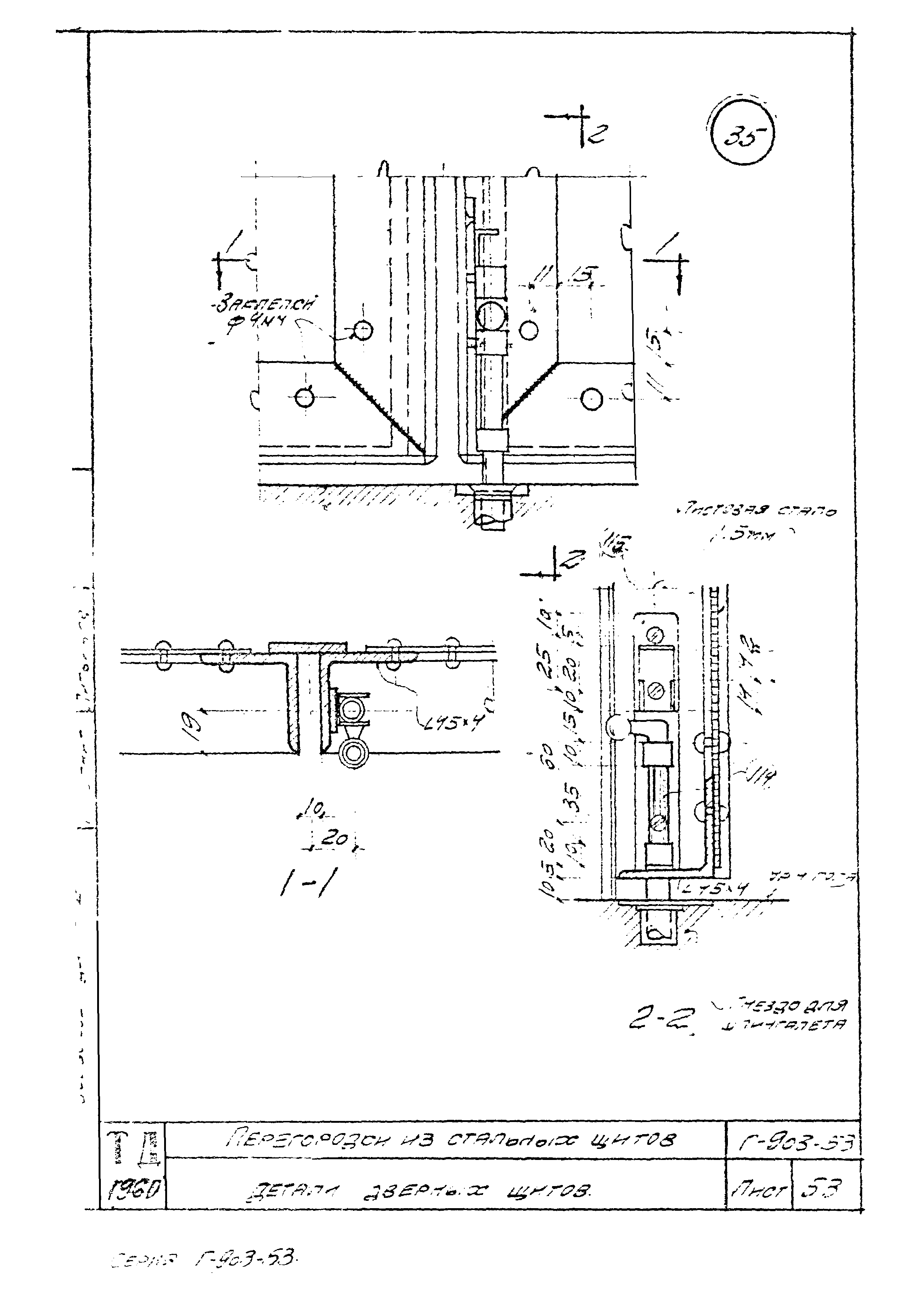
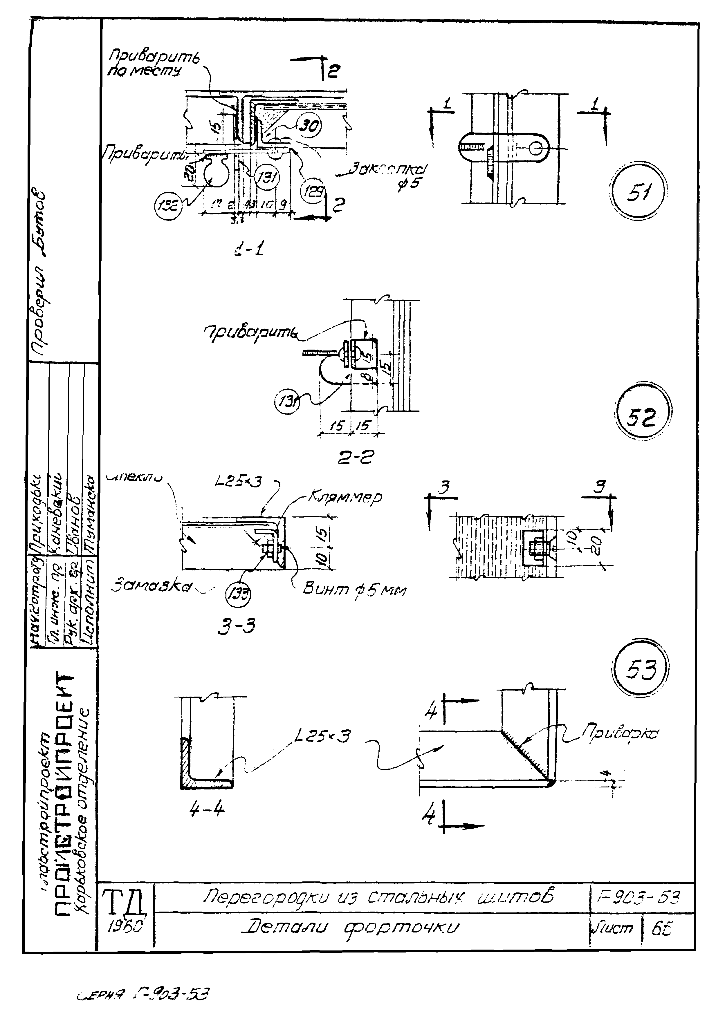
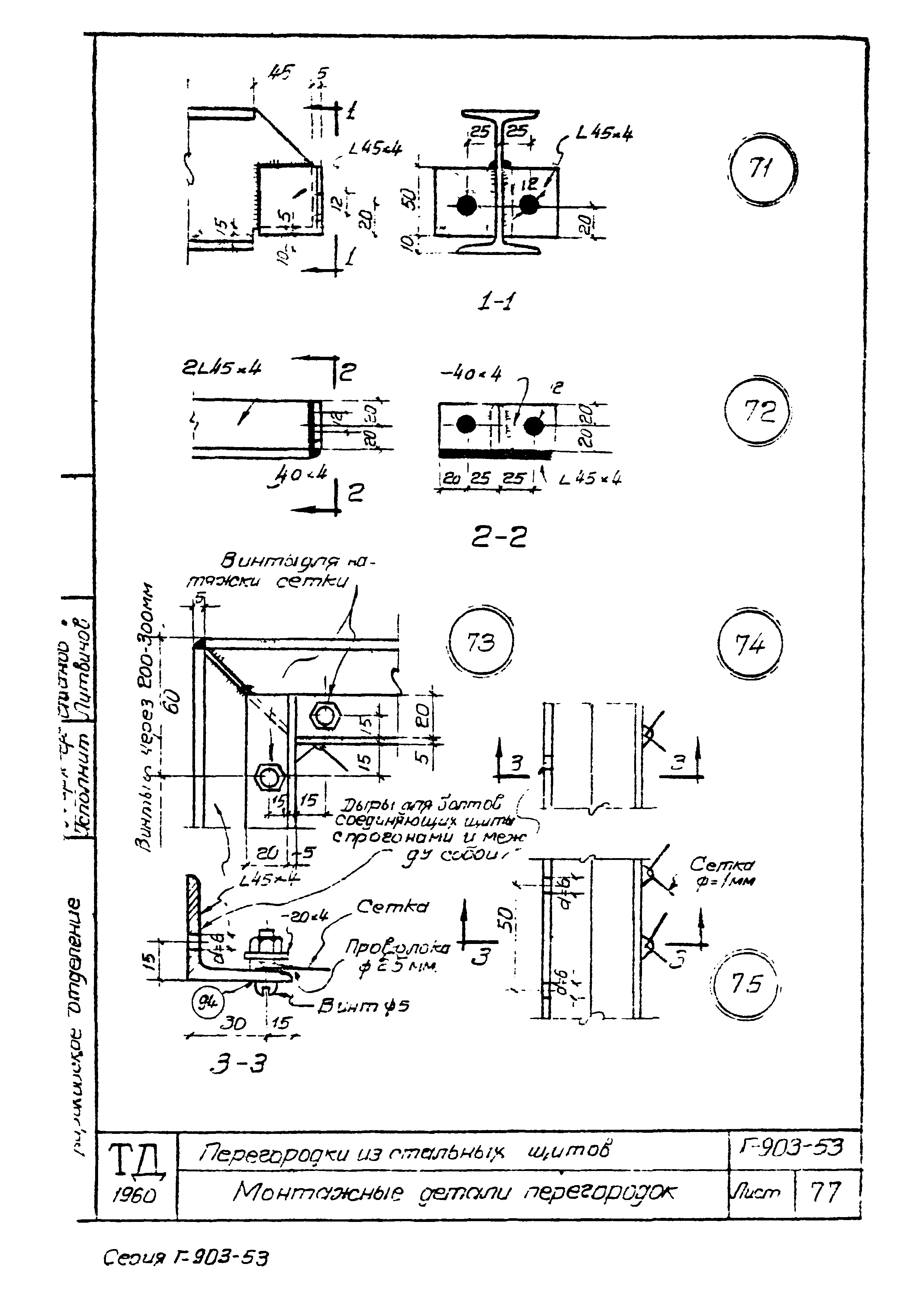
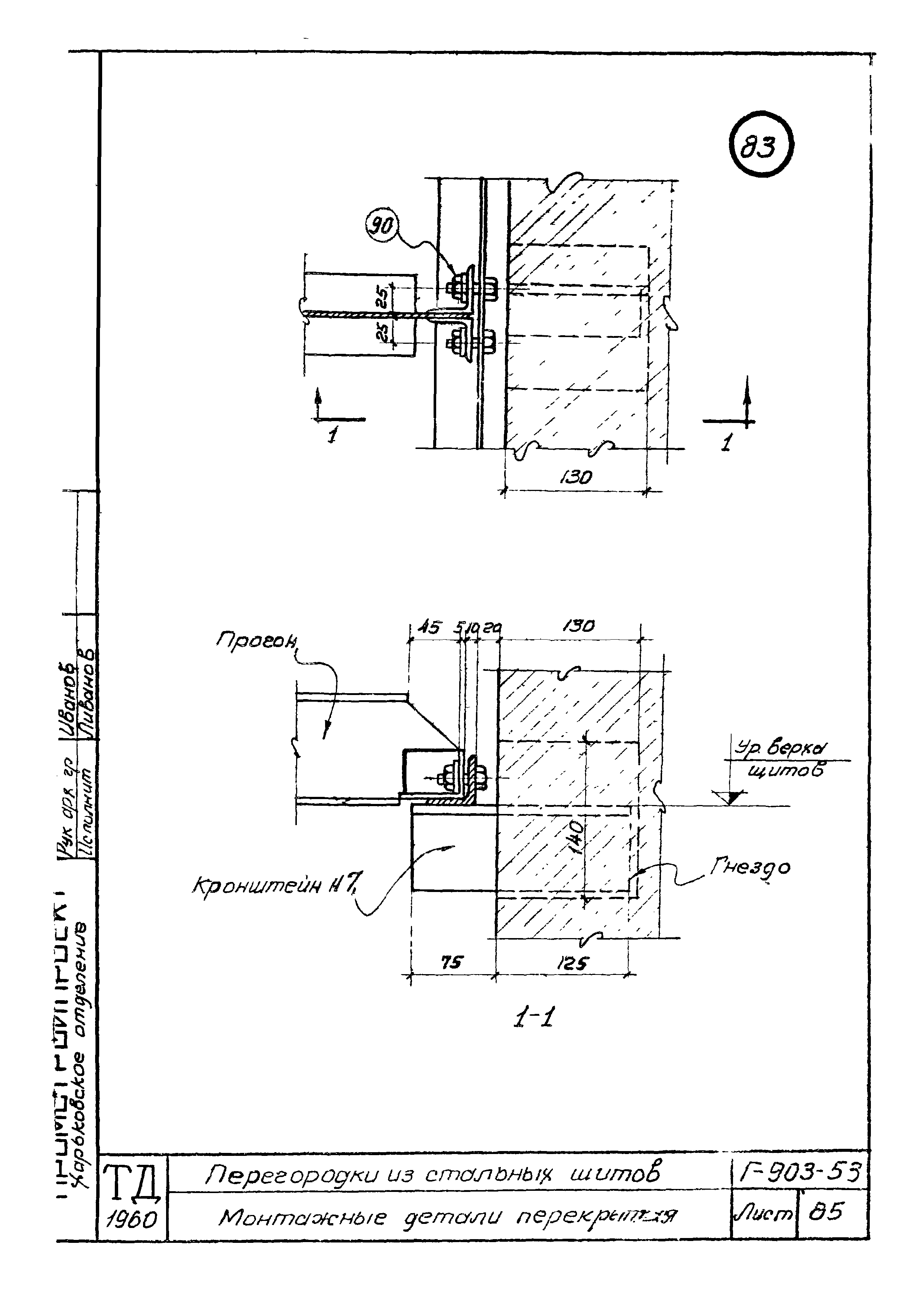
| Оглавление: | Щит с остеклением Щит с остеклением для примыкания к стойкам Щит с остеклением Щит с остеклением для однопольной двери Щит с остеклением для двупольной двери Полотно однопольной двери с остеклением Полотно двупольной двери с остеклением Щит с раздаточным окном и остеклением Щит с сеткой Щит с сеткой для примыкания к стойкам Щит с сеткой Щит с сеткой для однопольной двери Щит с сеткой для двупольной двери Полотно однопольной двери с сеткой Полотно двупольной двери с сеткой Щит с раздаточным окном и сеткой Щит ПП Щиты перекрытия Стойка несущая Стойка вкладыш Стойка несущая Сборочные элементы перекрытия. Главные прогоны Сборочные элементы перекрытия. Второстепенные прогоны Сборочные элементы перекрытия. Балки из уголков Сборочные элементы перекрытия. Кронштейны и обвязочные уголки Сборочные элементы перекрытия. Обвязочные уголки и кронштейны Сборочные элементы перегородок. Накладки Детали щитов с остеклением Детали щитов с остеклением. Крепление кляммер Детали щитов перегородок Детали дверных щитов Детали дверной ручки-защелки Детали дверных щитов Детали навески дверей Детали раздаточного окна Форточка Детали форточки Детали стоек Монтажные детали перегородок Аксонометрии монтажных деталей перегородок Монтажных детали перекрытия Детали дверных щитов Монтажных детали перекрытия |
| Разработан: | Промстройпроект |
| Утверждён: | 01.01.1965 Главстройпроект Госстроя СССР |










































































































