Скачать ОСТ 26-01-48-82 Сборочные единицы и детали трубопроводов фланцевые соединения с двусторонней заглушкой или кольцом. Конструкция и размеры

Дата актуализации: 01.01.2021

ОСТ 26-01-48-82

Сборочные единицы и детали трубопроводов фланцевые соединения с двусторонней заглушкой или кольцом. Конструкция и размеры

Обозначение: ОСТ 26-01-48-82
Обозначение англ: OST 26-01-48-82
Статус:действует
Название рус.:Сборочные единицы и детали трубопроводов фланцевые соединения с двусторонней заглушкой или кольцом. Конструкция и размеры
Дата добавления в базу:01.09.2013
Дата актуализации:01.01.2021
Дата введения:01.07.1983
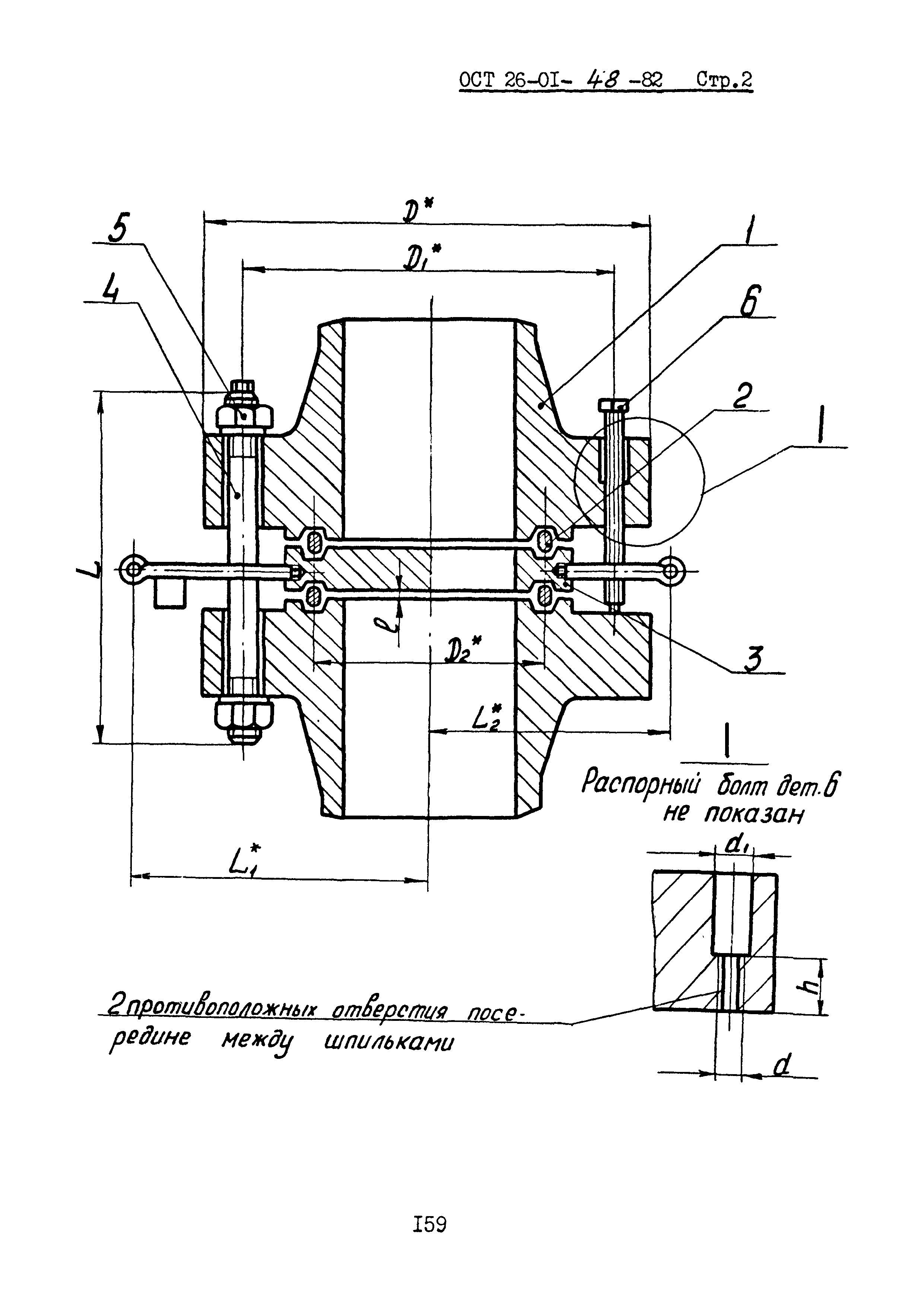
Область применения:Стандарт распространяется на фланцевые соединения с двусторонней заглушкой или кольцом, применяемые в промышленности по производству минеральных удобрений в трубопроводах производства аммиака Ду от 250 до 400 мм с давлением рабочей среды 32 МПа (320 кгс/см2) и температурой от минус 40 до плюс 350 градусов Цельсия.
Разработан: ИркутскНИИхиммаш
Утверждён:24.09.1982 Всесоюзное промышленное объединение (National Industry Union 128)
Список изменений:
Заменяет собой:
  • ОСТ 26-01-48-76
Нормативные ссылки:
ОСТ 26-01-48-82ОСТ 26-01-48-82ОСТ 26-01-48-82ОСТ 26-01-48-82ОСТ 26-01-48-82ОСТ 26-01-48-82ОСТ 26-01-48-82ОСТ 26-01-48-82ОСТ 26-01-48-82ОСТ 26-01-48-82

Текстовое изменение № 1 от 01.01.1988

№ 1

Текстовое изменение № 2 от 01.07.1993

№ 2

Текстовое изменение № 3 от 01.01.2000

№ 3