Скачать Серия 1.431-2 Выпуск 2. Стальные фахверковые колонны и элементы крепления перегородок. Рабочие чертежи (марки КМД)

Дата актуализации: 01.01.2021

Серия 1.431-2

Выпуск 2. Стальные фахверковые колонны и элементы крепления перегородок. Рабочие чертежи (марки КМД)

Обозначение: Серия 1.431-2
Обозначение англ: Series 1.431-2
Статус:заменен
Название рус.:Выпуск 2. Стальные фахверковые колонны и элементы крепления перегородок. Рабочие чертежи (марки КМД)
Дата добавления в базу:01.09.2013
Дата актуализации:01.01.2021
Дата окончания срока действия:01.03.1979
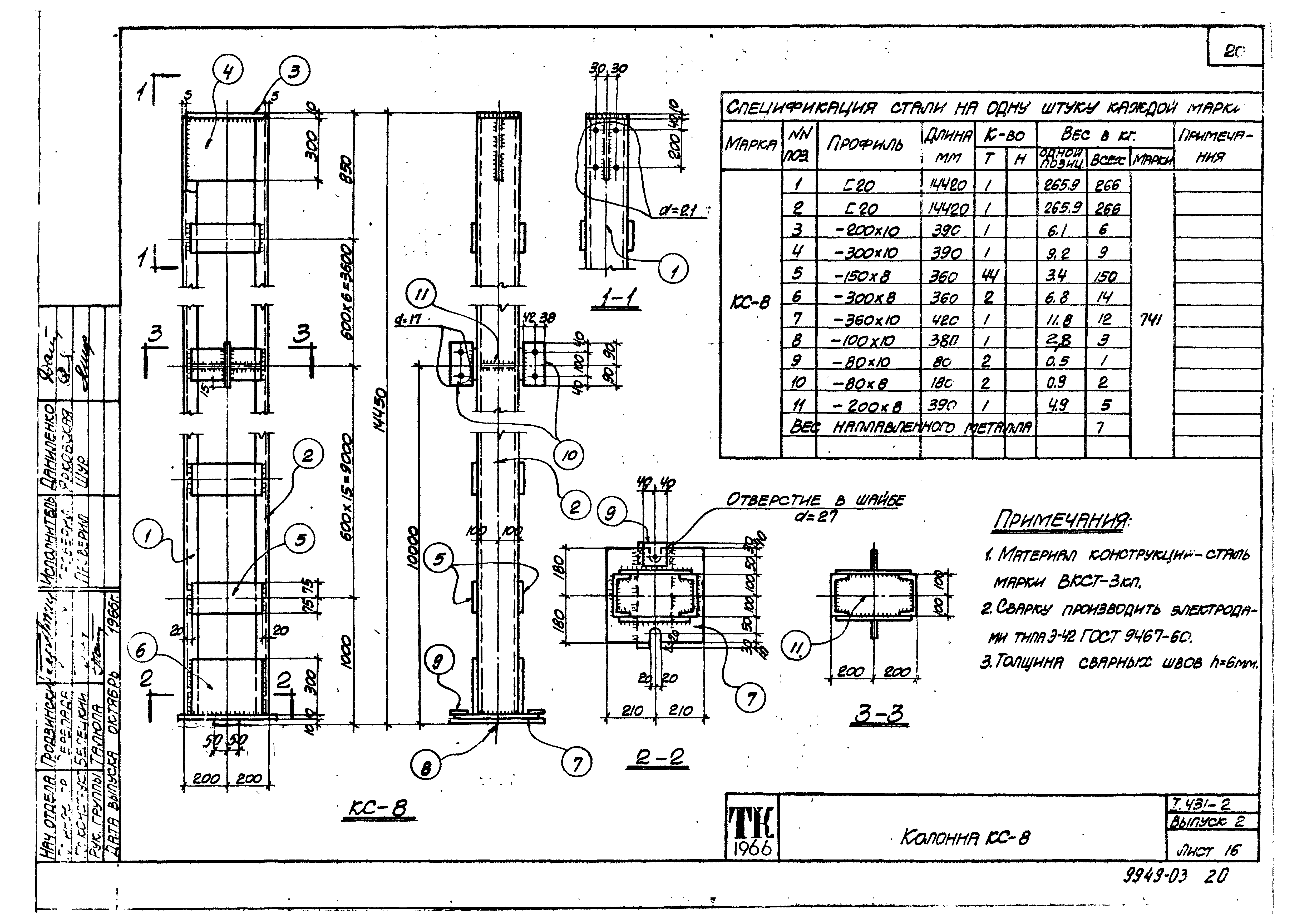
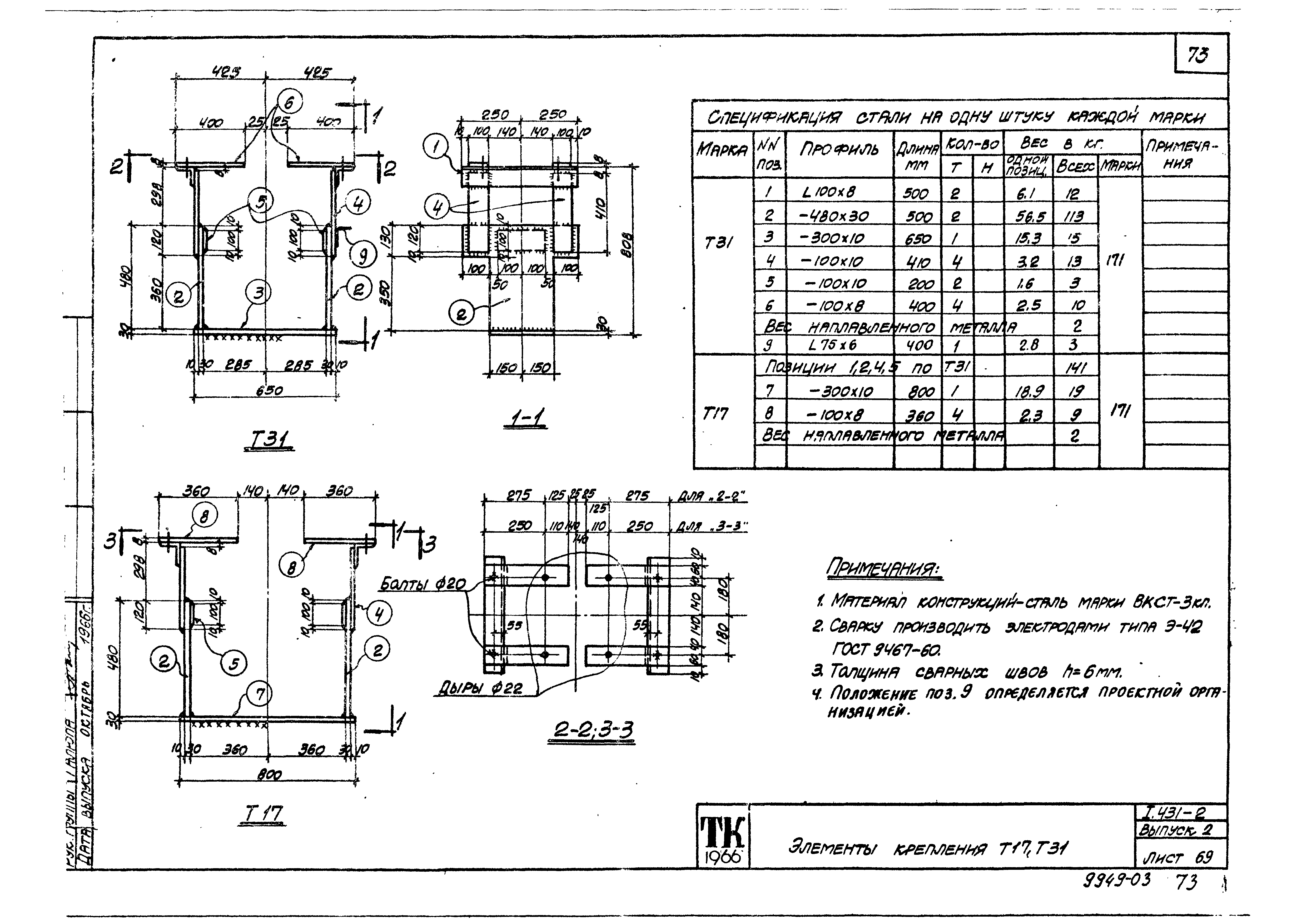
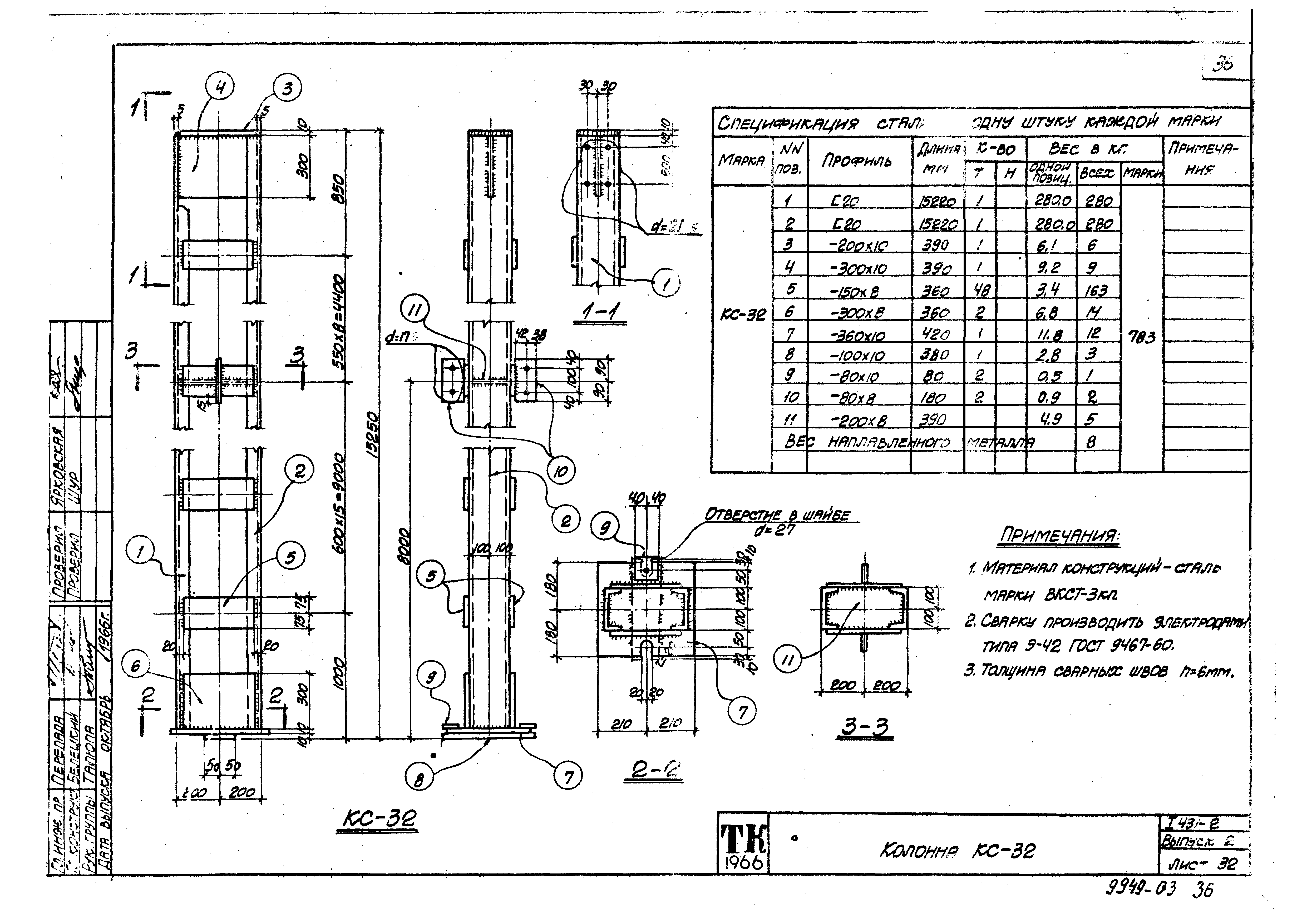
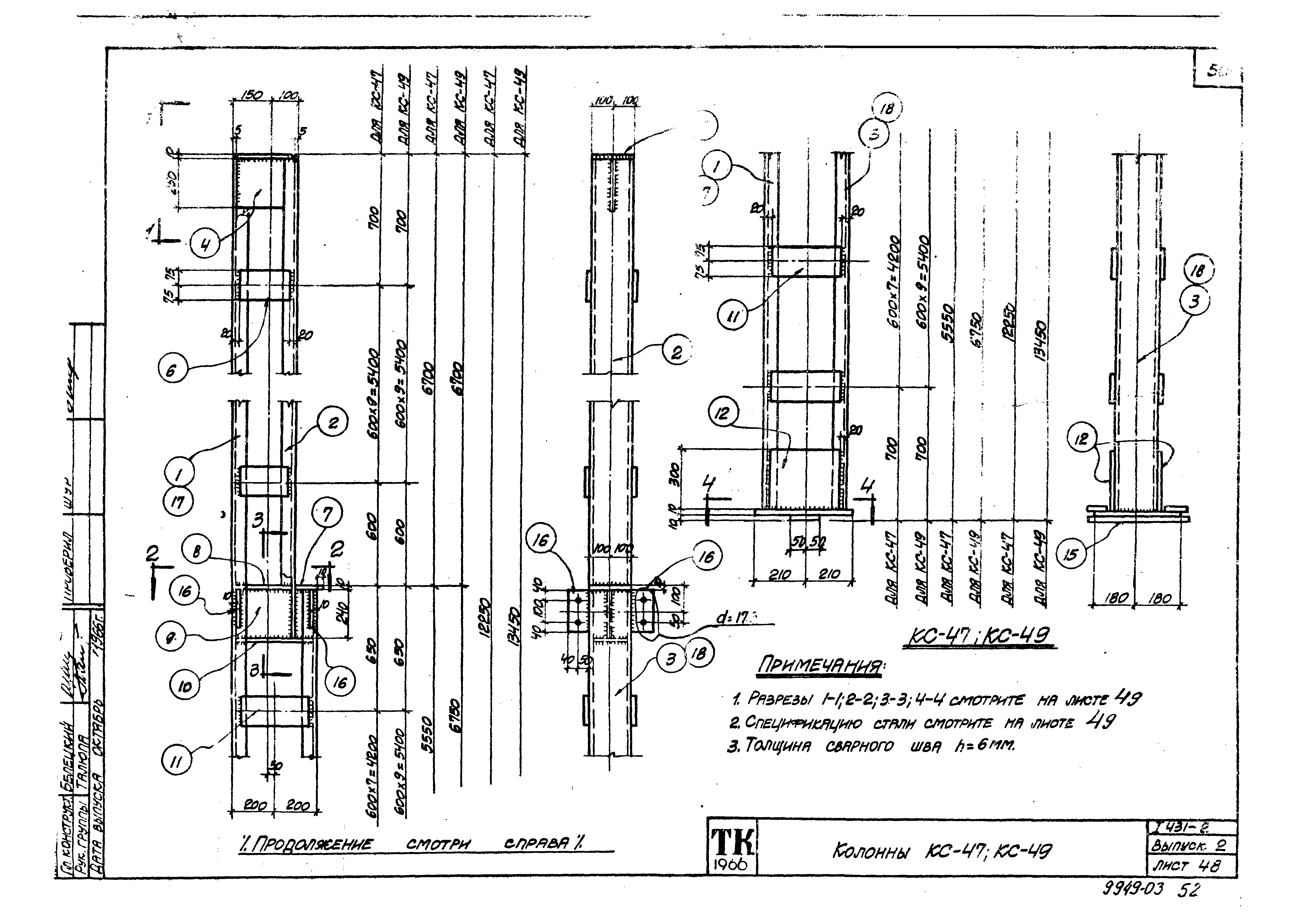
Область применения:В настоящем выпуске даны рабочие чертежи стальных фахверковых колонн и элементов крепления поперечных и продольных перегородок одноэтажных промышленных зданий
Разработан: ЦНИИСК им. В.А. Кучеренко
ЦНИИпромзданий
Харьковский Промстройниипроект
НИИЖБ
Утверждён:26.09.1968 Госстрой СССР (Государственный комитет Совета Министров СССР по делам строительства) (USSR Gosstroy 86)
Чем заменён:
Нормативные ссылки:
Серия 1.431-2Серия 1.431-2Серия 1.431-2Серия 1.431-2Серия 1.431-2Серия 1.431-2Серия 1.431-2Серия 1.431-2Серия 1.431-2Серия 1.431-2Серия 1.431-2Серия 1.431-2Серия 1.431-2Серия 1.431-2Серия 1.431-2Серия 1.431-2Серия 1.431-2Серия 1.431-2Серия 1.431-2Серия 1.431-2Серия 1.431-2Серия 1.431-2Серия 1.431-2Серия 1.431-2Серия 1.431-2Серия 1.431-2Серия 1.431-2Серия 1.431-2Серия 1.431-2Серия 1.431-2Серия 1.431-2Серия 1.431-2Серия 1.431-2Серия 1.431-2Серия 1.431-2Серия 1.431-2Серия 1.431-2Серия 1.431-2Серия 1.431-2Серия 1.431-2Серия 1.431-2Серия 1.431-2Серия 1.431-2Серия 1.431-2Серия 1.431-2Серия 1.431-2Серия 1.431-2Серия 1.431-2Серия 1.431-2Серия 1.431-2Серия 1.431-2Серия 1.431-2Серия 1.431-2Серия 1.431-2Серия 1.431-2Серия 1.431-2Серия 1.431-2Серия 1.431-2Серия 1.431-2Серия 1.431-2Серия 1.431-2Серия 1.431-2Серия 1.431-2Серия 1.431-2Серия 1.431-2Серия 1.431-2Серия 1.431-2Серия 1.431-2Серия 1.431-2Серия 1.431-2Серия 1.431-2Серия 1.431-2Серия 1.431-2Серия 1.431-2Серия 1.431-2Серия 1.431-2Серия 1.431-2Серия 1.431-2Серия 1.431-2Серия 1.431-2