Скачать НД 2-030101-021 Руководство по техническому наблюдению за ремонтом морских судовДата актуализации: 01.01.2021
|
| Обозначение: | НД 2-030101-021 |
| Обозначение англ: | ND 2-030101-021 |
| Статус: | заменен |
| Название рус.: | Руководство по техническому наблюдению за ремонтом морских судов |
| Дата добавления в базу: | 01.09.2013 |
| Дата актуализации: | 01.01.2021 |
| Дата введения: | 01.07.2016 |
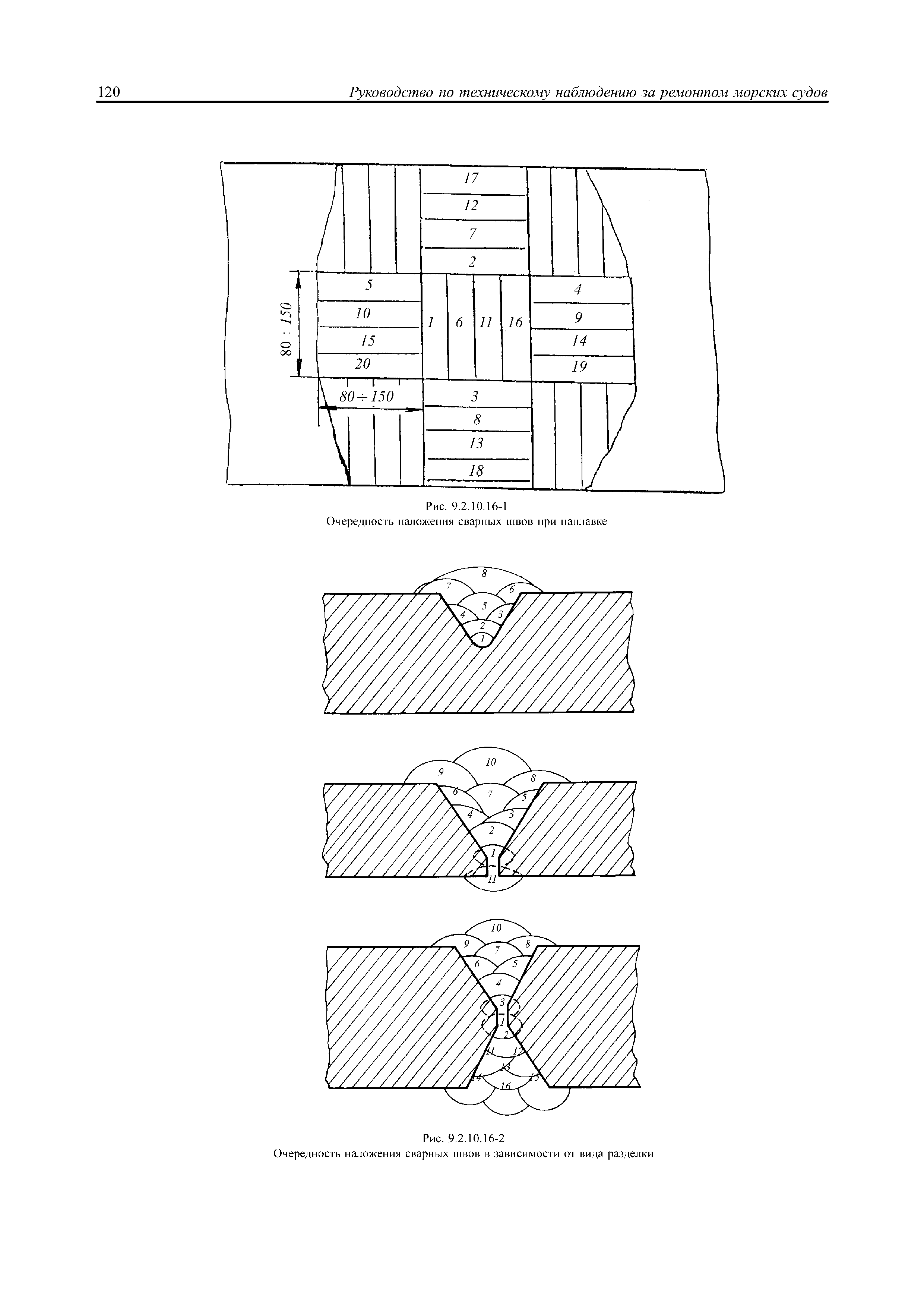
| Область применения: | Руководство применяется Российским морским регистром судоходства при осуществлении технического наблюдения за судами в эксплуатации, находящимися в ремонте или переоборудовании. |
| Оглавление: | Часть 1. Организационные положения Часть 2. Корпус Часть 3. Техническое наблюдение за ремонтом люковых закрытий грузовых трюмов Часть 4. Техническое наблюдение за ремонтом рулевых устройств Часть 5. Техническое наблюдение за ремонтом грузоподъемных устройств Часть 6. Техническое наблюдение за ремонтом элементов механических установок и систем (дизелей, редукторов, компрессоров, насосов, рулевых приводов, сепараторов, вентиляторов) Часть 7. Техническое наблюдение за ремонтом котлов, теплообменных аппаратов и сосудов под давлением Часть 8. Техническое наблюдение за ремонтом дейдвудных устройств и валопроводов Часть 9. Техническое наблюдение за ремонтом судовых гребных винтов Часть 10. Техническое наблюдение за ремонтом холодильных установок Часть 11. Техническое наблюдение за ремонтом трубопроводов Часть 12. Техническое наблюдение за ремонтом электрического оборудования Часть 13. Техническое наблюдение за ремонтом оборования автоматизации Часть 14. Техническое наблюдение за ремонтом спасательных средств Часть 15. Техническое наблюдение за ремонтом многооборотных средств крепления грузов (МСК) Часть 16. Техническое наблюдение за ремонтом радио- и навигационного оборудования Часть 17. Техническое наблюдение за ремонтом оборудования по предотвращению загрязнения с судов и систем Часть 18. Техническое наблюдение за ремонтом объектов противопожарной защиты |
| Разработан: | Российский морской регистр судоходства |
| Утверждён: | 15.02.2005 Российский морской регистр судоходства |
| Издан: | Российский морской регистр судоходства (2005 г. ) |
| Нормативные ссылки: |








































































































































































