Скачать Рекомендации по проектированию измерительно-вычислительных комплексов с использованием мини-ЭВМ для управления системами отопления зданий

Дата актуализации: 01.01.2021

Рекомендации по проектированию измерительно-вычислительных комплексов с использованием мини-ЭВМ для управления системами отопления зданий

Статус:не действует
Название рус.:Рекомендации по проектированию измерительно-вычислительных комплексов с использованием мини-ЭВМ для управления системами отопления зданий
Дата добавления в базу:01.09.2013
Дата актуализации:01.01.2021
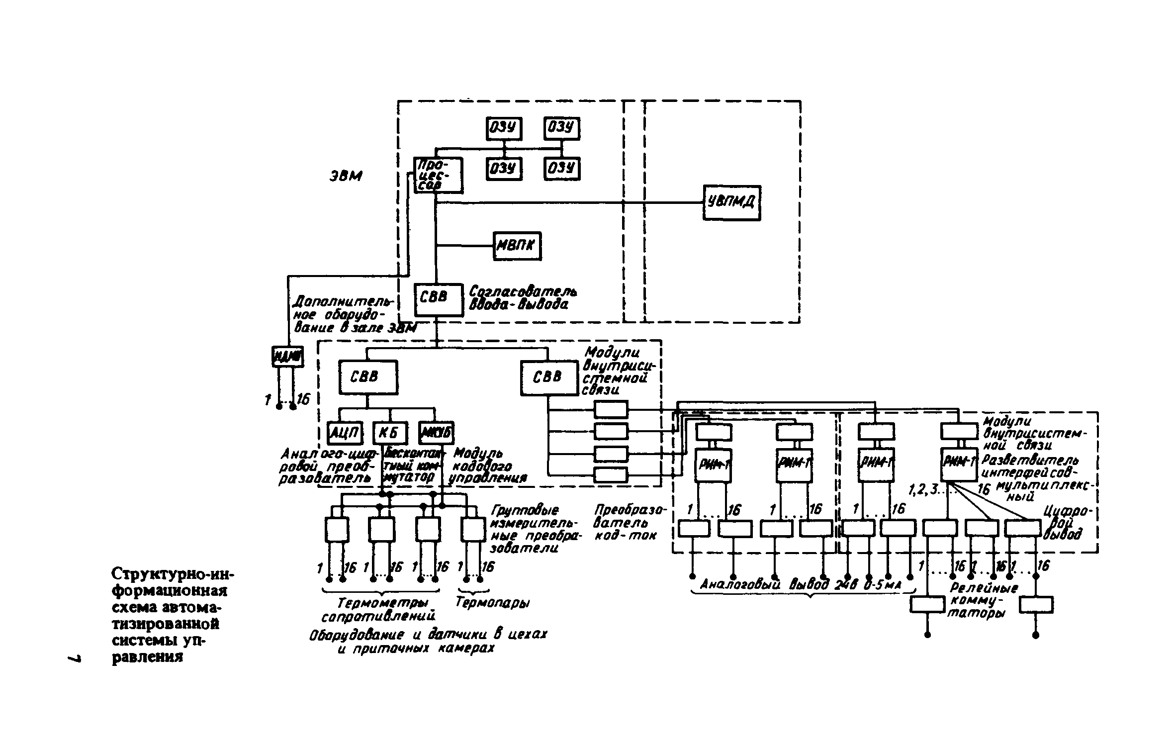
Область применения:Рекомендации предназначены для проектирования и реализации автоматизированной системы управления тепловым режимом производственных зданий
Оглавление:1. Общие положения
2. Определение задачи автоматизированной системы управления тепловым режимом производственного здания
3. Особенности управления тепловым режимом производственного здания
4. Разработка математической модели формирования теплового режима в производственном здании
5. Организация связи оператора с автоматизированной системой управления тепловым режимом производственного здания
6. Создание программного обеспечения
7. Разработка системы связи ЭВМ с датчиками и исполнительными устройствами
8. Внедрение автоматизированной системы управления тепловым режимом производственного здания
Разработан: НИИСФ Госстроя СССР
Издан: Стройиздат (1985 г. )
Нормативные ссылки: