Скачать ТУ 26-02-1102-89 Аппараты теплообменные кожухотрубчатые повышенной тепловой эффективности с расширителем на корпусе

Дата актуализации: 01.01.2021

ТУ 26-02-1102-89

Аппараты теплообменные кожухотрубчатые повышенной тепловой эффективности с расширителем на корпусе

Обозначение: ТУ 26-02-1102-89
Обозначение англ: TU 26-02-1102-89
Статус:введен впервые
Название рус.:Аппараты теплообменные кожухотрубчатые повышенной тепловой эффективности с расширителем на корпусе
Дата добавления в базу:01.09.2013
Дата актуализации:01.01.2021
Дата введения:01.01.1990
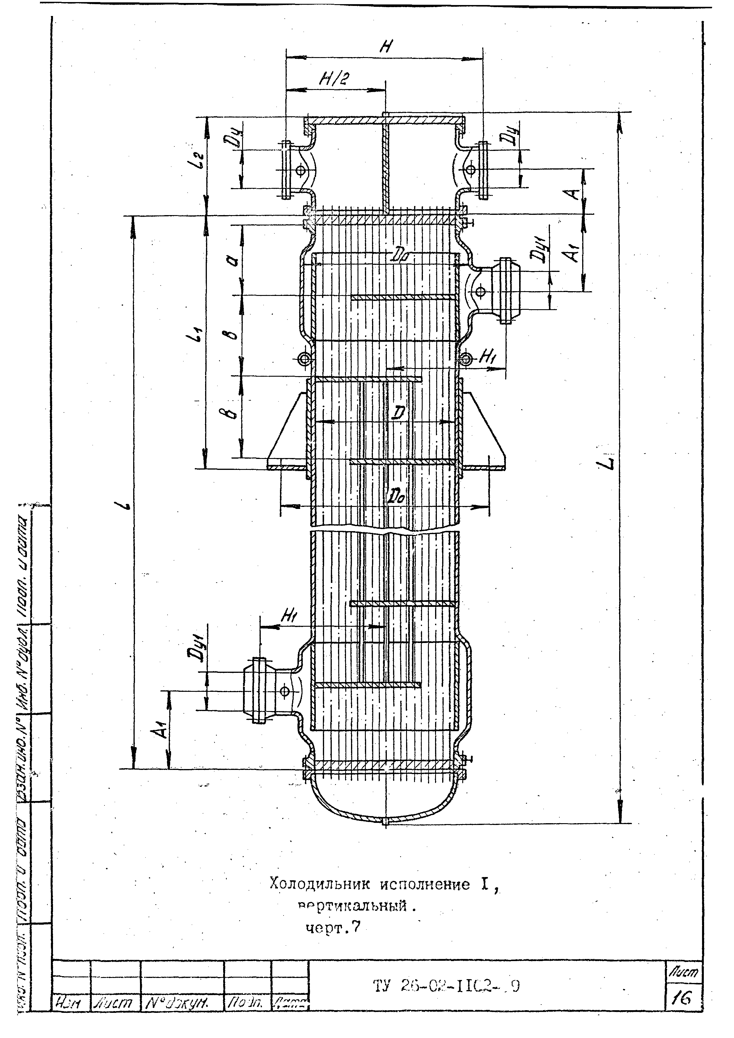
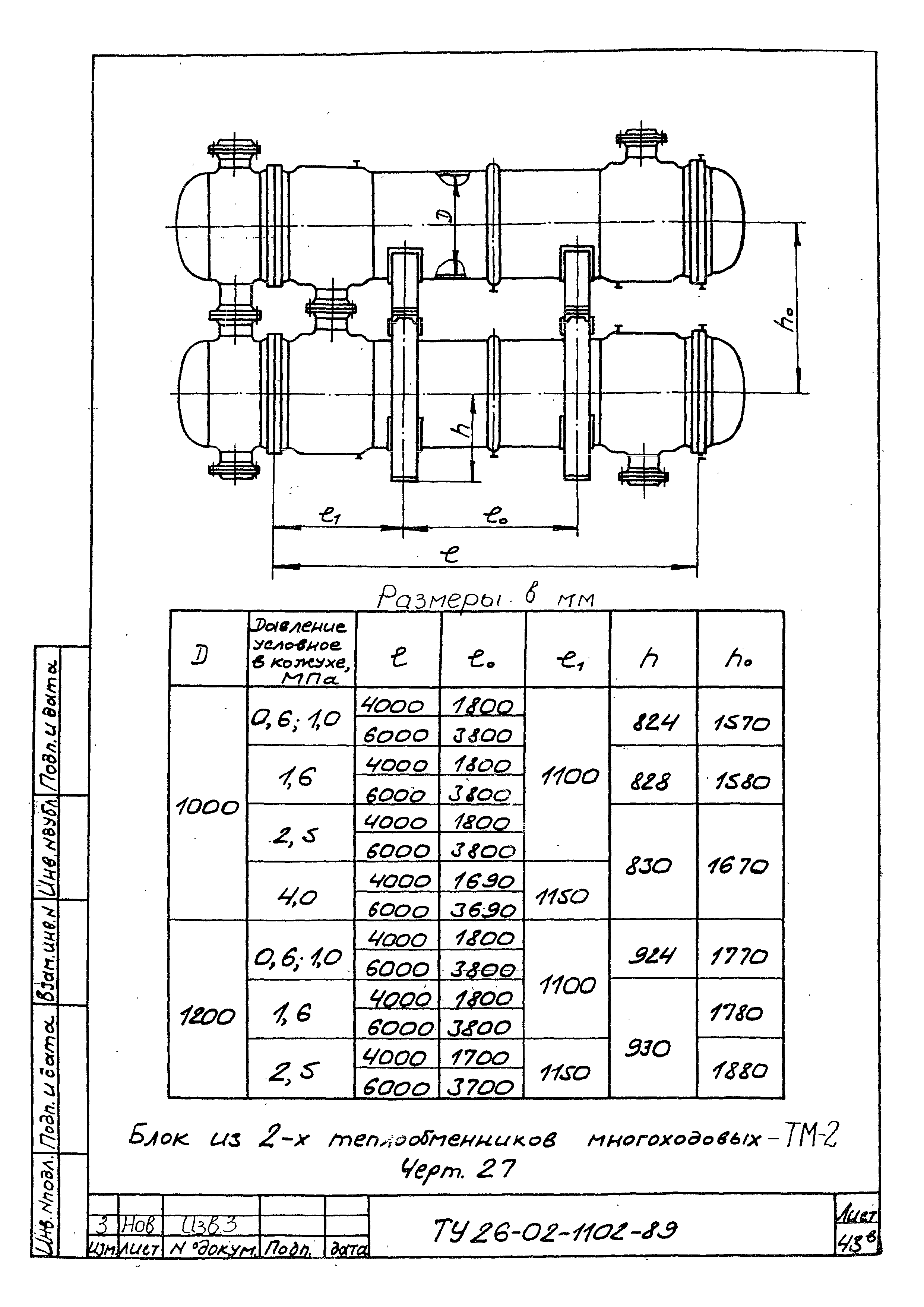
Область применения:Технические условия распространяются на аппараты теплообменные кожухотрубчатые с неподвижными трубными решетками и с температурным компенсатором на кожухе повышенной тепловой эффективности с расширителем на корпусе: испарители, теплообменники, холодильники и конденсаторы типа ИН, ИК, ТН, ТК, ХН, ХК, КН, КХ и их модификации, изготавливаемые для нужд народного хозяйства и для поставки на экспорт.
Оглавление:1. Технические требования
   1.1 Введение
   1.2 Основные параметры и размеры
   1.3 Характеристика
   1.4 Комплектность
   1.5 Маркировка
   1.6 Консервация
   1.7 Упаковка
2. Требования безопасности
3. Правила приемки
4. Методы испытаний
5. Транспортирование и хранение
6. Указания по эксплуатации
7. Гарантии
Приложение 1. Диаграмма разбивки аппаратов по группам в зависимости от рабочих параметров
Приложение 2. Характер рабочей среды
Приложение 3. Предельное расчетное давление для всех видов теплообменных аппаратов
Приложение 4. Объем трубного и межтрубного пространств теплообменного оборудования
Приложение 5. Перечень документов, на которые даны ссылки в тексте технических условий
Приложение 6. Перечень стандартных и нестандартных систем измерения (контроля0 и испытания оборудования
Приложение 7. Бланк заказа
Приложение 8. Перечень оборудования
Разработан: ВНИИнефтемаш
Утверждён:21.08.1989 ВНИИНЕФТЕМАШ (VNIINEFTEMASH )
Принят:31.07.1989 ХИММАШЭКСПОРТ
06.03.1989 Министерство по производству минудобрений
19.04.1989 Северодонецкий ПО Азот
Список изменений:
Нормативные ссылки:
ТУ 26-02-1102-89ТУ 26-02-1102-89ТУ 26-02-1102-89ТУ 26-02-1102-89ТУ 26-02-1102-89ТУ 26-02-1102-89ТУ 26-02-1102-89ТУ 26-02-1102-89ТУ 26-02-1102-89ТУ 26-02-1102-89ТУ 26-02-1102-89ТУ 26-02-1102-89ТУ 26-02-1102-89ТУ 26-02-1102-89ТУ 26-02-1102-89ТУ 26-02-1102-89ТУ 26-02-1102-89ТУ 26-02-1102-89ТУ 26-02-1102-89ТУ 26-02-1102-89ТУ 26-02-1102-89ТУ 26-02-1102-89ТУ 26-02-1102-89ТУ 26-02-1102-89ТУ 26-02-1102-89ТУ 26-02-1102-89ТУ 26-02-1102-89ТУ 26-02-1102-89ТУ 26-02-1102-89ТУ 26-02-1102-89ТУ 26-02-1102-89ТУ 26-02-1102-89ТУ 26-02-1102-89ТУ 26-02-1102-89ТУ 26-02-1102-89ТУ 26-02-1102-89ТУ 26-02-1102-89ТУ 26-02-1102-89ТУ 26-02-1102-89ТУ 26-02-1102-89ТУ 26-02-1102-89ТУ 26-02-1102-89ТУ 26-02-1102-89ТУ 26-02-1102-89ТУ 26-02-1102-89ТУ 26-02-1102-89ТУ 26-02-1102-89ТУ 26-02-1102-89ТУ 26-02-1102-89ТУ 26-02-1102-89ТУ 26-02-1102-89ТУ 26-02-1102-89ТУ 26-02-1102-89ТУ 26-02-1102-89ТУ 26-02-1102-89ТУ 26-02-1102-89ТУ 26-02-1102-89ТУ 26-02-1102-89ТУ 26-02-1102-89ТУ 26-02-1102-89ТУ 26-02-1102-89ТУ 26-02-1102-89ТУ 26-02-1102-89ТУ 26-02-1102-89ТУ 26-02-1102-89ТУ 26-02-1102-89ТУ 26-02-1102-89ТУ 26-02-1102-89ТУ 26-02-1102-89ТУ 26-02-1102-89ТУ 26-02-1102-89ТУ 26-02-1102-89ТУ 26-02-1102-89ТУ 26-02-1102-89ТУ 26-02-1102-89ТУ 26-02-1102-89ТУ 26-02-1102-89ТУ 26-02-1102-89ТУ 26-02-1102-89ТУ 26-02-1102-89ТУ 26-02-1102-89ТУ 26-02-1102-89ТУ 26-02-1102-89ТУ 26-02-1102-89ТУ 26-02-1102-89ТУ 26-02-1102-89ТУ 26-02-1102-89ТУ 26-02-1102-89ТУ 26-02-1102-89ТУ 26-02-1102-89ТУ 26-02-1102-89ТУ 26-02-1102-89ТУ 26-02-1102-89ТУ 26-02-1102-89ТУ 26-02-1102-89ТУ 26-02-1102-89ТУ 26-02-1102-89ТУ 26-02-1102-89ТУ 26-02-1102-89ТУ 26-02-1102-89ТУ 26-02-1102-89ТУ 26-02-1102-89ТУ 26-02-1102-89ТУ 26-02-1102-89ТУ 26-02-1102-89ТУ 26-02-1102-89ТУ 26-02-1102-89ТУ 26-02-1102-89ТУ 26-02-1102-89ТУ 26-02-1102-89ТУ 26-02-1102-89ТУ 26-02-1102-89ТУ 26-02-1102-89ТУ 26-02-1102-89ТУ 26-02-1102-89ТУ 26-02-1102-89ТУ 26-02-1102-89ТУ 26-02-1102-89ТУ 26-02-1102-89ТУ 26-02-1102-89

Текстовое изменение № 1 от 14.11.1989

№ 1№ 1№ 1№ 1№ 1№ 1

Текстовое изменение № 2 от 16.05.1990

№ 2№ 2№ 2№ 2№ 2№ 2

Текстовое изменение № 3 от 01.01.1992

№ 3№ 3№ 3№ 3№ 3№ 3№ 3№ 3№ 3№ 3№ 3№ 3№ 3

Текстовое изменение № 4 от 25.11.1992

№ 4№ 4№ 4

Текстовое изменение № 5 от 25.04.1995

№ 5№ 5

Текстовое изменение № 6 от 17.02.1997

№ 6№ 6№ 6№ 6№ 6№ 6

Текстовое изменение № 7 от 11.09.1997

№ 7№ 7

Текстовое изменение № 8 от 20.09.2003

№ 8№ 8№ 8№ 8№ 8