Скачать Руководство по проектированию фундаментов на естественном основании под колонны зданий и сооружений промышленных предприятий

Дата актуализации: 01.01.2021

Руководство по проектированию фундаментов на естественном основании под колонны зданий и сооружений промышленных предприятий

Статус:действует
Название рус.:Руководство по проектированию фундаментов на естественном основании под колонны зданий и сооружений промышленных предприятий
Дата добавления в базу:01.09.2013
Дата актуализации:01.01.2021
Область применения:Руководство предназначается в качестве вспомогательного материала для проектирования фундаментов под колонны промышленных зданий и сооружений на естественных основаниях.
Оглавление:Предисловие
1. Общие указания
2. Нагрузки, учитываемые в расчетах оснований и конструкций фундаментов
3. Расчет оснований и определение размеров подошвы фундаментов
4. Расчет фундаментов
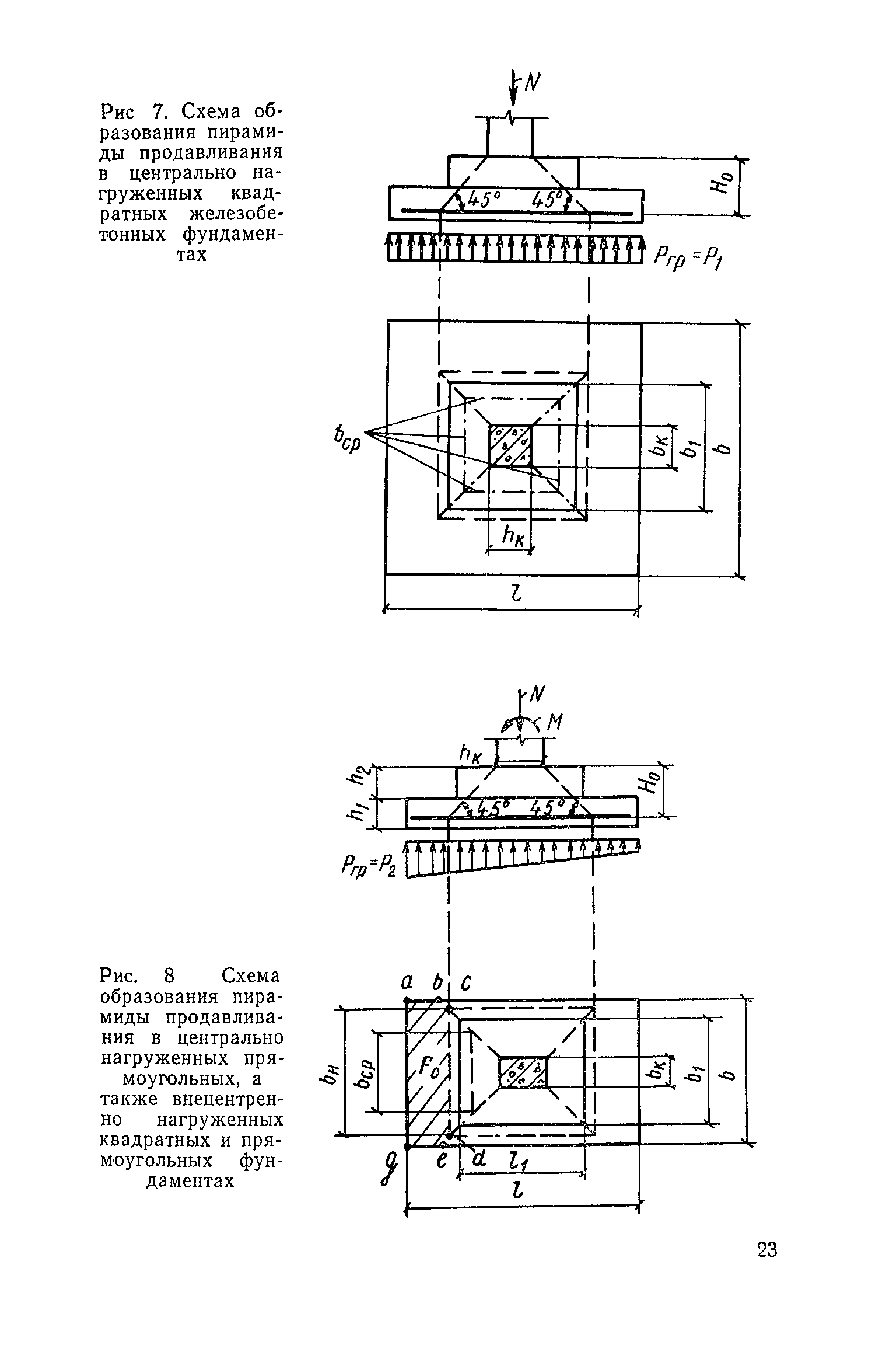
   Расчет на продавливание при монолитном сопряжении колонны или подколонника с плитной частью фундамента
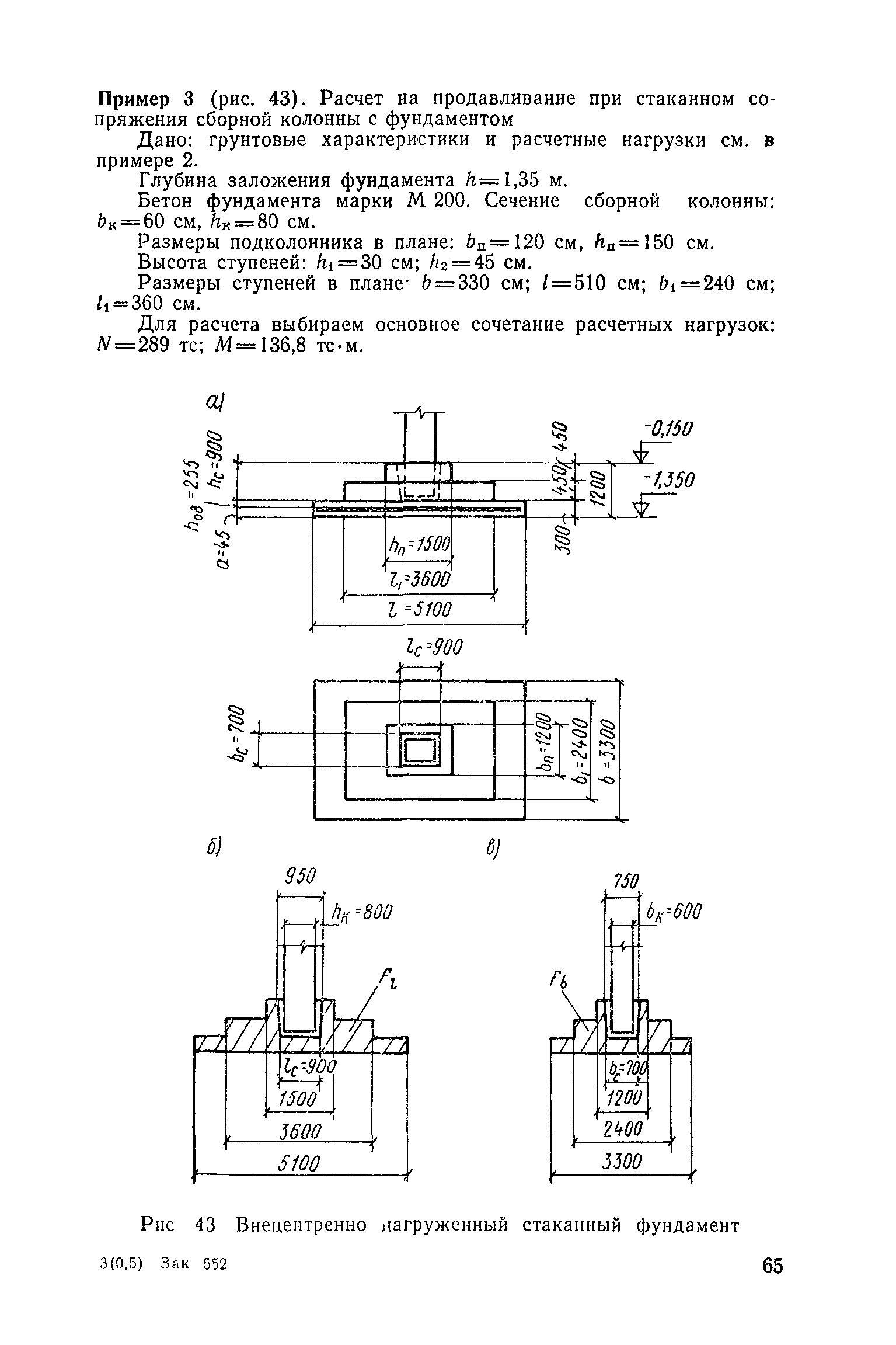
   Расчет на продавливание при стаканном сопряжении сборной колонны с фундаментом
   Определение сечения арматуры подошвы фундамента
   Расчет подколонника и его стаканной части
5. Конструктивные указания
   Сборные фундаменты
   Фундаменты под стальные колонны
Приложение 1. Примеры расчета
Приложение 2. Графики для расчета оснований и фундаментов
Приложение 3. Основные буквенные обозначения
Разработан: ГПИ Ленинградский Промстройпроект
Издан: Стройиздат (1978 г. )
Нормативные ссылки: