Скачать Рекомендации по определению геометрических параметров кубов и поверке форм для контрольных образцов бетонаДата актуализации: 01.01.2021 |
| Статус: | справочные материалы, мп, тпр |
| Название рус.: | Рекомендации по определению геометрических параметров кубов и поверке форм для контрольных образцов бетона |
| Дата добавления в базу: | 01.09.2013 |
| Дата актуализации: | 01.01.2021 |
| Область применения: | Документ содержит основные положения по определению отклонений от плоскостности и перпендикулярности граней контрольных кубов бетона и поверке форм, в которых изготавливаются контрольные образцы бетона. |
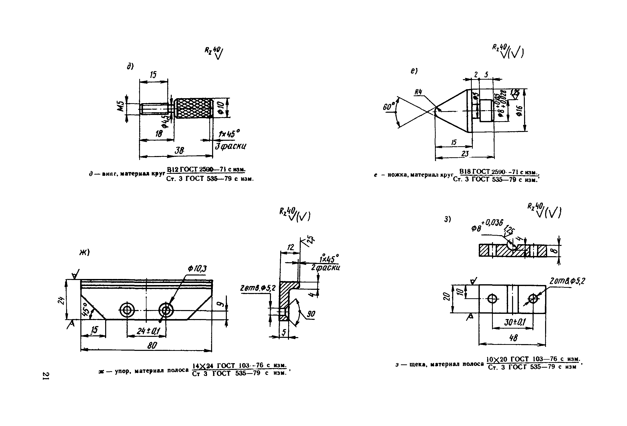
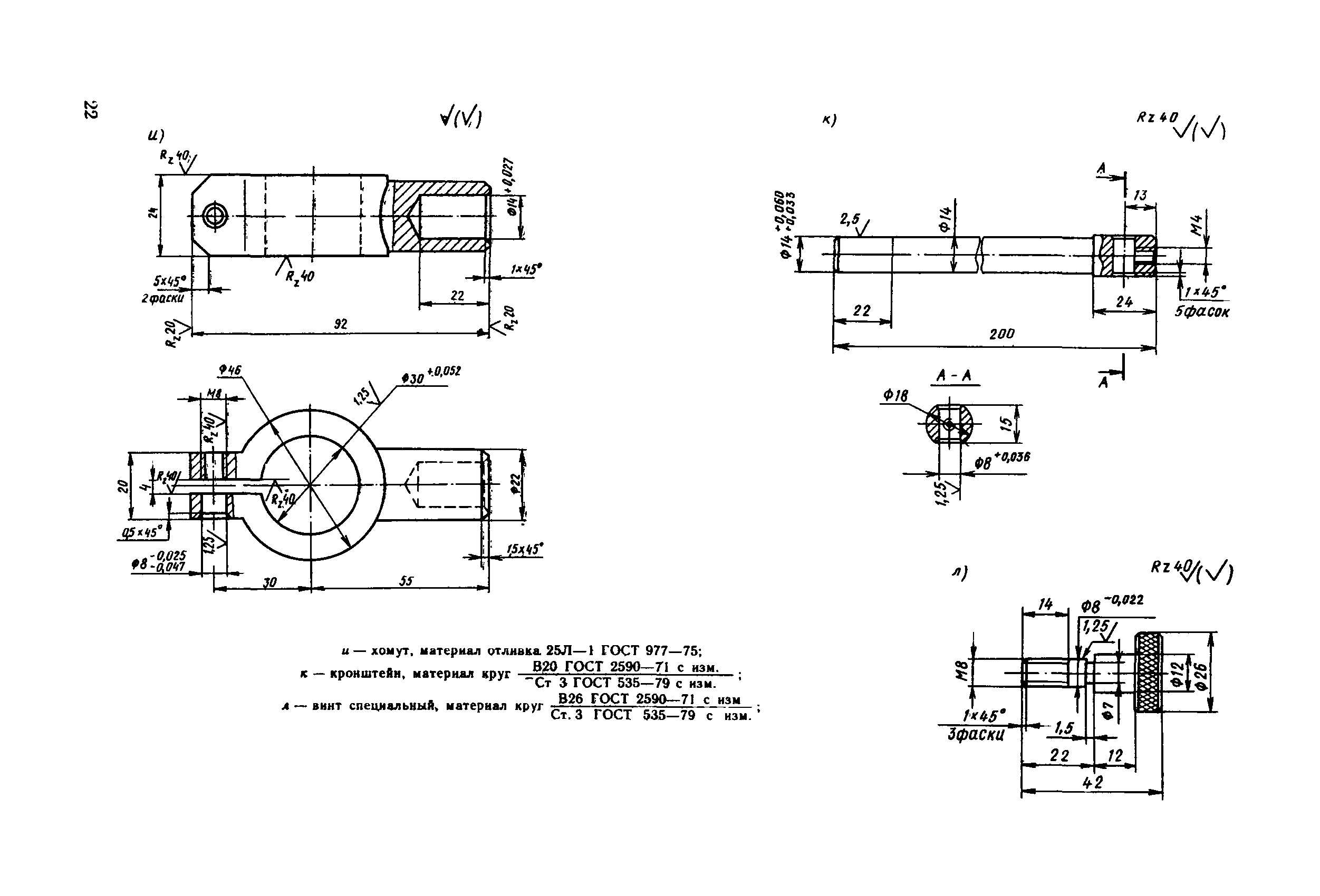
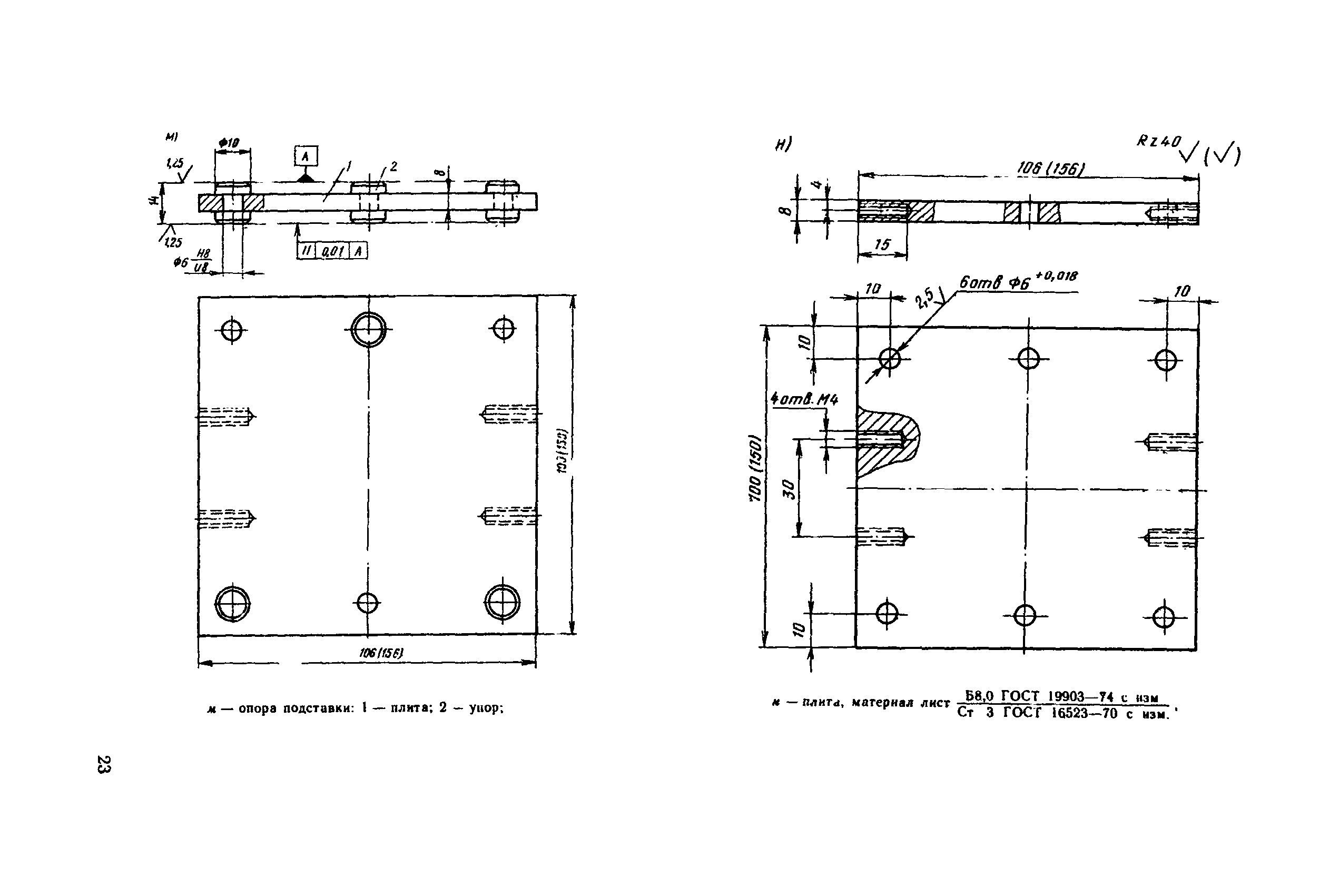
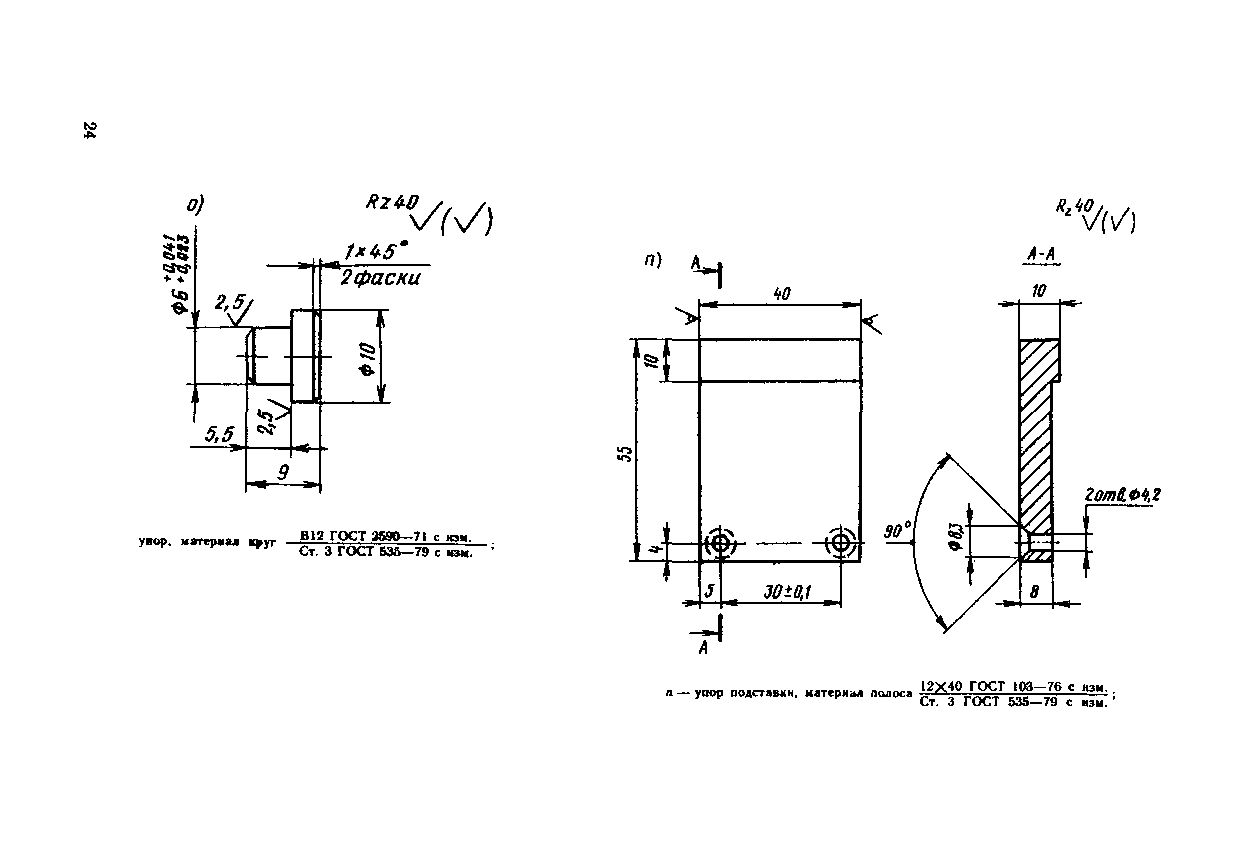
| Оглавление: | 1. Общие положения 2. Определение геометрических параметров опорных граней куба с помощью стационарного прибора 3. Определение отклонения от плоскостности опорных граней куба с помощью переносного прибора 4. Определение отклонения от перпендикулярности граней куба с помощью переносного прибора 5. Определение геометрических параметров форм для контрольных кубов бетона 6. Ведомственная поверка форм для контрольных образцов бетона Приложение 1. Определение отклонений от плоскостности и перпендикулярности граней цилиндров и призм Приложение 2. Примеры обработки результатов измерений кубов с помощью стационарного прибора Приложение 3. Примеры обработки результатов измерений кубов с помощью переносных приборов Приложение 4. Пример обработки результатов измерений формы для кубов Приложение 5. Стационарный прибор для измерения геометрических параметров опорных граней кубов Приложение 6. Переносный прибор для определения отклонения от плоскостности опорных граней куба (НПЛ-4) Приложение 7. Переносный прибор для определения отклонения от перпендикулярности опорных граней куба (НПЛ-2) Приложение 8. Переносный прибор для определения отклонений от плоскостности граней формы (НПЛ-1) Приложение 9. Переносный прибор для определения отклонения от перпендикулярности граней формы (НПР-1) |
| Разработан: | НИИЖБ |
| Утверждён: | НИИЖБ Госстроя СССР (NIIZhB, USSR Gosstroy ) |
| Издан: | Стройиздат (1987 г. ) |
| Нормативные ссылки: |
|




































