Скачать ГОСТ Р 54117-2010 Глобальные навигационные спутниковые системы. Морские дифференциальные подсистемы. Навигационная аппаратура потребителей. Технические характеристики, методы и требуемые результаты испытанийДата актуализации: 01.01.2021
|
| Обозначение: | ГОСТ Р 54117-2010 |
| Обозначение англ: | GOST R 54117-2010 |
| Статус: | введен впервые |
| Название рус.: | Глобальные навигационные спутниковые системы. Морские дифференциальные подсистемы. Навигационная аппаратура потребителей. Технические характеристики, методы и требуемые результаты испытаний |
| Название англ.: | The Global Navigation Satellite Systems. Maritime differential subsystems. Navigation receiver equipment. Performance standards, methods of testing and required test results |
| Дата добавления в базу: | 01.09.2013 |
| Дата актуализации: | 01.01.2021 |
| Дата введения: | 01.12.2011 |
| Область применения: | Стандарт распространяется на навигационную аппаратуру потребителей, предназначенную для приема сигналов дифференциальных поправок от морских дифференциальных подсистем глобальных навигационных спутниковых систем ГЛОНАСС и GPS, используемой на стадии плавания морских судов и судов внутреннего речного и смешанного («река – море») плавания, которая определена как прибрежные воды, подходы к портам, узкости, где свобода маневрирования ограничена, а также при плавании в океане для судов, скорость которых не превышает 70 узлов. Стандарт устанавливает технические и эксплуатационные требования, методы и требуемые результаты испытаний дифференциальной навигационной аппаратуры потребителей, предназначенной для приема сигналов от морских радиомаяков, обеспечивающих дифференциальную информацию для повышения точности определения координат местоположения с помощью глобальных навигационных спутниковых систем, включая целостность сообщений. Стандарт не распространяется на другие вычислительные возможности, которые могут быть реализованы в навигационной аппаратуре. |
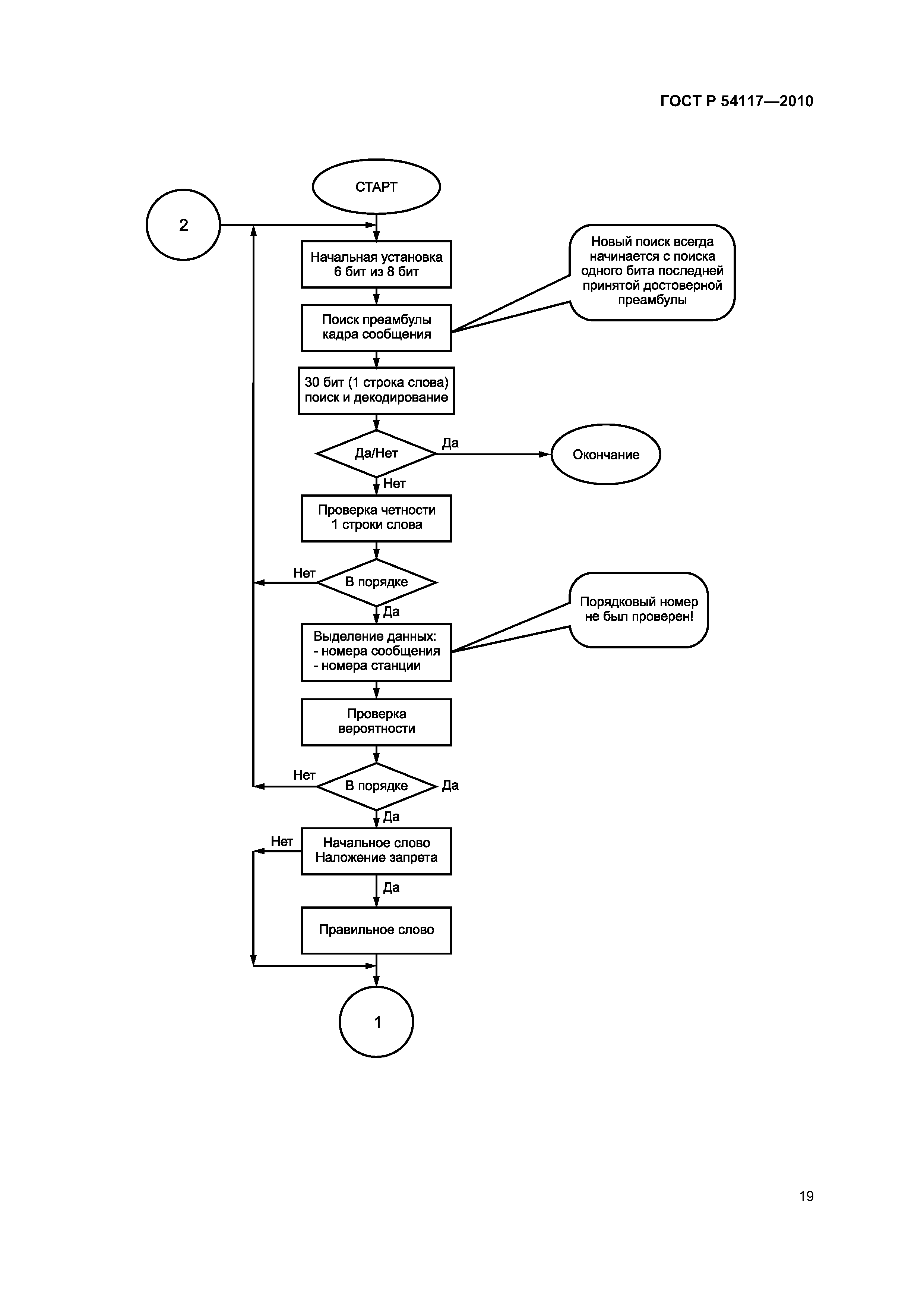
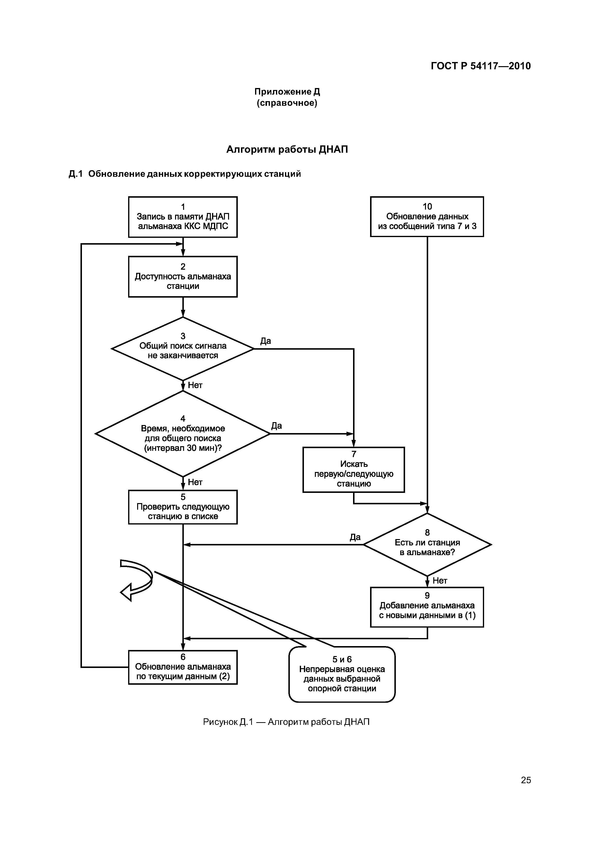
| Оглавление: | 1 Область применения 2 Нормативные ссылки 3 Термины, определения, обозначения и сокращения 4 Технические и эксплуатационные требования 4.1 Общие требования 4.2 Состав оборудования ДНАП ГНСС 4.3 Функциональные требования к ДНАП ГНСС 4.4 Меры защиты 4.5 Целостность 4.6 Интерфейсы 4.7 Требования к ДНАП 4.8 Дисплей и управление 4.9 Установка 5 Технические характеристики ДНАП ГНСС 5.1 Установка несущей частоты 5.2 Отклонение несущей частоты радиосигнала радиомаяка 5.3 Типы сообщений, принимаемых ДНАП ГНСС 5.4 Скорость передачи данных 5.5 Динамический диапазон 5.6 Максимальное отношение числа принимаемых ошибочных битов 5.7 Избирательность приемника и стабильность установки частоты 5.8 Автоматический выбор частоты радиомаяка 5.9 Защитные соотношения 6 Методы испытаний и требуемые результаты 6.1 Общие условия измерений и определения 6.2 Проверка эксплуатационных характеристик ДНАП ГНСС 6.3 Защита 6.4 Целостность 6.5 Проверка технических характеристик Приложение А (справочное) Имитация помеховой обстановки при испытаниях ДНАП Приложение Б (обязательное) Методика измерения ошибки слов WER Приложение В (справочное) Испытания приемника поправок совмещенного с НАП ГЛОНАСС/GPS Приложение Г (справочное) Руководство по установке ПКИ для устранения влияния помех Приложение Д (справочное) Алгоритм работы ДНАП Приложение Е (справочное) Руководство по интерфейсу данных Библиография |
| Разработан: | ФГУП НТЦ Интернавигация ЗАО ЦНИИМФ |
| Утверждён: | 21.12.2010 Федеральное агентство по техническому регулированию и метрологии (811-ст) |
| Издан: | Стандартинформ (2011 г. ) |
| Нормативные ссылки: |
|






























