Скачать ТУ 34-38-20310-96 Насосы центробежные многоступенчатые секционные ЦНС 180-85…425. Технические условия на ремонт

Дата актуализации: 01.01.2021

ТУ 34-38-20310-96

Насосы центробежные многоступенчатые секционные ЦНС 180-85…425. Технические условия на ремонт

Обозначение: ТУ 34-38-20310-96
Обозначение англ: TU 34-38-20310-96
Статус:действует
Название рус.:Насосы центробежные многоступенчатые секционные ЦНС 180-85…425. Технические условия на ремонт
Дата добавления в базу:01.09.2013
Дата актуализации:01.01.2021
Дата введения:01.01.1997
Область применения:Технические условия (ТУ) распространяются на ремонт насосов центробежных многоступенчатых секционного типа ЦНС 180—85…425 с числом ступеней от 2 до 10 в течение полного срока службы.
Оглавление:1. Введение
2. Общие технические требования
3. Требования к составным частям
   3.1. Ротор (карты 1-7)
      Вал
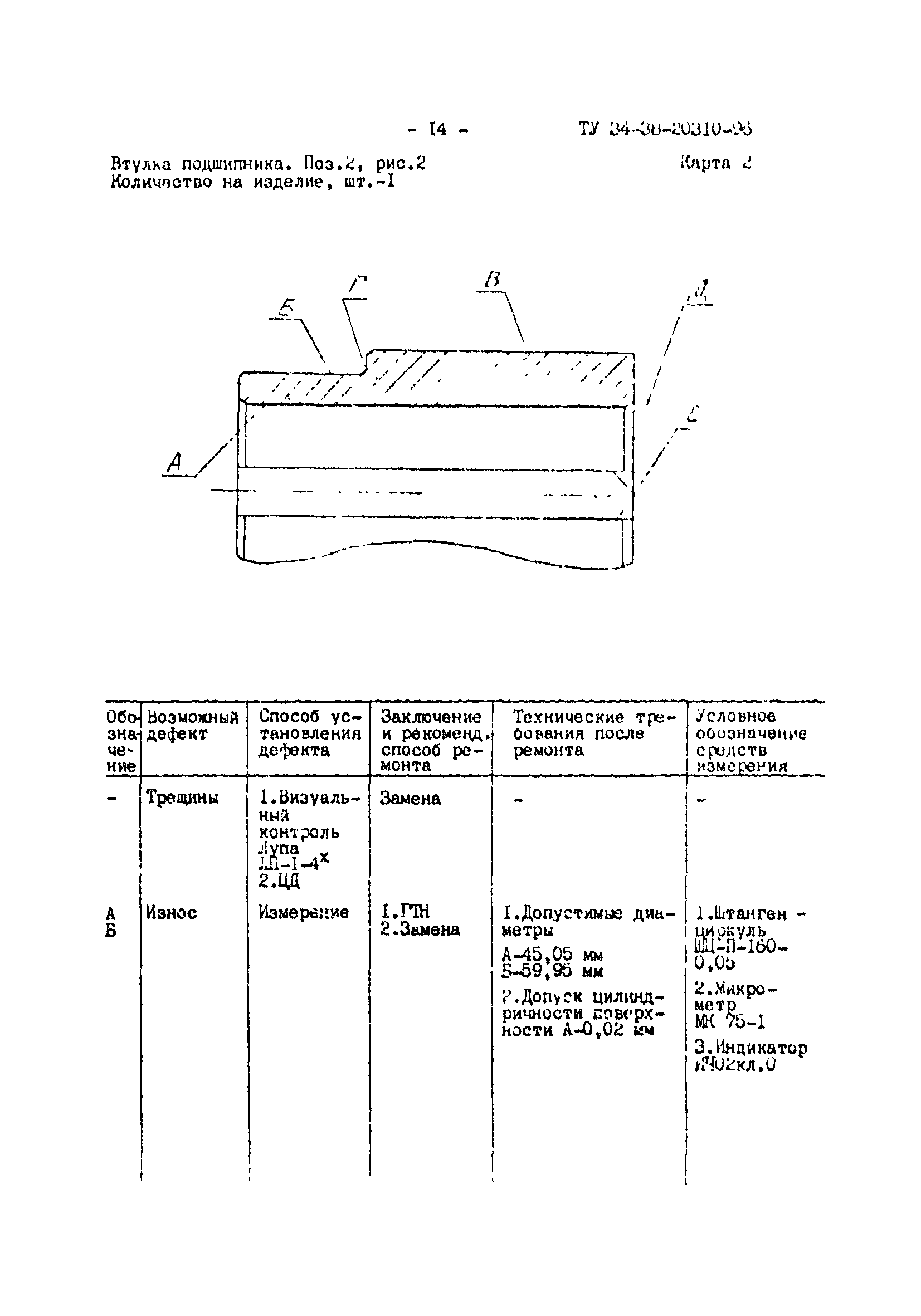
      Втулка подшипника
      Гайка ротора
      Диск с кольцом разгрузки в сборе
      Втулка дистанционная
      Колесо рабочее
      Рубашка вала
   3.2. Корпус (карты 8-19)
   Кронштейн задний
   Втулка сальника
   Втулка разгрузки
   Крышка нагнетания
   Аппарат направляющий при выдаче
   Кольцо уплотняющее
   Аппарат направляющий
   Кольцо уплотняющее
   Корпус направляющего аппарата
   Крышка всасывания
   Втулка гидрозатвора
   Кронштейн передний
   3.3 Муфта (карты 20-21)
      Полумуфта насоса
      Полумуфта электродвигателя
4. Требования к сборке и отремонтированным насосам
5. Испытания, контроль, измерения
6. Консервация
7. Маркировка
8. Упаковка, транспортирование и хранение
9. Комплектность
10. Гарантии
Приложение 1. Техническая характеристика насосов
Приложение 2. Материалы основных составных частей и материалы-заменители
Приложение 3. Перечень деталей, подлежащих замене, независимо от их технического состояния
Приложение 4. Перечень средств измерений, упомянутых в ТУ
Приложение 5. Перечень документов, упомянутых в ТУ
Лист регистрации изменений
Разработан: АООТ ЦКБ Энергоремонт
Утверждён: РАО ЕЭС России (UES of Russia RAO )
Принят: Главтехуправление
ПО Союзтехэнерго
Союзэнергоремтрест
Ясногорский машиностроительный завод
Заменяет собой:
  • ТУ 34-38-20310-85
Нормативные ссылки:
ТУ 34-38-20310-96ТУ 34-38-20310-96ТУ 34-38-20310-96ТУ 34-38-20310-96ТУ 34-38-20310-96ТУ 34-38-20310-96ТУ 34-38-20310-96ТУ 34-38-20310-96ТУ 34-38-20310-96ТУ 34-38-20310-96ТУ 34-38-20310-96ТУ 34-38-20310-96ТУ 34-38-20310-96ТУ 34-38-20310-96ТУ 34-38-20310-96ТУ 34-38-20310-96ТУ 34-38-20310-96ТУ 34-38-20310-96ТУ 34-38-20310-96ТУ 34-38-20310-96ТУ 34-38-20310-96ТУ 34-38-20310-96ТУ 34-38-20310-96ТУ 34-38-20310-96ТУ 34-38-20310-96ТУ 34-38-20310-96ТУ 34-38-20310-96ТУ 34-38-20310-96ТУ 34-38-20310-96ТУ 34-38-20310-96ТУ 34-38-20310-96ТУ 34-38-20310-96ТУ 34-38-20310-96ТУ 34-38-20310-96ТУ 34-38-20310-96ТУ 34-38-20310-96ТУ 34-38-20310-96ТУ 34-38-20310-96ТУ 34-38-20310-96ТУ 34-38-20310-96ТУ 34-38-20310-96ТУ 34-38-20310-96ТУ 34-38-20310-96ТУ 34-38-20310-96ТУ 34-38-20310-96ТУ 34-38-20310-96ТУ 34-38-20310-96ТУ 34-38-20310-96ТУ 34-38-20310-96ТУ 34-38-20310-96ТУ 34-38-20310-96ТУ 34-38-20310-96ТУ 34-38-20310-96ТУ 34-38-20310-96ТУ 34-38-20310-96ТУ 34-38-20310-96ТУ 34-38-20310-96ТУ 34-38-20310-96ТУ 34-38-20310-96ТУ 34-38-20310-96ТУ 34-38-20310-96ТУ 34-38-20310-96ТУ 34-38-20310-96ТУ 34-38-20310-96ТУ 34-38-20310-96ТУ 34-38-20310-96ТУ 34-38-20310-96ТУ 34-38-20310-96ТУ 34-38-20310-96ТУ 34-38-20310-96ТУ 34-38-20310-96ТУ 34-38-20310-96ТУ 34-38-20310-96ТУ 34-38-20310-96ТУ 34-38-20310-96ТУ 34-38-20310-96ТУ 34-38-20310-96ТУ 34-38-20310-96